LEMON Manuals: Even more car manuals for everyone: 1960-2025
Home >> Lexus >> 2012 >> RX 350 AWD V6-3.5L (2GR-FE) >> Repair and Diagnosis >> Powertrain Management >> Computers and Control Systems >> Information Bus >> Testing and Inspection >> Component Tests and General Diagnostics >> Open In CAN Main Bus Line
April 5, 2026: LEMON Manuals is launched! Read the announcement.

Open In CAN Main Bus Line





NETWORKING: CAN COMMUNICATION SYSTEM: Open in CAN Main Bus Line
- Open in CAN Main Bus Line

DESCRIPTION

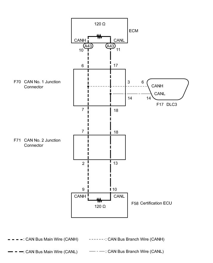
There may be an open circuit in the CAN bus main wire and/or the DLC3 branch wire when the resistance between terminals 6 (CANH) and 14 (CANL) of the DLC3 is 70 Ohms or higher.





WIRING DIAGRAM





INSPECTION PROCEDURE

NOTICE:
* Turn the engine switch off before measuring the resistances between CAN bus main wires and between CAN bus branch wires.
* Turn the engine switch off before inspecting CAN bus wires for a ground short.
* After the engine switch is turned off, check that the key reminder warning system and light reminder warning system are not operating.
* Before measuring the resistance, leave the vehicle as is for at least 1minute and do not operate the engine switch, any other switches or the doors. If any doors need to be opened in order to check connectors, open the doors and leave them open.

HINT
* Operating the engine switch, any other switches or a door triggers related ECU and sensor communication on the CAN. This communication will cause the resistance value to change.
* Even after DTCs are cleared, if a DTC is stored again after driving the vehicle for a while, the malfunction may be occurring due to vibration of the vehicle. In such a case, wiggling the ECUs or wire harness while performing the inspection below may help determine the cause of the malfunction.

PROCEDURE

1. CHECK FOR OPEN IN CAN BUS WIRE (DLC3 BRANCH WIRE)

(a) Turn the engine switch off.

(b) Measure the resistance according to the value(s) in the table below.





Standard Resistance:





Text in Illustration





NOTICE:
When the measured value is 133 Ohms or higher and a CAN communication system DTC is output, there may be a fault besides disconnection of the DLC3 branch wire. For that reason, troubleshooting should be performed again from How to Proceed with Troubleshooting after repairing the trouble area How to Proceed With Troubleshooting.

NG -- REPAIR OR REPLACE CAN BRANCH WIRE CONNECTED TO DLC3
OK -- Continue to next step.

2. CHECK FOR OPEN IN CAN BUS WIRE (ECM)

(a) Disconnect the ECM connector.





Text in Illustration





(b) Measure the resistance according to the value(s) in the table below.

Standard Resistance:





NG -- CHECK FOR OPEN IN CAN BUS WIRE (CERTIFICATION ECU)

OK -- REPLACE ECM Removal

3. CHECK FOR OPEN IN CAN BUS WIRE (CERTIFICATION ECU)

(a) Reconnect the ECM connector.

(b) Disconnect the certification ECU connector.





Text in Illustration





(c) Measure the resistance according to the value(s) in the table below.

Standard Resistance:





NG -- CHECK FOR OPEN IN CAN BUS WIRE (CAN NO. 1 J/C)

OK -- REPLACE CERTIFICATION ECU

4. CHECK FOR OPEN IN CAN BUS WIRE (CAN NO. 1 J/C)

(a) Disconnect the CAN No. 1 junction connector.





Text in Illustration





(b) Measure the resistance according to the value(s) in the table below.

Standard Resistance:





NG -- REPAIR OR REPLACE CAN BUS MAIN WIRE OR CONNECTOR (CAN NO. 1 J/C - ECM)
OK -- Continue to next step.

5. CHECK FOR OPEN IN CAN BUS WIRE (CAN NO. 1 J/C - CAN NO. 2 J/C)

(a) Reconnect the certification ECU connector.

(b) Measure the resistance according to the value(s) in the table below.





Standard Resistance:





Text in Illustration





NG -- CHECK FOR OPEN IN CAN BUS WIRE (CAN NO. 2 J/C)

OK -- REPLACE CAN NO. 1 JUNCTION CONNECTOR

6. CHECK FOR OPEN IN CAN BUS WIRE (CAN NO. 2 J/C)

(a) Reconnect the CAN No. 1 junction connector.

(b) Disconnect the CAN No. 2 junction connector.





(c) Measure the resistance according to the value(s) in the table below.

Standard Resistance:





Text in Illustration





Result:





B -- REPAIR OR REPLACE CAN BUS MAIN WIRE OR CONNECTOR (CAN NO. 2 J/C - CERTIFICATION ECU)

C -- REPAIR OR REPLACE CAN BUS MAIN WIRE OR CONNECTOR (CAN NO. 1 J/C - CAN NO. 2 J/C)

A -- REPLACE CAN NO. 2 JUNCTION CONNECTOR