LEMON Manuals: Even more car manuals for everyone: 1960-2025
Home >> Lexus >> 2012 >> RX 350 AWD V6-3.5L (2GR-FE) >> Repair and Diagnosis >> Powertrain Management >> Computers and Control Systems >> Information Bus >> Testing and Inspection >> Component Tests and General Diagnostics >> Steering Angle Sensor Communication Stop Mode
April 5, 2026: LEMON Manuals is launched! Read the announcement.

Steering Angle Sensor Communication Stop Mode





NETWORKING: CAN COMMUNICATION SYSTEM: Steering Angle Sensor Communication Stop Mode
- Steering Angle Sensor Communication Stop Mode

DESCRIPTION





WIRING DIAGRAM





INSPECTION PROCEDURE

NOTICE:
* Turn the engine switch off before measuring the resistances between CAN bus main wires and between CAN bus branch wires.
* Turn the engine switch off before inspecting CAN bus wires for a ground short.
* After the engine switch is turned off, check that the key reminder warning system and light reminder warning system are not operating.
* Before measuring the resistance, leave the vehicle as is for at least 1minute and do not operate the engine switch, any other switches or the doors. If any doors need to be opened in order to check connectors, open the doors and leave them open.

HINT
* Operating the engine switch, any other switches or a door triggers related ECU and sensor communication on the CAN. This communication will cause the resistance value to change.
* Even after DTCs are cleared, if a DTC is stored again after driving the vehicle for a while, the malfunction may be occurring due to vibration of the vehicle. In such a case, wiggling the ECUs or wire harness while performing the inspection below may help determine the cause of the malfunction.

PROCEDURE

1. CHECK CAN BUS WIRE FOR DISCONNECTION (STEERING ANGLE SENSOR BRANCH WIRE)

(a) Turn the engine switch off.

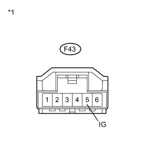
(b) Disconnect the steering angle sensor connector.





Text in Illustration





(c) Measure the resistance according to the value(s) in the table below.

Standard Resistance:





NG -- REPAIR OR REPLACE CAN BUS BRANCH WIRE OR CONNECTOR (STEERING ANGLE SENSOR BRANCH WIRE)
OK -- Continue to next step.

2. CHECK HARNESS AND CONNECTOR (POWER SOURCE TERMINAL)

(a) Turn the engine switch on (IG).

(b) Measure the voltage according to the value(s) in the table below.





Standard Voltage:





Text in Illustration





NG -- REPAIR OR REPLACE HARNESS OR CONNECTOR (POWER SOURCE CIRCUIT)
OK -- Continue to next step.

3. CHECK HARNESS AND CONNECTOR (GROUND TERMINAL)

(a) Turn the engine switch off.

(b) Measure the resistance according to the value(s) in the table below.





Standard Resistance:





Text in Illustration





NG -- REPAIR OR REPLACE HARNESS OR CONNECTOR (GROUND CIRCUIT)

OK -- REPLACE SPIRAL CABLE W/ STEERING ANGLE SENSOR SUB-ASSEMBLY Removal