LEMON Manuals: Even more car manuals for everyone: 1960-2025
Home >> Lexus >> 2012 >> RX 350 AWD >> Repair and Diagnosis >> Transmission >> Transfer Case >> Transfer Case (Service Information) >> Transfer Assembly >> Reassembly >> Reassembly
April 5, 2026: LEMON Manuals is launched! Read the announcement.

Transfer Assembly: Reassembly: Reassembly

  1. INSTALL TRANSFER DRIVEN PINION REAR BEARING 
    1. Using SST and a press, press the driven pinion rear bearing (outer race) into the case.
      Fig 1: Pressing Driven Pinion Rear Bearing (Outer Race) Into Case Using SST
      GTY224548Courtesy of © TOYOTA, LICENSE AGREEMENT TMS1002
      • SST: 09950-60010 
        • 09951-00620
      • SST: 09950-70010 
        • 09951-07150
      NOTE:

      Keep the transfer case horizontal using wooden blocks, etc.

    2. Apply gear oil to the driven pinion rear bearing (outer race).
  2. INSTALL TRANSFER OUTPUT SHAFT WASHER 
    1. Install the transfer output shaft washer to the transfer case.

      HINT: 

      Install the same washer as the one removed.

    2. Apply gear oil to the transfer output shaft washer.
  3. INSTALL TRANSFER DRIVEN PINION FRONT BEARING 
    1. Apply gear oil to the inner surface of the transfer case.
      Fig 2: Applying Gear Oil To Inner Surface Of Transfer Case
      GTY248988Courtesy of © TOYOTA, LICENSE AGREEMENT TMS1002
      TEXT IN ILLUSTRATION

      *1 Turn
      *2 Hold
    2. Using SST, install the transfer driven pinion front bearing (outer race) to the transfer case.
      • SST: 09950-60010 
        • 09951-00610
        • 09951-00620
        • 09951-00650
      • SST: 09950-60020 
        • 09951-00680
    3. Using SST and a press, press the driven pinion front bearing (inner race) into the driven pinion.
      Fig 3: Pressing Driven Pinion Front Bearing (Inner Race)
      GTY244337Courtesy of © TOYOTA, LICENSE AGREEMENT TMS1002
      • SST: 09506-30012 
  4. INSTALL DRIVEN PINION 
    1. Install the driven pinion to the transfer case.
      Fig 4: Installing Transfer Driven Pinion
      GTY242637Courtesy of © TOYOTA, LICENSE AGREEMENT TMS1002
    2. Install a new transfer pinion bearing spacer and driven pinion rear bearing (inner race) to the driven pinion.
      Fig 5: View Of Transfer Pinion Bearing Spacer And Driven Pinion Rear Bearing (Inner Race)
      GTY242667Courtesy of © TOYOTA, LICENSE AGREEMENT TMS1002

      HINT: 

      Install the pinion bearing spacer with the larger inner diameter facing forward as shown in the illustration.

    3. Using SST, install a new gear nut.
      Fig 6: Installing Transfer Gear Nut Using SST & Torque Wrench
      GTY221456Courtesy of © TOYOTA, LICENSE AGREEMENT TMS1002
      • SST: 09326-20011 
      • SST: 09556-16030 

      Reference without SST 

      Torque: 270 to 420 N*m (2754 to 4282 kgf*cm, 199 to 308 ft.*lbf) 

      Reference with SST 

      Torque: 255 to 396 N*m (2601 to 4038 kgf*cm, 188 to 291 ft.*lbf) 

      NOTE:
      • The "with SST" torque value is effective when using SST with a fulcrum length of 50 mm (1.97 in.).
      • The "with SST" torque value is effective when using a torque wrench with a fulcrum length of 840 mm (2.8 ft.). Refer to PRECAUTION .
      • The "with SST" torque value is effective when SST is parallel to the torque wrench.
      • Do not stake the nut until the final preload, tooth contact and backlash adjustments are completed.
  5. ADJUST DRIVEN PINION PRELOAD 
    1. Using SST and a torque wrench, measure the driven pinion preload.
      Fig 7: Measuring Total Preload Using SST & Torque Wrench
      GTY222410Courtesy of © TOYOTA, LICENSE AGREEMENT TMS1002
      • SST: 09326-20011 

      Preload (at Starting)

      Item Preload
      New bearing (without SST) 0.7 to 1.4 N*m (7 to 15 kgf*cm, 6 to 13 in.*lbf)
      New bearing (with SST) 0.5 to 1.0 N*m (5 to 10 kgf*cm, 5 to 9 in.*lbf)
      Reused bearing (without SST) 0.5 to 0.9 N*m (5 to 9 kgf*cm, 4 to 8 in.*lbf)
      Reused bearing (with SST) 0.3 to 0.6 N*m (3 to 6 kgf*cm, 3 to 6 in.*lbf)
      NOTE:
      • The "with SST" torque value is effective when using SST with a fulcrum length of 50 mm (1.97 in.).
      • The "with SST" torque value is effective when using a torque wrench with a fulcrum length of 130 mm (5.12 in.). Refer to PRECAUTION .
      • The "with SST" torque value is effective when SST is parallel to the torque wrench.
      • If the preload is more than the specification, replace the pinion bearing spacer with a new one.
      • If the preload is not sufficient, adjust the driven pinion by tightening the lock nut 5° to 10° and measuring the preload until the preload is within the specification.
      • Even if the tightening torque of the gear nut exceeds the specified torque, if the preload is insufficient, loosen the gear nut once and apply rust preventive oil or hypoid gear oil to the gear nut and to the screw or bearing surface of the driven pinion. Then perform the procedure again. If the tightening torque is less than the specified torque, replace the pinion bearing spacer with a new one and adjust it.
      • Do not loosen the gear nut to reduce the preload.
  6. INSTALL RING GEAR 
    1. Clean the contact surface of the ring gear and transfer ring gear mounting case.
      Fig 8: Heating Ring Gear In Boiling Water
      GTY217900Courtesy of © TOYOTA, LICENSE AGREEMENT TMS1002
    2. Heat the ring gear in boiling water.
    3. Carefully remove the ring gear from the boiling water.
    4. After the moisture on the ring gear has completely evaporated, quickly align the matchmarks and set the ring gear onto the transfer ring gear mounting case.
      Fig 9: Putting Matchmarks On Transfer Ring Gear Mounting Case And Ring Gear
      GTY273105Courtesy of © TOYOTA, LICENSE AGREEMENT TMS1002
      TEXT IN ILLUSTRATION

      *1 Matchmark
    5. Apply adhesive to the 12 bolts.

      Sealant

      Toyota Genuine Adhesive 1324, Three Bond 1324 or equivalent

    6. Install the 12 bolts.

      Torque: 99 N*m (1005 kgf*cm, 72 ft.*lbf) 

      NOTE:
      • Tighten the bolts evenly in a diagonal pattern using several steps.
      • Tighten the bolts after the ring gear has cooled down sufficiently.
      • In order to ensure proper sealing of the bolts, apply adhesive to the bolts and install them within 10 minutes of adhesive application.
  7. INSTALL RING GEAR MOUNTING CASE BEARING 
    1. Using SST and a press, press the ring gear mounting case bearing (inner race) RH into the transfer ring gear mounting case.
      Fig 10: Pressing Ring Gear Mounting Case Bearing (Inner Race) RH Into Transfer Ring Gear Mounting Case Using SST & Press
      GTY242758Courtesy of © TOYOTA, LICENSE AGREEMENT TMS1002
      • SST: 09950-60010 
        • 09951-00420
    2. Install the ring gear mounting case bearing (outer race) RH to the transfer ring gear mounting case.
    3. Apply gear oil to the ring gear mounting case bearing RH.
    4. Using SST and a press, press the ring gear mounting case bearing (inner race) LH into the transfer ring gear mounting case.
      Fig 11: Pressing Ring Gear Mounting Case Bearing Inner Race Using SST
      GTY230945Courtesy of © TOYOTA, LICENSE AGREEMENT TMS1002
      • SST: 09223-00010 
      • SST: 09726-40010 
    5. Install the ring gear mounting case plate washer to the case.

      HINT: 

      Use a new washer with the same thickness as the one removed when installing the bearing.

    6. Using SST and a press, press the ring gear mounting case bearing (outer race) LH into the transfer case.
      Fig 12: Installing Ring Gear Mounting Case Bearing Using SST
      GTY242759Courtesy of © TOYOTA, LICENSE AGREEMENT TMS1002
      • SST: 09950-60010 
        • 09951-00620
      • SST: 09950-70010 
        • 09951-07200
    7. Apply gear oil to the ring gear mounting case bearing.
  8. INSTALL TRANSFER RING GEAR MOUNTING CASE 
    1. Apply gear oil to the transfer ring gear mounting case.
      Fig 13: Remove/Install Transfer Ring Gear Mounting Case
      GTY242636Courtesy of © TOYOTA, LICENSE AGREEMENT TMS1002
    2. Install the transfer ring gear mounting case to the transfer case.
  9. INSTALL NO. 1 TRANSFER OUTPUT SHAFT SPACER 
    1. Align the cutout on the No. 1 transfer output shaft spacer with the transfer case hole to install it as shown in the illustration.
      Fig 14: Aligning Cutout On No. 1 Transfer Output Shaft Spacer With Transfer Case Hole
      GTY244700Courtesy of © TOYOTA, LICENSE AGREEMENT TMS1002
  10. INSTALL NO. 2 TRANSFER RING GEAR MOUNTING CASE WASHER 
    1. Using a brass bar and a hammer, install the No. 2 transfer ring gear mounting case washer.
      Fig 15: Installing No. 2 Transfer Ring Gear Mounting Case Washer
      GTY242642Courtesy of © TOYOTA, LICENSE AGREEMENT TMS1002

      HINT: 

      Use the No. 2 washer with the same thickness as the one removed.

  11. INSTALL BEARING CAP 
    1. Install the bearing cap with the 2 bolts.
      Fig 16: Remove/Install Bearing Cap Bolts
      GTY214833Courtesy of © TOYOTA, LICENSE AGREEMENT TMS1002

      Torque: 63 N*m (644 kgf*cm, 47 ft.*lbf) 

  12. INSPECT RING GEAR BACKLASH 
    1. Set a dial indicator perpendicular to a ring gear tooth tip. Secure the driven pinion in place and move the ring gear back and forth to measure the backlash.
      Fig 17: Inspecting Ring Gear Backlash Using Dial Indicator
      GTY226404Courtesy of © TOYOTA, LICENSE AGREEMENT TMS1002

      Backlash

      0.14 to 0.25 mm (0.00551 to 0.00984 in.)

      NOTE:

      Check at least 3 positions on the circumference of the ring gear.

    2. If the backlash is outside the specified range, select a ring gear mounting case bearing LH side washer from the table below and install it to meet the specified range.
      Fig 18: Identifying Ring Gear Mounting Case Washer
      GTY252474Courtesy of © TOYOTA, LICENSE AGREEMENT TMS1002
      TEXT IN ILLUSTRATION

      *1 Ring Gear Mounting Case Plate Washer
      WASHER THICKNESS

      Mark Thickness mm (in.) Mark Thickness mm (in.)
      5Q 1.95 (0.0768) 7N 2.67 (0.105)
      5R 1.97 (0.0776) 7P 2.69 (0.10591)
      5S 1.99 (0.0783) 7Q 2.71 (0.106)
      5T 2.01 (0.0791) 7R 2.73 (0.107)
      5U 2.03 (0.0799) 7S 2.75 (0.108)
      5V 2.05 (0.0807) 7T 2.77 (0.10905)
      5W 2.07 (0.0815) 7U 2.79 (0.10984)
      5X 2.09 (0.0823) 7V 2.81 (0.11063)
      5Y 2.11 (0.0831) 7W 2.83 (0.11142)
      5Z 2.13 (0.0839) 7X 2.85 (0.11220)
      6F 2.15 (0.0846) 7Y 2.87 (0.11299)
      6G 2.17 (0.0854) 7Z 2.89 (0.11378)
      6H 2.19 (0.0862) 8F 2.91 (0.11457)
      6J 2.21 (0.0870) 8G 2.93 (0.115)
      6K 2.23 (0.0878) 8H 2.95 (0.11614)
      6L 2.25 (0.0886) 8J 2.97 (0.11693)
      6M 2.27 (0.0894) 8K 2.99 (0.11771)
      6N 2.29 (0.0902) 8L 3.01 (0.11850)
      6P 2.31 (0.0909) 8M 3.03 (0.11929)
      6Q 2.33 (0.0917) 8N 3.05 (0.12008)
      6R 2.35 (0.0925) 8P 3.07 (0.12087)
      6S 2.37 (0.0933) 8Q 3.09 (0.12165)
      6T 2.39 (0.0941) 8R 3.11 (0.12244)
      6U 2.41 (0.0949) 8S 3.13 (0.123)
      6V 2.43 (0.0957) 8T 3.15 (0.12402)
      6W 2.45 (0.0965) 8U 3.17 (0.12480)
      6X 2.47 (0.0972) 8V 3.19 (0.12559)
      6Y 2.49 (0.0980) 8W 3.21 (0.12638)
      6Z 2.51 (0.0988) 8X 3.23 (0.12717)
      7F 2.53 (0.0996) 8Y 3.25 (0.12795)
      7G 2.55 (0.100) 8Z 3.27 (0.12874)
      7H 2.57 (0.10118) 9D 3.29 (0.12953)
      7J 2.59 (0.10197) 9E 3.31 (0.13031)
      7K 2.61 (0.10276) 9F 3.33 (0.131)
      7L 2.63 (0.10354) 9G 3.35 (0.132)
      7M 2.65 (0.10433) 9H 3.37 (0.133)
  13. INSPECT TOOTH CONTACT BETWEEN RING GEAR AND DRIVEN PINION 
    1. Coat 3 or 4 teeth at 4 different positions on the ring gear with Prussian blue.
      Fig 19: Applying Prussian Blue To Ring Gear Teeth
      GTY216211Courtesy of © TOYOTA, LICENSE AGREEMENT TMS1002
    2. Rotate the ring gear 10 times or more.
    3. Rotate the ring gear to inspect the tooth contact pattern.
      Fig 20: Tooth Contact Pattern Chart
      GTY248931Courtesy of © TOYOTA, LICENSE AGREEMENT TMS1002
    4. If the tooth contact pattern is not correct, select a new transfer output shaft washer that is thicker or thinner as necessary and recheck.
      Fig 21: Identifying Transfer Output Shaft Washer
      GTY252475Courtesy of © TOYOTA, LICENSE AGREEMENT TMS1002
      TEXT IN ILLUSTRATION

      *1 Transfer Output Shaft Washer
      WASHER THICKNESS

      Mark Thickness mm (in.) Mark Thickness mm (in.)
      ZA 2.00 (0.0787) KB 2.38 (0.0937)
      ZB 2.02 (0.0795) LA 2.40 (0.0945)
      ZC 2.04 (0.0803) LC 2.42 (0.0953)
      ZD 2.06 (0.0811) MB 2.44 (0.0961)
      ZE 2.08 (0.0819) NA 2.46 (0.0969)
      AA 2.10 (0.0827) NC 2.48 (0.0976)
      AC 2.12 (0.0835) PB 2.50 (0.0984)
      BB 2.14 (0.0843) QA 2.52 (0.0992)
      CA 2.16 (0.0850) QC 2.54 (0.100)
      CC 2.18 (0.0858) RA 2.56 (0.10079)
      DB 2.20 (0.0866) RB 2.58 (0.10157)
      EA 2.22 (0.0874) RC 2.60 (0.10236)
      EC 2.24 (0.0882) SA 2.62 (0.10315)
      FB 2.26 (0.0890) SB 2.64 (0.10394)
      GA 2.28 (0.0898) SC 2.66 (0.10472)
      GC 2.30 (0.0906) TA 2.68 (0.10551)
      HB 2.32 (0.0913) TB 2.70 (0.10630)
      JA 2.34 (0.0921) TC 2.72 (0.107)
      JC 2.36 (0.0929) - -
      NOTE:

      When the washer thickness is changed, readjust the backlash See step  2.

  14. INSPECT AND ADJUST TOTAL PRELOAD 
    1. Using SST and a torque wrench, measure the total preload.
      Fig 22: Measuring Total Preload Using SST & Torque Wrench
      GTY222410Courtesy of © TOYOTA, LICENSE AGREEMENT TMS1002
      • SST: 09326-20011 

      Total Preload (at Starting)

      Item Preload
      New bearing (without SST) 0.5 to 0.7 N*m (5 to 7 kgf*cm, 5 to 6 in.*lbf) + Driven pinion preload
      New bearing (with SST) 0.4 to 0.5 N*m (4 to 5 kgf*cm, 3 to 4 in.*lbf) + Driven pinion preload
      Reused bearing (without SST) 0.4 to 0.5 N*m (4 to 5 kgf*cm, 3 to 4 in.*lbf) + driven pinion preload
      Reused bearing (with SST) 0.25 to 0.38 N*m (2.6 to 3.8 kgf*cm, 2.3 to 3.3 in.*lbf) + driven pinion preload
      NOTE:
      • The "with SST" torque value is effective when using SST with a fulcrum length of 50 mm (1.97 in.).
      • The "with SST" torque value is effective when using a torque wrench with a fulcrum length of 130 mm (5.12 in.). Refer to PRECAUTION .
      • The "with SST" torque value is effective when SST is parallel to the torque wrench.
      • Turn the driven pinion counterclockwise and clockwise several times.

      If the preload is outside the specified range, replace the No. 2 transfer ring gear mounting case washer with one that is thicker or thinner as necessary and recheck.

      Fig 23: Identifying No. 2 Transfer Ring Gear Mounting Case Washer
      GTY252476Courtesy of © TOYOTA, LICENSE AGREEMENT TMS1002
      TEXT IN ILLUSTRATION

      *1 No. 2 Transfer Ring Gear Mounting Case Washer
      WASHER THICKNESS

      Mark Thickness mm (in.) Mark Thickness mm (in.)
      G7 2.47 (0.0972) M7 3.47 (0.1366)
      G8 2.49 (0.0980) M8 3.49 (0.137)
      G9 2.51 (0.0988) M9 3.51 (0.138)
      H0 2.53 (0.0996) N0 3.53 (0.139)
      H1 2.55 (0.100) N1 3.55 (0.140)
      H2 2.57 (0.101) N2 3.57 (0.141)
      H3 2.59 (0.102) N3 3.59 (0.1413)
      H4 2.61 (0.103) N4 3.61 (0.142)
      H5 2.63 (0.104) N5 3.63 (0.143)
      H6 2.65 (0.1043) N6 3.65 (0.144)
      H7 2.67 (0.105) N7 3.67 (0.1444)
      H8 2.69 (0.106) N8 3.69 (0.145)
      H9 2.71 (0.107) N9 3.71 (0.146)
      J0 2.73 (0.1074) P0 3.73 (0.147)
      J1 2.75 (0.108) P1 3.75 (0.148)
      J2 2.77 (0.109) P2 3.77 (0.1484)
      J3 2.79 (0.110) P3 3.79 (0.149)
      J4 2.81 (0.1106) P4 3.81 (0.150)
      J5 2.83 (0.111) P5 3.83 (0.151)
      J6 2.85 (0.112) P6 3.85 (0.152)
      J7 2.87 (0.113) P7 3.87 (0.1523)
      J8 2.89 (0.114) P8 3.89 (0.153)
      J9 2.91 (0.115) P9 3.91 (0.154)
      K0 2.93 (0.1153) Q0 3.93 (0.155)
      K1 2.95 (0.116) Q1 3.95 (0.156)
      K2 2.97 (0.117) Q2 3.97 (0.1563)
      K3 2.99 (0.118) Q3 3.99 (0.157)
      K4 3.01 (0.119) Q4 4.01 (0.158)
      K5 3.03 (0.1193) Q5 4.03 (0.159)
      K6 3.05 (0.120) Q6 4.05 (0.160)
      K7 3.07 (0.121) Q7 4.07 (0.1602)
      K8 3.09 (0.122) Q8 4.09 (0.161)
      K9 3.11 (0.1224) Q9 4.11 (0.162)
      L0 3.13 (0.123) R0 4.13 (0.163)
      L1 3.15 (0.124) R1 4.15 (0.1634)
      L2 3.17 (0.125) R2 4.17 (0.164)
      L3 3.19 (0.126) R3 4.19 (0.165)
      L4 3.21 (0.1264) R4 4.21 (0.166)
      L5 3.23 (0.127) R5 4.23 (0.167)
      L6 3.25 (0.128) R6 4.25 (0.1673)
      L7 3.27 (0.129) R7 4.27 (0.168)
      L8 3.29 (0.130) R8 4.29 (0.169)
      L9 3.31 (0.1303) R9 4.31 (0.170)
      M0 3.33 (0.131) S0 4.33 (0.1705)
      M1 3.35 (0.132) S1 4.35 (0.171)
      M2 3.37 (0.133) S2 4.37 (0.172)
      M3 3.39 (0.1335) S3 4.39 (0.173)
      M4 3.41 (0.134) S4 4.14 (0.174)
      M5 3.43 (0.135) S5 4.43 (0.1744)
      M6 3.45 (0.136) S6 4.45 (0.175)
    2. Using a chisel and a hammer, stake the gear nut.
      Fig 24: Staking Transfer Gear Nut Using A Chisel & Hammer
      GTY226643Courtesy of © TOYOTA, LICENSE AGREEMENT TMS1002
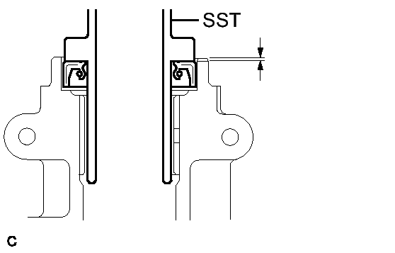
  15. INSTALL TRANSFER CASE FRONT OIL SEAL (for RH Side) 
    1. Using SST and a hammer, drive a new transfer case front oil seal into the case until it reaches the position shown in the illustration.
      Fig 25: Installing Transfer Case Front Oil Seal Using SST
      GTY292114Courtesy of © TOYOTA, LICENSE AGREEMENT TMS1002
      • SST: 09950-60010 
        • 09951-00350
        • 09951-00580
        • 09952-06010
      • SST: 09950-70010 
        • 09951-07150

      Drive in depth

      33.5 to 34.5 mm (1.32 to 1.36 in.)

      NOTE:

      Make sure that the oil seal is not tilted.

    2. Apply a small amount of MP grease to the lip of the transfer case front oil seal.
  16. INSTALL TRANSFER CASE FRONT OIL SEAL 
    1. Using SST and a hammer, drive a new transfer case front oil seal into the transfer case until it reaches the position shown in the illustration.
      Fig 26: Installing Transfer Case Front Oil Seal Into Transfer Case Using SST
      GTY245532Courtesy of © TOYOTA, LICENSE AGREEMENT TMS1002
      • SST: 09608-10010 
      • SST: 09950-70010 
        • 09951-07150

      Drive in depth

      9.5 to 10.5 mm (0.374 to 0.413 in.)

    2. Apply a small amount of MP grease to the lip of the transfer case front oil seal.
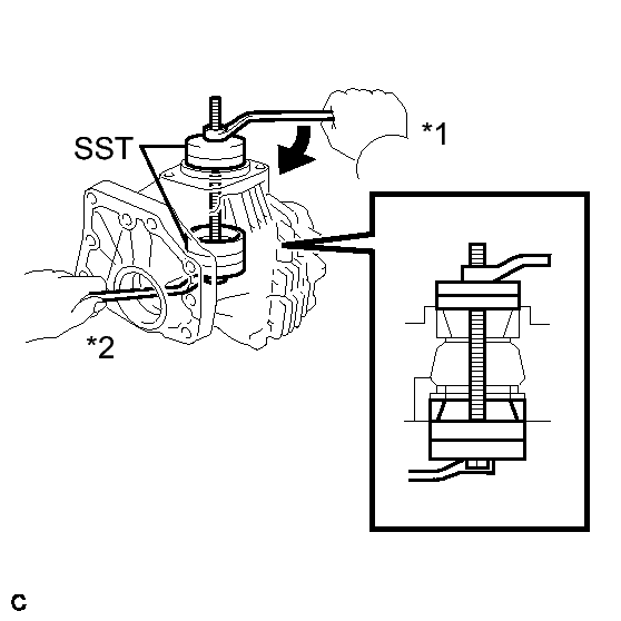
  17. INSTALL TRANSFER CASE REAR OIL SEAL 
    1. Using SST and a hammer, drive a new transfer case rear oil seal into the extension housing until it reaches the position shown in the illustration.
      Fig 27: Installing Transfer Case Rear Oil Seal Into Extension Housing Using SST
      GTY252477Courtesy of © TOYOTA, LICENSE AGREEMENT TMS1002
      • SST: 09325-20010 

      Drive in depth

      1.1 to 1.9 mm (0.0433 to 0.0748 in.)

    2. Apply a small amount of MP grease to the lip of the transfer case rear oil seal.
  18. INSTALL TRANSFER EXTENSION HOUSING DUST DEFLECTOR 
    1. Using SST and a press, press in the extension housing dust deflector until it contacts the installation surface as shown in the illustration.
      Fig 28: Identifying Transfer Extension Housing Dust Deflector & SST
      GTY304790Courtesy of © TOYOTA, LICENSE AGREEMENT TMS1002
      • SST: 09950-60020 
        • 09951-00810
      • SST: 09950-70010 
        • 09951-07150
  19. INSTALL TRANSFER EXTENSION HOUSING SUB-ASSEMBLY 
    1. Remove any FIPG material and be careful not to drop oil on the contact surfaces of the transfer extension housing sub-assembly and the transfer case.
      Fig 29: Applying FIPG To Transfer Extension Housing Sub-Assembly
      GTY221337Courtesy of © TOYOTA, LICENSE AGREEMENT TMS1002
    2. Degrease the surfaces with a non-residue solvent.
    3. Apply FIPG to the transfer extension housing sub-assembly.

      FIPG

      Toyota Genuine Seal Packing 1281, Three Bond 1281 or equivalent

    4. Install the transfer extension housing sub-assembly with the 4 bolts to the transfer case.
      Fig 30: Remove/Install Transfer Extension Housing Bolts
      GTY244696Courtesy of © TOYOTA, LICENSE AGREEMENT TMS1002

      Torque: 26 N*m (260 kgf*cm, 19 ft.*lbf) 

      NOTE:

      Assemble the transfer extension housing sub-assembly within 10 minutes of FIPG application.

  20. SEPARATE TRANSFER ASSEMBLY 
    1. Remove the transfer assembly from the overhaul attachment.
  21. INSTALL TRANSFER CASE STRAIGHT PIN 
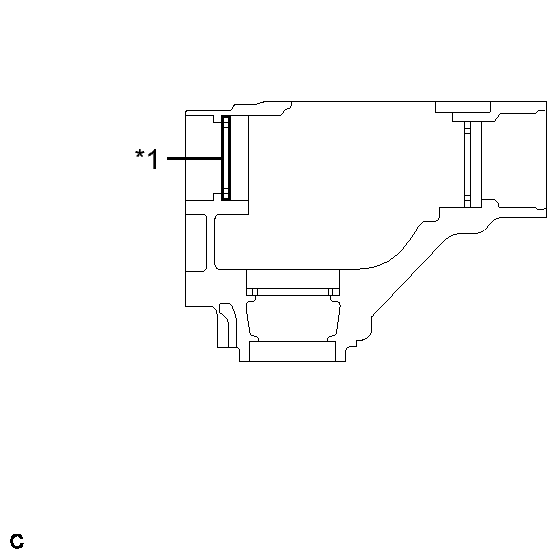
    1. Using a plastic hammer, drive the 4 transfer case straight pins into the transfer case at the positions shown in the illustration.
      Fig 31: Locating Transfer Case Straight Pins
      GTY250613Courtesy of © TOYOTA, LICENSE AGREEMENT TMS1002
      TEXT IN ILLUSTRATION

      *1 10.8 to 11.8 mm (0.425 to 0.465 in.) *2 5.7 to 6.7 mm (0.224 to 0.264 in.)
  22. INSTALL TRANSFER CASE BREATHER PLUG 
    1. Using SST and a hammer, tap in a new breather plug.
      • SST: 09612-10093 
        • 09612-10061
      Fig 32: Tapping In Breather Plug
      GTY218521Courtesy of © TOYOTA, LICENSE AGREEMENT TMS1002
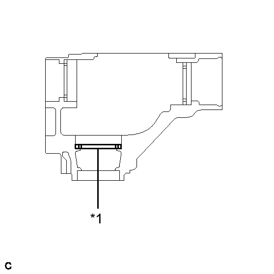
  23. INSTALL BREATHER OIL DEFLECTOR 
    1. Install the breather oil deflector with the bolt.
      Fig 33: Location of Breather Oil Deflector And Bolt
      GTY222187Courtesy of © TOYOTA, LICENSE AGREEMENT TMS1002

      Torque: 6.5 N*m (66 kgf*cm, 58 in.*lbf) 

  24. INSTALL TRANSFER CASE COVER SUB-ASSEMBLY 
    1. Remove any FIPG material and be careful not to drop oil on the contact surfaces of the transfer case cover sub-assembly and the transfer case.
      Fig 34: Applying FIPG To No. 1 Transfer Case Cover
      GTY315377Courtesy of © TOYOTA, LICENSE AGREEMENT TMS1002
    2. Degrease the surfaces with a non-residue solvent.
    3. Apply FIPG to the transfer case cover sub-assembly.

      FIPG

      Toyota Genuine Seal Packing 1281, Three Bond 1281 or equivalent

    4. Install the transfer case cover sub-assembly with the 6 bolts.
      Fig 35: Location of No. 1 Transfer Case Cover With Bolts
      GTY252347Courtesy of © TOYOTA, LICENSE AGREEMENT TMS1002

      Torque: 20 N*m (200 kgf*cm, 14 ft.*lbf) 

      NOTE:
      • Wait for at least 1 hour after installing the transfer case cover sub-assembly before adding transfer oil.
      • Assemble the transfer case cover sub-assembly within 10 minutes after the FIPG application.
    5. Install the transfer case cover sub-assembly with the new 2 bolts.
      Fig 36: Location of No. 1 Transfer Case Cover With Bolts
      GTY252348Courtesy of © TOYOTA, LICENSE AGREEMENT TMS1002

      Torque: 20 N*m (200 kgf*cm, 14 ft.*lbf) 

  25. INSTALL TRANSFER DRAIN PLUG 
    1. Install a new gasket to the transfer drain plug.
      Fig 37: Location of Transfer Drain Plug
      GTY250283Courtesy of © TOYOTA, LICENSE AGREEMENT TMS1002
    2. Install the transfer drain plug to the transfer assembly.

      Torque: 49 N*m (500 kgf*cm, 36 ft.*lbf) 

  26. INSTALL NO. 1 TRANSFER CASE PLUG 
    1. Install a new gasket to the No. 1 transfer case plug.
      Fig 38: Location of No. 1 Transfer Case Plug
      GTY248820Courtesy of © TOYOTA, LICENSE AGREEMENT TMS1002
    2. Install the No. 1 transfer case plug to the transfer assembly.

      Torque: 49 N*m (500 kgf*cm, 36 ft.*lbf) 

  27. INSTALL NO. 2 TRANSFER CASE PLUG 
    1. Install a new gasket to the No. 2 transfer case plug.
      Fig 39: Location of No. 2 Transfer Case Plug
      GTY252449Courtesy of © TOYOTA, LICENSE AGREEMENT TMS1002
    2. Install the No. 2 transfer case plug to the transfer assembly.

      Torque: 49 N*m (500 kgf*cm, 36 ft.*lbf) 

  28. INSTALL TRANSFER AND TRANSAXLE SETTING STUD BOLT 
    1. Install the 4 new transfer and transaxle setting stud bolts to the transfer case positions shown in the illustration.
      Fig 40: 4 New Transfer And Transaxle Setting Stud Bolts
      GTY350477Courtesy of © TOYOTA, LICENSE AGREEMENT TMS1002
      TEXT IN ILLUSTRATION

      *1 Transaxle *2 Transfer

      Stud bolt length

      30 mm (1.1811 in.)

      12 mm (0.4724 in.)

      22 mm (0.8661 in.)

      Torque: 30 N*m (306 kgf*cm, 22 ft.*lbf) 

      NOTE:

      Install the sealed side of the stud bolt to the transfer.