LEMON Manuals: Even more car manuals for everyone: 1960-2025
Home >> Lexus >> 2013 >> IS F >> Repair and Diagnosis >> Brakes >> Traction Control >> Vehicle Stability Control System (Diagnostic Codes & Symptom Tests) >> Vehicle Stability Control System >> DTC C1425: Open in Stop Light Switch Circuit >> Procedure
April 5, 2026: LEMON Manuals is launched! Read the announcement.

DTC C1425: Open in Stop Light Switch Circuit: Procedure

  1. CHECK STOP LIGHT OPERATION 
    1. Check that the stop lights come on when the brake pedal is depressed, and go off when the brake pedal is released.

      OK

      Condition Illumination Condition
      Brake pedal depressed ON
      Brake pedal released OFF

    NG → See step   4 

    OK: Go to next step 

  2. READ VALUE USING TECHSTREAM (STOP LIGHT SWITCH) 
    1. Connect the Techstream to the DLC3.
    2. Turn the engine switch on (IG).
    3. Select the Data List on the Techstream. Refer to DATA LIST / ACTIVE TEST [08/2012 - ] .
      ABS/VSC/TRAC

      Tester Display Measurement Item/Range Normal Condition Diagnostic Note
      Stop Light SW Stop light switch / ON or OFF ON: Brake pedal depressed
      OFF: Brake pedal released
      -
    4. Check that the stop light switch display observed on the Techstream changes according to brake pedal operation.

      OK

      The Techstream displays ON or OFF according to brake pedal operation.

    NG → See step   13 

    OK: Go to next step 

  3. RECONFIRM DTC 
    1. Turn the engine switch off.
    2. Clear the DTCs. Refer to DTC CHECK / CLEAR [08/2012 - ] .
    3. Start the engine.
    4. Depress the brake pedal several times to test the stop light circuit.
    5. Check if the same DTC is recorded. Refer to DTC CHECK / CLEAR [08/2012 - ] .

      Result

      Result Proceed to
      DTC (C1425) is not output A
      DTC (C1425) is output B

      HINT: 

      If troubleshooting has been carried out according to Problem Symptoms Table, refer back to the table and proceed to the next step. Refer to PROBLEM SYMPTOMS TABLE [08/2012 - ] .

    B → See step   14 

    A → See step   16 

  4. INSPECT STOP SW FUSE 
    1. Remove the STOP SW fuse from the main body ECU RH (cowl side junction block RH).
      GTY254147Courtesy of © TOYOTA, LICENSE AGREEMENT TMS1002
    2. Measure the resistance according to the value(s) in the table below.

      Standard Resistance

      Tester Connection Condition Specified Condition
      STOP SW (7.5 A) fuse Always Below 1 Ω
      TEXT IN ILLUSTRATION

      *1 Main Body ECU RH
      *2 STOP SW Fuse

    NG → REPLACE STOP SW FUSE 

    OK: Go to next step 

  5. INSPECT STOP LIGHT SWITCH (POWER SOURCE TERMINAL) 
    1. Install the STOP SW fuse.
      GTY280734Courtesy of © TOYOTA, LICENSE AGREEMENT TMS1002
    2. Make sure that there is no looseness at the locking part and the connecting part of the connectors.
    3. Disconnect the stop light switch connector.
    4. Measure the voltage according to the value(s) in the table below.

      Standard Voltage

      Tester Connection Condition Specified Condition
      A22-2 - Body ground Always 11 to 14 V
      TEXT IN ILLUSTRATION

      *1 Front view of wire harness connector
      (to Stop Light Switch)

    NG → REPAIR OR REPLACE HARNESS OR CONNECTOR (POWER SOURCE CIRCUIT) 

    OK: Go to next step 

  6. INSPECT STOP LIGHT SWITCH 
    1. Measure the resistance according to the value(s) in the table below.
      GTY139025Courtesy of © TOYOTA, LICENSE AGREEMENT TMS1002

      Standard Resistance

      Tester Connection Switch Condition Specified Condition
      1 - 2 Switch pin free Below 1 Ω
      1 - 2 Switch pin pushed in 10 kΩ or higher

    NG → See step   17 

    OK: Go to next step 

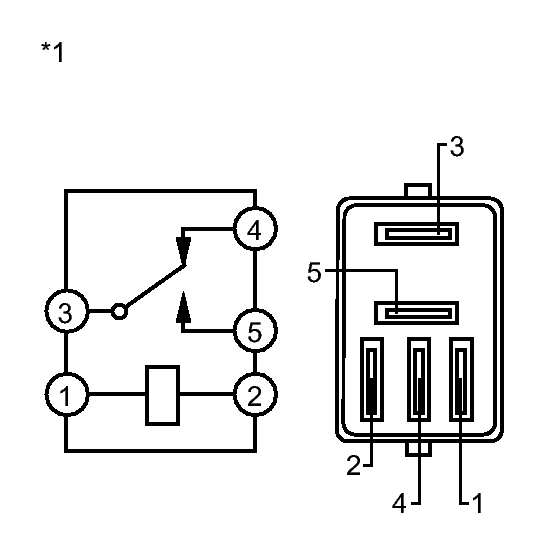
  7. INSPECT STOP LIGHT CONTROL (BRK-LP) RELAY 
    1. Remove the stop light control (BRK-LP) relay.
      GTY357703Courtesy of © TOYOTA, LICENSE AGREEMENT TMS1002
    2. Measure the resistance according to the value(s) in the table below.

      Standard Resistance

      Tester Connection Condition Specified Condition
      3 - 4 Voltage is not applied between terminals 1 and 2 Below 1 Ω
      TEXT IN ILLUSTRATION

      *1 Stop Light Control (BRK-LP) Relay

    NG → REPLACE STOP LIGHT CONTROL (BRK-LP) RELAY 

    OK: Go to next step 

  8. INSPECT STOP LIGHT CONTROL RELAY 
    1. Check the stop light control relay. Refer to INSPECTION [08/2012 - ] .

      OK

      The stop light control relay is normal.

    NG → See step   18 

    OK: Go to next step 

  9. CHECK HARNESS AND CONNECTOR (STOP LIGHT SWITCH - STOP LIGHT CONTROL RELAY) 
    1. Make sure that there is no looseness at the locking part and the connecting part of the connector.
      GTY283654Courtesy of © TOYOTA, LICENSE AGREEMENT TMS1002
    2. Disconnect the stop light control relay connector.
    3. Measure the resistance according to the value(s) in the table below.

      Standard Resistance

      Tester Connection Condition Specified Condition
      A22-1 - J96-2 (STP) Always Below 1 Ω
      A22-1 - Body ground Always 10 kΩ or higher
      TEXT IN ILLUSTRATION

      *1 Front view of wire harness connector
      (to Stop Light Switch)
      *2 Front view of wire harness connector
      (to Stop Light Control Relay)

    NG → REPAIR OR REPLACE HARNESS OR CONNECTOR 

    OK: Go to next step 

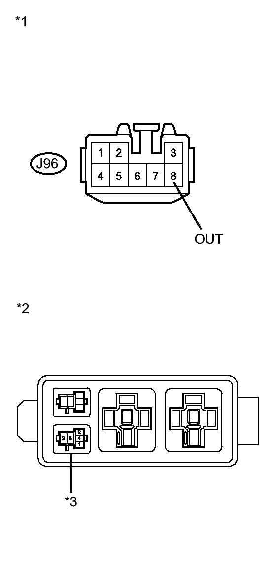
  10. CHECK HARNESS AND CONNECTOR (STOP LIGHT CONTROL RELAY - NO. 2 ENGINE ROOM RELAY BLOCK) 
    1. Measure the resistance according to the value(s) in the table below.
      GTY277096Courtesy of © TOYOTA, LICENSE AGREEMENT TMS1002

      Standard Resistance

      Tester Connection Condition Specified Condition
      J96-8 (OUT) - Stop light control (BRK-LP) relay terminal 4 Always Below 1 Ω
      J96-8 (OUT) - Body ground Always 10 kΩ or higher
      TEXT IN ILLUSTRATION

      *1 Front view of wire harness connector
      (to Stop Light Control Relay)
      *2 No. 3 Engine Room Relay Block
      *3 Stop Light Control (BRK-LP) Relay

    NG → REPAIR OR REPLACE HARNESS OR CONNECTOR 

    OK: Go to next step 

  11. CHECK HARNESS AND CONNECTOR (SKID CONTROL ECU - NO. 2 ENGINE ROOM RELAY BLOCK) 
    1. Make sure that there is no looseness at the locking part and the connecting part of the connector.
      GTY276156Courtesy of © TOYOTA, LICENSE AGREEMENT TMS1002
    2. Disconnect the skid control ECU connector.
    3. Measure the resistance according to the value(s) in the table below.

      Standard Resistance

      Tester Connection Condition Specified Condition
      A62-22 (STP2) - Stop light control (BRK-LP) relay terminal 3 Always Below 1 Ω
      TEXT IN ILLUSTRATION

      *1 Front view of wire harness connector
      (to Skid Control ECU)
      *2 No. 3 Engine Room Relay Block
      *3 Stop Light Control (BRK-LP) Relay

    NG → REPAIR OR REPLACE HARNESS OR CONNECTOR 

    OK: Go to next step 

  12. RECONFIRM DTC 
    1. Clear the DTCs. Refer to DTC CHECK / CLEAR [08/2012 - ] .
    2. Start the engine.
    3. Depress the brake pedal several times to test the stop light circuit.
    4. Check if the same DTC is recorded. Refer to DTC CHECK / CLEAR [08/2012 - ] .

      HINT: 

      Reinstall the relay, connectors, etc. and restore the vehicle to its prior condition before rechecking for DTCs.

      Result

      Result Proceed to
      DTC (C1425) is not output A
      DTC (C1425) is output B

      HINT: 

      If troubleshooting has been carried out according to Problem Symptoms Table, refer back to the table and proceed to the next step. Refer to PROBLEM SYMPTOMS TABLE [08/2012 - ] .

    B → See step   14 

    A → See step   15 

  13. CHECK HARNESS AND CONNECTOR (SKID CONTROL ECU - STOP LIGHT SWITCH) 
    1. Turn the engine switch off.
      GTY275663Courtesy of © TOYOTA, LICENSE AGREEMENT TMS1002
    2. Make sure that there is no looseness at the locking part and the connecting part of the connectors.
    3. Disconnect the skid control ECU connector and the stop light switch connector.
    4. Measure the resistance according to the value(s) in the table below.

      Standard Resistance

      Tester Connection Condition Specified Condition
      A62-2 (STP1) - A22-1 Always Below 1 Ω
      TEXT IN ILLUSTRATION

      *1 Front view of wire harness connector
      (to Skid Control ECU)
      *2 Front view of wire harness connector
      (to Stop Light Switch)

      HINT: 

      If troubleshooting has been carried out according to Problem Symptoms Table, refer back to the table and proceed to the next step. Refer to PROBLEM SYMPTOMS TABLE [08/2012 - ] .

    NG → REPAIR OR REPLACE HARNESS OR CONNECTOR 

    OK → See step   14 

  14. REPLACE BRAKE ACTUATOR ASSEMBLY. Refer to  REMOVAL [08/2012 - ] 
  15. INSPECT LIGHTING SYSTEM (STOP LIGHT CIRCUIT). Refer to  PROBLEM SYMPTOMS TABLE [08/2012 - ] 
  16. CHECK FOR INTERMITTENT PROBLEMS. Refer to  HOW TO PROCEED WITH TROUBLESHOOTING [08/2012 - ] 
  17. REPLACE STOP LIGHT SWITCH. Refer to  REMOVAL [08/2012 - ] 
  18. REPLACE STOP LIGHT CONTROL RELAY. Refer to  REMOVAL [08/2012 - ]