LEMON Manuals: Even more car manuals for everyone: 1960-2025
Home >> Lexus >> 2013 >> RX 350 Base, AWD >> Repair and Diagnosis >> Engine Performance >> System >> Engine Control System (Diagnostic Codes (P0136 - P0504)) >> SFI System >> DTC P0420: Catalyst System Efficiency Below Threshold (Bank 1); DTC P0430: Catalyst System Efficiency Below Threshold (Bank 2) (03/2012 - 07/2012) >> Catalyst Location
April 5, 2026: LEMON Manuals is launched! Read the announcement.

Catalyst Location

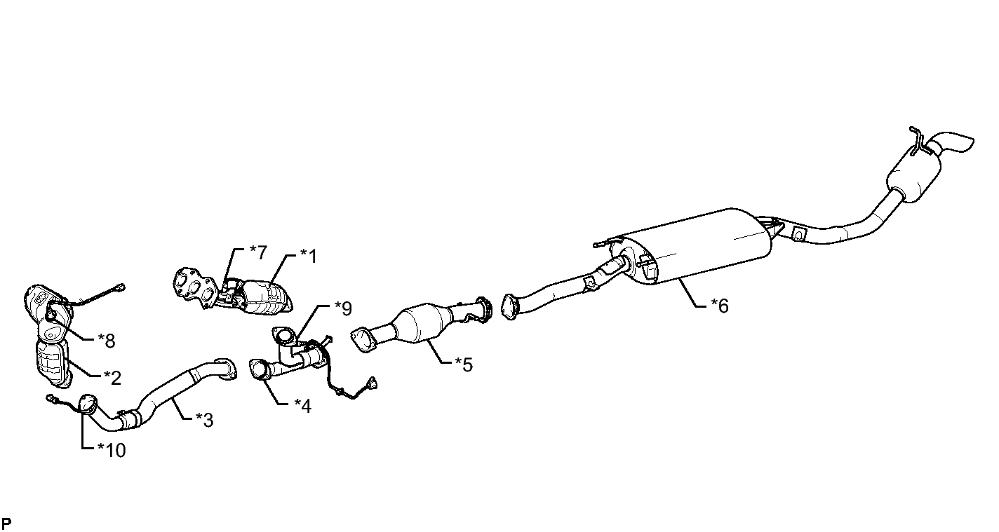
Fig 1: Identifying Catalyst Required Sensors & Components
GTY273667Courtesy of © TOYOTA, LICENSE AGREEMENT TMS1002
TEXT IN ILLUSTRATION

*1 Exhaust Manifold Sub-assembly RH
(TWC: Front Catalyst)
*2 Exhaust Manifold Sub-assembly LH
(TWC: Front Catalyst)
*3 Front Exhaust Pipe Assembly *4 No. 3 Front Exhaust Pipe Sub-assembly
*5 Center Exhaust Pipe Assembly
(TWC: Rear Catalyst)
*6 Tail Exhaust Pipe Assembly
*7 Air Fuel Ratio Sensor
(Bank 1 Sensor 1)
*8 Air Fuel Ratio Sensor
(Bank 2 Sensor 1)
*9 Heated Oxygen Sensor
(Bank 1 Sensor 2)
*10 Heated Oxygen Sensor
(Bank 2 Sensor 2)
NOTE:
  • When outputting DTC P0420 replace the exhaust manifold sub-assembly RH (*1) and center exhaust pipe assembly (*5) together when catalysts replacement is necessary (Excluding air fuel ratio sensor *7).
  • When outputting DTC P0430 replace the exhaust manifold sub-assembly LH (*2) and center exhaust pipe assembly (*5) together when catalysts replacement is necessary (Excluding air fuel ratio sensor *8).