LEMON Manuals: Even more car manuals for everyone: 1960-2025
Home >> Lexus >> 2013 >> RX 350 Base, AWD >> Repair and Diagnosis >> Engine Performance >> System >> Engine Control System (Diagnostic Codes (P0505 - P1603)) >> SFI System >> DTC P0705: Transmission Range Sensor Circuit Malfunction (PRNDL Input) (03/2012 - 07/2012) >> Procedure
April 5, 2026: LEMON Manuals is launched! Read the announcement.

DTC P0705: Transmission Range Sensor Circuit Malfunction (PRNDL Input) (03/2012 - 07/2012): Procedure

  1. READ VALUE USING TECHSTREAM 
    1. Connect the Techstream to the DLC3.
    2. Turn the engine switch on (IG).
    3. Turn the Techstream on.
    4. Enter the following menus: Powertrain / Engine / Data List.
    5. Read the values displayed on the Techstream.

      OK

      Techstream Display Shift Lever Specified Condition
      Neutral Position SW Signal P or N ON
      Except P or N OFF
      Shift SW Status (R Range) R ON
      Except R OFF
      Shift SW Status (P Range) P ON
      Except P OFF
      Shift SW Status (N Range) N ON
      Except N OFF
      Shift SW Status (D Range) D or S ON
      Except D or S OFF

    NG → See step   4 

    OK: Go to next step 

  2. READ VALUE USING TECHSTREAM (SPORTS MODE SELECTION SW) 
    1. Connect the Techstream to the DLC3.
    2. Turn the engine switch on (IG).
    3. Turn the Techstream on.
    4. Enter the following menus: Powertrain / Engine / Data List / Sports Mode Selection SW.
    5. Read the values displayed on the Techstream.

      OK

      Techstream Display Shift Lever Specified Condition
      Sports Mode Selection SW S ON
      Except S OFF

    NG → See step   3 

    OK → See step   10 

  3. INSPECT LOWER SHIFT LEVER ASSEMBLY (TRANSMISSION CONTROL SWITCH) 
    1. Inspect the transmission control switch.

      Result

      Result Proceed to
      OK A
      NG (for 2WD) B
      NG (for AWD) C

    B → See step   8 

    C → See step   13 

    A → REPAIR OR REPLACE HARNESS OR CONNECTOR (ECM - TRANSMISSION CONTROL SWITCH) 

  4. CHECK HARNESS AND CONNECTOR (PARK/NEUTRAL POSITION SWITCH ASSEMBLY VOLTAGE) 
    1. Disconnect the park/neutral position switch assembly connector.
      GTY410319Courtesy of © TOYOTA, LICENSE AGREEMENT TMS1002
    2. Turn the engine switch on (IG).
    3. Measure the voltage according to the value(s) in the table below.

      Standard Voltage

      Tester Connection Switch Condition Specified Condition
      D8-1 (RB) - Body ground Engine switch on (IG) 11 to 14 V
      TEXT IN ILLUSTRATION

      *a Front view of wire harness connector
      (to Park/Neutral Position Switch Assembly)
    4. Reconnect the park/neutral position switch assembly connector.

    NG → REPAIR OR REPLACE HARNESS OR CONNECTOR (PARK/NEUTRAL POSITION SWITCH ASSEMBLY - BATTERY) 

    OK: Go to next step 

  5. INSPECT PARK/NEUTRAL POSITION SWITCH ASSEMBLY 
    1. Inspect the park/neutral position switch assembly.

      Result

      Result Proceed to
      OK A
      NG (for 2WD) B
      NG (for AWD) C

    B → See step   9 

    C → See step   12 

    A: Go to next step 

  6. CHECK HARNESS AND CONNECTOR (ECM - PARK/NEUTRAL POSITION SWITCH ASSEMBLY) 
    1. Disconnect the ECM connector.
      GTY406926Courtesy of © TOYOTA, LICENSE AGREEMENT TMS1002
    2. Turn the engine switch on (IG).
    3. Measure the voltage according to the value(s) in the table below.

      Standard Voltage

      Tester Connection Condition Specified Condition
      D1-2 (P) - Body ground
      • Engine switch on (IG)
      • Shift lever in P
      11 to 14 V
      • Engine switch on (IG)
      • Shift lever in any position other than P
      0 to 1.5 V
      D1-26 (R) - Body ground
      • Engine switch on (IG)
      • Shift lever in R
      11 to 14 V
      • Engine switch on (IG)
      • Shift lever in any position other than R
      0 to 1.5 V
      D1-25 (N) - Body ground
      • Engine switch on (IG)
      • Shift lever in N
      11 to 14 V
      • Engine switch on (IG)
      • Shift lever in any position other than N
      0 to 1.5 V
      D1-27 (D) - Body ground
      • Engine switch on (IG)
      • Shift lever in D or S
      11 to 14 V
      • Engine switch on (IG)
      • Shift lever in any position other than D or S
      0 to 1.5 V
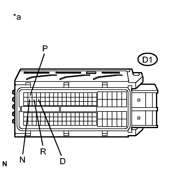
      TEXT IN ILLUSTRATION

      *a Front view of wire harness connector
      (to ECM)
    4. Reconnect the ECM connector.

    NG → REPAIR OR REPLACE HARNESS OR CONNECTOR (ECM - PARK/NEUTRAL POSITION SWITCH ASSEMBLY) 

    OK: Go to next step 

  7. CHECK HARNESS AND CONNECTOR (PARK/NEUTRAL POSITION SWITCH ASSEMBLY - ECM) 
    1. Disconnect the park/neutral position switch assembly connector.
    2. Disconnect the ECM connector.
    3. Measure the resistance according to the value(s) in the table below.

      Standard Resistance (Check for Open)

      Tester Connection Condition Specified Condition
      D8-4 (B) - D1-120 (NSW) Always Below 1 Ω

      Standard Resistance (Check for Short)

      Tester Connection Condition Specified Condition
      D8-4 (B) or D1-120 (NSW) - Body ground Always 10 kΩ or higher
    4. Reconnect the ECM connector.
    5. Reconnect the park/neutral position switch assembly connector.

    NG → REPAIR OR REPLACE HARNESS OR CONNECTOR (ECM - PARK/NEUTRAL POSITION SWITCH ASSEMBLY) 

    OK → See step   11 

  8. REPLACE LOWER SHIFT LEVER ASSEMBLY (TRANSMISSION CONTROL SWITCH). Refer to  REMOVAL [03/2012 - 07/2012] 
  9. REPLACE PARK/NEUTRAL POSITION SWITCH ASSEMBLY. Refer to  REMOVAL [03/2012 - 07/2012] 
  10. CHECK FOR INTERMITTENT PROBLEMS. Refer to  CHECK FOR INTERMITTENT PROBLEMS [03/2012 - ] 
  11. REPLACE ECM. Refer to  REMOVAL [03/2012 - 07/2012] 
  12. REPLACE PARK/NEUTRAL POSITION SWITCH ASSEMBLY. Refer to  REMOVAL [03/2012 - 07/2012] 
  13. REPLACE LOWER SHIFT LEVER ASSEMBLY (TRANSMISSION CONTROL SWITCH). Refer to  REMOVAL [03/2012 - 07/2012]