LEMON Manuals: Even more car manuals for everyone: 1960-2025
Home >> Lexus >> 2013 >> RX 350 Base, AWD >> Repair and Diagnosis >> Engine Performance >> System >> Engine Control System (Diagnostic Codes (P1603 - P2195)) >> SFI System >> DTC P2109: Throttle / Pedal Position Sensor "A" Minimum Stop Performance (03/2012 - 07/2012) >> Procedure
April 5, 2026: LEMON Manuals is launched! Read the announcement.

DTC P2109: Throttle / Pedal Position Sensor "A" Minimum Stop Performance (03/2012 - 07/2012): Procedure

  1. CHECK ANY OTHER DTCS OUTPUT (IN ADDITION TO DTC P2109) 
    1. Connect the Techstream to the DLC3.
    2. Turn the engine switch on (IG).
    3. Turn the Techstream on.
    4. Enter the following menus: Powertrain / Engine / Trouble Codes.
    5. Read the DTCs.
      RESULT

      Result Proceed to
      DTC P2109 is output A
      DTC P2109 and other DTCs are output B

      HINT: 

      If any DTCs other than P2109 are output, troubleshoot those DTCs first.

    B → See step   5 

    A: Go to next step 

  2. READ FREEZE FRAME DATA 
    1. Connect the Techstream to the DLC3.
    2. Turn the engine switch on (IG).
    3. Using the Techstream, check "ISC Learning Value" in the freeze frame data. Refer to FREEZE FRAME DATA [03/2012 - 07/2012] .

      HINT: 

      Be sure to confirm "ISC Learning Value" in the freeze frame data as it is used when confirming whether the malfunction has been successfully repaired.

    NEXT: Go to next step 

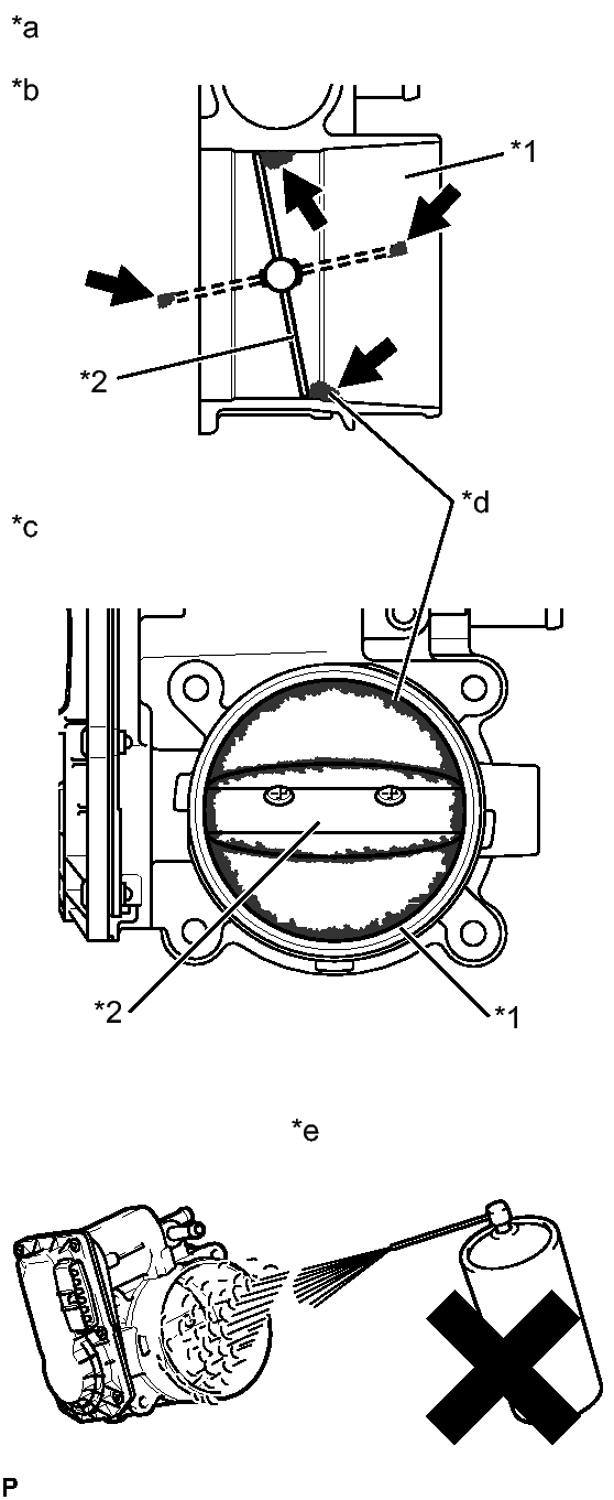
  3. REMOVE FOREIGN OBJECT (CLEAN THROTTLE WITH MOTOR BODY ASSEMBLY) 
    GTY307078Courtesy of © TOYOTA, LICENSE AGREEMENT TMS1002
    1. Clean off any deposits from the inside of the throttle with motor body assembly.
      TEXT IN ILLUSTRATION

      *1 Bore
      *2 Valve
      *a Reference
      *b Throttle with Motor Body Assembly Cross-section Diagram
      *c When valve fully opened
      *d Deposits
      *e Do not directly apply cleaner
      1. Push open the throttle valve and wipe off any carbon from the valve and bore using a cloth soaked in non-residue solvent.
        NOTE:
        • Make sure that the cloth or your fingers do not get caught in the valve.
        • Make sure that foreign matter does not enter the throttle valve.
        • Do not directly apply non-residue solvent to the throttle with motor body assembly or wash the throttle with motor body assembly. Cleaning solvent may leak into the motor from the shaft and cause problems such as rust or valve movement problems.
        • If there is coating material on the edge of the valve, be careful not to remove it.
        • Push the throttle valve open gently with your finger and check that the throttle valve moves smoothly.

        HINT: 

        If the throttle valve does not open smoothly, replace the throttle with motor body assembly.

    NEXT: Go to next step 

  4. READ VALUE USING TECHSTREAM (ISC LEARNING VALUE) 
    1. Remove the EFI NO. 1 and ETCS fuses at the same time, wait 60 seconds or more, and then reinstall the fuses to reset the ISC learning value.
    2. Connect the Techstream to the DLC3.
    3. Start the engine and fully warm it up.

      HINT: 

      The A/C switch and all accessory switches should be off.

    4. Turn the Techstream on.
    5. Leave the vehicle idling for 3 minutes or more and check that the engine speed is at the standard idling speed.

      HINT: 

      Check the freeze frame data and make sure that the vehicle conditions are the same as when the DTC was stored.

    6. Enter the following menus: Powertrain / Engine / Data List / ISC Learning Value.
    7. Read the value.

      OK

      The value is half of "ISC Learning Value" recorded in the freeze frame data or less.

    NG → See step   6 

    OK → END 

  5. GO TO DTC CHART. Refer to  DIAGNOSTIC TROUBLE CODE CHART [03/2012 - 07/2012] 
  6. REPLACE THROTTLE WITH MOTOR BODY ASSEMBLY. Refer to  REMOVAL [03/2012 - 07/2012]