LEMON Manuals: Even more car manuals for everyone: 1960-2025
Home >> Lexus >> 2013 >> RX 350 Base, AWD >> Repair and Diagnosis >> Engine Performance >> System >> Engine Control System (Diagnostic Codes (P1603 - P2195)) >> SFI System >> DTC P2118: Throttle Actuator Control Motor Current Range / Performance >> Procedure
April 5, 2026: LEMON Manuals is launched! Read the announcement.

DTC P2118: Throttle Actuator Control Motor Current Range / Performance: Procedure

  1. READ VALUE USING TECHSTREAM (+BM VOLTAGE) 
    1. Connect the Techstream to the DLC3.
    2. Turn the engine switch on (IG).
    3. Turn the Techstream on.
    4. Enter the following menus: Powertrain / Engine / Data List / +BM voltage.
    5. Read the value displayed on the Techstream.

      Standard Voltage

      11 to 14 V

    NG → See step   2 

    OK → See step   4 

  2. CHECK HARNESS AND CONNECTOR (ECM - BATTERY, BODY GROUND) 
    1. Disconnect the ECM connectors.
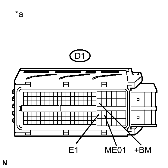
      GTY349810Courtesy of © TOYOTA, LICENSE AGREEMENT TMS1002
    2. Measure the voltage according to the value(s) in the table below.

      Standard Voltage

      Tester Connection Condition Specified Condition
      D1-41 (+BM) - Body ground Always 11 to 14 V
      TEXT IN ILLUSTRATION

      *a Front view of wire harness connector
      (to ECM)
    3. Measure the resistance according to the value(s) in the table below.

      Standard Resistance (Check for Open)

      Tester Connection Condition Specified Condition
      D1-82 (ME01) - Body ground Always Below 1 Ω
      D1-81 (E1) - Body ground Always Below 1 Ω
    4. Reconnect the ECM connector.

    NG → REPAIR OR REPLACE HARNESS OR CONNECTOR (ECM - BATTERY, BODY GROUND) 

    OK → See step   3 

  3. REPLACE ECM. Refer to  REMOVAL [03/2012 - 07/2012] 
  4. CHECK FOR INTERMITTENT PROBLEMS. Refer to  CHECK FOR INTERMITTENT PROBLEMS [03/2012 - ]