LEMON Manuals: Even more car manuals for everyone: 1960-2025
Home >> Lexus >> 2014 >> ES 300h >> Repair and Diagnosis >> Body & Frame >> Seats >> Front Power Seat Control System (W/ Memory) (Diagnostics - Introduction) >> Front Power Seat Control System (W/ Memory) >> Operation Check [08/2013 - ] >> Operation Check [08/2013 - ]
April 5, 2026: LEMON Manuals is launched! Read the announcement.

Operation Check [08/2013 - ]

  1. CHECK POWER SEAT FUNCTION 
    1. Check the basic functions.
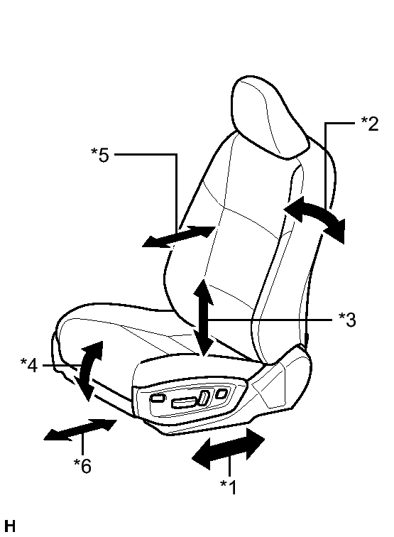
      Fig 1: Identifying Seat Functions
      GTY397030Courtesy of © TOYOTA, LICENSE AGREEMENT TMS1002
      TEXT IN ILLUSTRATION

      *1 Slide Function
      *2 Reclining Function
      *3 Lifter Function
      *4 Front Vertical Function
      *5 Lumbar Support Adjustment Function
      *6 Cushion Length Function*
      1. Operate the front power seat switches and check that each seat function operates properly:
        • Slide function
        • Reclining function
        • Lifter function
        • Front vertical function
        • Lumbar support adjustment function
        • Cushion length function*
          • *: w/ Seat Variable Cushion Switch
  2. CHECK POWER SEAT MOTOR (SLIDING, FRONT VERTICAL, LIFTER AND RECLINING FUNCTIONS) 
    1. Check the PTC operation inside the power seat motor.

      HINT: 

      The resistance of the PTC thermistor increases when a switch of the front power seat switch or power seat switch assembly* is held down even after the seat has been moved to the farthest possible position in one direction. If the resistance increases beyond a specified level, the current is shut off to prevent a short circuit.

      NOTE:
      • The inspection should be performed with the seat installed in the vehicle.
      • Perform the 4 steps below to check the full range of motion for each power seat function.
      1. Choose a power seat function. Operate a switch of the front power seat switch or power seat switch assembly* and move the seat to the farthest possible position in one direction. Keep the seat in that position for approximately 60 seconds.
      2. Operate the switch of the front power seat switch or power seat switch assembly* again and continue to try to move the seat in the same direction as in the previous step. Measure the time until the current is shut off (motor operation sound will stop).

        Standard

        4 to 90 seconds

      3. After the current is shut off, release the switch of the front power seat switch or power seat switch assembly* and wait for approximately 60 seconds.
      4. Operate the same switch of the front power seat switch or power seat switch assembly* and move the seat in the opposite direction. Check that the motor operates.
        • *: for Front Passenger with Power Seat Switch Assembly
  3. CHECK SEAT LENGTH MOTOR (for Driver with Seat Variable Cushion Switch) 
    1. Check the PTC operation inside the seat length motor.
      NOTE:

      The inspection should be performed with the seat installed in the vehicle.

      1. Operate the seat variable cushion switch and move the seat cushion to either the foremost or rearmost position. Keep the seat in that position for approximately 60 seconds.
      2. Operate the seat variable cushion switch again and continue to try to move the seat cushion in the same direction as in the previous step. Measure the time until the current is shut off (motor operation sound will stop).

        Standard

        4 to 90 seconds

      3. After the current is shut off, release the seat variable cushion switch and wait for approximately 60 seconds.
      4. Operate the seat variable cushion switch and move the seat cushion in the opposite direction. Check that the motor operates.
  4. CHECK LUMBAR SUPPORT ADJUSTMENT MOTOR 
    1. Check the PTC operation inside the lumbar support adjustment motor.
      NOTE:

      The inspection should be performed with the seat installed in the vehicle.

      1. Operate the front power seat switch assembly and move the lumbar support to either the foremost or rearmost position. Keep the seat in that position for approximately 60 seconds.
      2. Operate the front power seat switch assembly again and continue to try to move the lumbar support in the same direction as in the previous step. Measure the time until the current is shut off (motor operation sound will stop).

        Standard

        4 to 90 seconds

      3. After the current is shut off, release the front power seat switch assembly and wait for approximately 60 seconds.
      4. Operate the front power seat switch assembly and move the lumbar support in the opposite direction. Check that the motor operates.
  5. CHECK POWER SEAT POWER EASY ACCESS SYSTEM (for Driver) 

    HINT: 

    When troubleshooting a function, first make sure that the function is set to the default setting.

    1. Away function
      1. Turn the power switch off and move the shift lever to P.
      2. Disengage the seat belt tongue plate from the buckle.
      3. Make sure that the seat slides rearward.
    2. Return function
      1. Turn the power switch on (ACC or IG) or engage the seat belt tongue plate to the buckle.
      2. Make sure that the seat slides forward.
  6. CHECK SEAT POSITION MEMORY AND RESTORING FUNCTION 

    HINT: 

    • The SET, M1, M2 and M3 seat memory switches are shown in the illustration.
    • The seat position will not be stored if the SET switch and 2 of the seat memory switches are pressed simultaneously.
    1. Turn the power switch on (IG) and check that the P position indicator is on.
      Fig 2: Identifying Seat Memory Switches
      GTY418879Courtesy of © TOYOTA, LICENSE AGREEMENT TMS1002
      TEXT IN ILLUSTRATION

      *A for Driver
      *B for Front Passenger
      *1 M1 Switch
      *2 M2 Switch
      *3 M3 Switch
      *4 SET Switch
    2. Move the seat to the foremost and uppermost positions using the front power seat switch.
    3. Check that the buzzer sounds for 0.5 seconds and the seat position is memorized when the M1 switch is pressed within 3 seconds after the SET switch is being pressed.

      HINT: 

      • The seat position will also be stored when the M1 switch is pressed while the SET switch is being pressed.
      • The seat position will not be stored when the SET switch and M1 switch are pressed simultaneously.
    4. Move the seat out of the foremost and uppermost positions using the front power seat switch.
    5. Check that the buzzer sounds for 0.5 seconds and the seat position is memorized when the M2 switch is pressed within 3 seconds after the SET switch is being pressed.

      HINT: 

      • The seat position will also be stored when the M2 switch is pressed while the SET switch is being pressed.
      • The seat position will not be stored when the SET switch and M2 switch are pressed simultaneously.
    6. Move the seat out of the foremost and uppermost positions using the front power seat switch.
    7. Check that the buzzer sounds for 0.5 seconds and the seat position is memorized when the M3 switch is pressed within 3 seconds after the SET switch is being pressed.

      HINT: 

      • The seat position will also be stored when the M3 switch is pressed while the SET switch is being pressed.
      • The seat position will not be stored when the SET switch and M3 switch are pressed simultaneously.
    8. Check that the buzzer sounds for 0.1 seconds and the seat automatically moves into the foremost and uppermost positions (memorized positions) when the M1 switch is pressed.
    9. Check that the buzzer sounds for 0.1 seconds and the seat automatically moves out of the foremost and uppermost positions (memorized positions) when the M2 switch is pressed.
    10. Check that the buzzer sounds for 0.1 seconds and the seat automatically moves out of the foremost and uppermost positions (memorized positions) when the M3 switch is pressed.
    11. Turn the power switch off and open the driver door. Check that the buzzer sounds for 0.1 seconds and the seat automatically moves to the memorized position by pressing the M1, M2 or M3 switch within 180 seconds after the power switch is turned off.
    12. Turn the power switch off and close the driver door. Check that the buzzer sounds for 0.1 seconds and the seat automatically moves to the memorized position by pressing the M1, M2 or M3 switch within 60 seconds after the power switch is turned off.
    13. Operate the front vertical function of the power seat switch to tilt the seat down 3 times.

      Within 10 seconds after operating the front vertical function of the power seat switch, operate the lifter function of the power seat switch to tilt up and the reclining function of the power seat switch to recline the seat simultaneously. Hold both switches for 10 seconds.

      HINT: 

      The buzzer sounds for 0.5 seconds when the memory is cleared.

  7. CHECK MEMORY CALL FUNCTION 
    1. Automatic memory call function check
      1. With a transmitter key recognition code registered:

        Perform a wireless door unlock or entry unlock operation and check that opening the driver door causes the following:

        • The buzzer sounds for 0.1 seconds.
        • The front seat and outer mirror surface position automatically move to the stored positions.

        HINT: 

        • The registered transmitter key recognition code is recalled automatically.
        • If the automatic memory call function is not operated, the buzzer will not sound.
    2. Memory registration
      1. With the power switch on (IG) and the driver door closed, press and hold the M1, M2 or M3 switch while carrying the key. The main body ECU (multiplex network body ECU) will enter transmitter key recognition code registration mode to allow a key to be linked to the mirror surface memory position.

        HINT: 

        If the memory switch is released before entering registration mode, the memory switch will not enter registration mode.

      2. When the manual LOCK or UNLOCK switch on the multiplex network master switch assembly is pressed, check that the buzzer sounds for 0.5 seconds.
    3. Memory deletion
      1. With the power switch on (IG) and the driver door closed, press and hold the SET switch while carrying the key. The main body ECU (multiplex network body ECU) will enter transmitter key recognition code deletion mode.

        HINT: 

        If the seat memory switch is released before entering deletion mode, the seat memory switch will not enter deletion mode.

      2. When the manual LOCK or UNLOCK switch on the multiplex network master switch assembly is pressed, check that the buzzer sounds twice (0.1 seconds each time).
  8. MEMORY CALL EMERGENCY STOP FUNCTION 
    1. While a memory call function is operating, check that performing one of the following will stop the memory call operation: 1) press the SET switch, M1 switch, M2 switch or M3 switch or 2) press the front power seat switch.