LEMON Manuals: Even more car manuals for everyone: 1960-2025
Home >> Lexus >> 2014 >> ES 350 >> Repair and Diagnosis >> Restraints >> Air Bag, SRS >> Occupant Classification System (Diagnostics - Introduction) >> Occupant Classification System >> System Diagram [08/2013 - ] >> System Diagram [08/2013 - ]
April 5, 2026: LEMON Manuals is launched! Read the announcement.

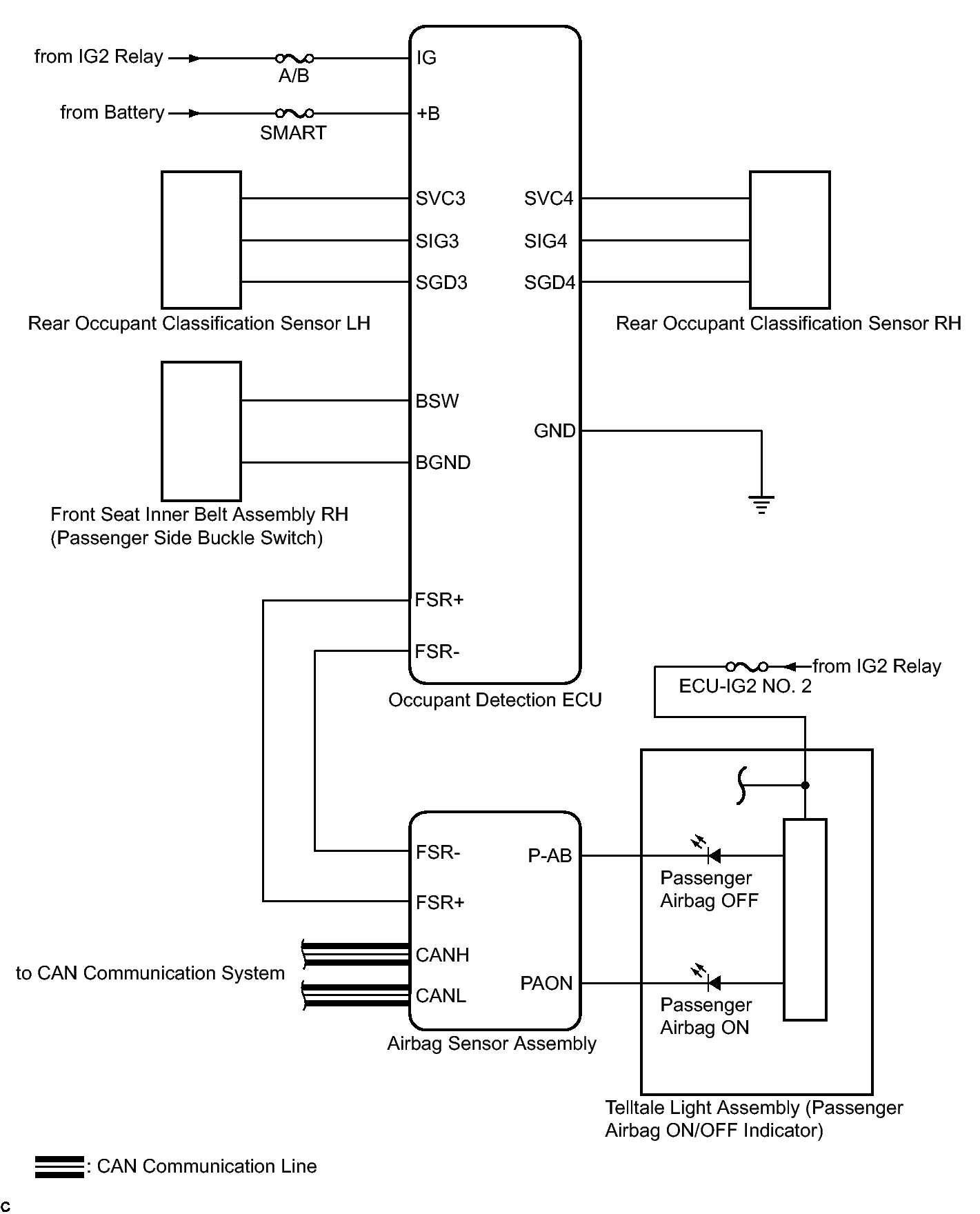
System Diagram [08/2013 - ]

Fig 1: Identifying Occupant Classification System Diagram
GTY404102Courtesy of © TOYOTA, LICENSE AGREEMENT TMS1002