LEMON Manuals: Even more car manuals for everyone: 1960-2025
Home >> Lexus >> 2014 >> GX 460 Base >> Repair and Diagnosis >> Body & Frame >> Door Locks >> Smart Access System (Keyless Entry) (Diagnostics) (Introduction) >> SMART ACCESS SYSTEM WITH PUSH-BUTTON START (for Entry Function) >> Operation Check [08/2013 - ] >> Operation Check [08/2013 - ]
April 5, 2026: LEMON Manuals is launched! Read the announcement.

Operation Check [08/2013 - ]

  1. CHECK SMART ACCESS SYSTEM WITH PUSH-BUTTON START (for Entry Function) OPERATION 
    NOTE:

    Make sure that the smart access system with push-button start (for Entry Function) has not been canceled before performing this inspection.

    1. Check the entry unlock function (driver side door, front passenger side door).
      1. Perform a wireless lock operation to lock all the doors, touch the unlock sensor built into the backside of the front door outside handle assembly of the driver side door while carrying the key and check that all the doors unlock.

        HINT: 

        To perform a wireless lock operation, press the lock button of the key while standing near the front door outside handle assembly.

      2. Inspect the entry unlock detection area. Hold the key at the same height as the front door outside handle assembly (approximately 0.8 m (2.62 ft.) from the ground) and approximately 0.7 m (2.30 ft.) from the vehicle as shown in the illustration and check that the LED (red) of the key blinks.
        Fig 1: Identifying Distance Of Electrical Key Transmitter From Door Handle
        GTY259235Courtesy of © TOYOTA, LICENSE AGREEMENT TMS1002
        TEXT IN ILLUSTRATION

        *a Approximately 0.7 m (2.30 ft.)

        HINT: 

        The outside mirror illumination turns on.

      3. With the system in unlock standby mode, hold the front door outside handle assembly and check that all the doors unlock.

        HINT: 

        • The system is in unlock standby mode when the key is in the detection area and the key ID code sent by the key matches the key ID code stored by the certification ECU.
        • Communication may not be possible if the key is within 0.2 m (0.66 ft.) of the front door outside handle assembly.
        • Inspect the front passenger side door using the same procedure.
        • For vehicles equipped with a seat memory system, the seat will automatically move to the memorized position when the door is opened. Refer to OPERATION CHECK [08/2013 - ] .
      4. Check the unlock response sensitivity. With the system in unlock standby mode, touch the area shown in the illustration and check that the door unlocks.
        NOTE:

        If the sensor is touched too quickly or released too slowly, the sensor may not react and the door will not unlock.

        Fig 2: Identifying Unlock Sensor
        GTY267640Courtesy of © TOYOTA, LICENSE AGREEMENT TMS1002
        TEXT IN ILLUSTRATION

        *1 Unlock Sensor (Backside)
    2. Check the entry lock function (driver side door, front passenger side door).
      NOTE:

      If the key is in the vehicle but outside the detection area (on the instrument panel, in the glove box, on the floor) and a door lock operation is performed, the key lock-in prevention function will not operate and the key will be locked inside the vehicle.

      1. With all the doors closed and unlocked, touch the lock sensor of the front door outside handle assembly of the driver side door while carrying the key and check that all the doors lock.
        Fig 3: Identifying Distance Of Electrical Key Transmitter From Door Handle
        GTY259235Courtesy of © TOYOTA, LICENSE AGREEMENT TMS1002
        TEXT IN ILLUSTRATION

        *a Approximately 0.3 m (0.98 ft.)
      2. Inspect the entry lock operating range. Hold the key approximately 0.1 m (0.33 ft.) below the bottom edge of the door glass (approximately 0.8 m (2.62 ft.) from the ground) and approximately 0.3 m (0.98 ft.) from the vehicle as shown in the illustration, touch the lock sensor and check that all the doors lock.
        Fig 4: Identifying Lock Sensor
        GTY262238Courtesy of © TOYOTA, LICENSE AGREEMENT TMS1002
        TEXT IN ILLUSTRATION

        *1 Lock Sensor

        HINT: 

        • As communication may not be possible if the key is within 0.2 m (0.66 ft.) of the front door outside handle assembly, the door may not lock if the lock sensor is touched with the same hand that is holding the key, etc.
        • If the key lock-in prevention function buzzer sounds, electric waves from the indoor electrical key antenna may be leaking from the vehicle.
        • Inspect the front passenger side door using the same procedure.
        • The door lock operation cannot be performed more than 2 times consecutively.
      3. After the system enters unlock standby mode, touch the unlock sensor on the outside handle within 3 seconds. Check that the door unlocks.
        NOTE:

        The key may not be able to communicate with the system within a 0.2 m (0.656 ft.) radius of each outside handle.

    3. Check the entry back door unlock function.
      1. Perform a wireless lock operation to lock all the doors, operate the unlock switch of the back door electrical key switch while carrying the key and check that all the doors unlock.
        Fig 5: Checking Entry Back Door Unlock Function
        GTY277364Courtesy of © TOYOTA, LICENSE AGREEMENT TMS1002
        TEXT IN ILLUSTRATION

        *1 Unlock Switch
        *a Approximately 0.7 m (2.30 ft.)
      2. Inspect the entry back door unlock operating range. While standing at the rear of the vehicle, hold the key so that it is facing the direction shown in the illustration at the same height as the back door electrical key switch and approximately 0.7 m (2.30 ft.) from the vehicle, press the unlock switch of the back door electrical key switch and check that all the doors unlock.
    4. Check the entry back door lock function.
      NOTE:

      If the key is inside the vehicle and a door lock operation is performed, it is possible that the key may be locked inside the vehicle.

      1. With all the doors closed and unlocked, press the lock switch of the back door electrical key switch while carrying the key outside of the vehicle and check that all the doors lock.
      2. Inspect the entry back door lock operating range. Hold the key so that it is facing the direction shown in the illustration at the same height as the top edge of the rear bumper and approximately 0.3 m (0.98 ft.) from the vehicle, press the lock of the back door electrical key switch and check that all the doors lock.
        Fig 6: Checking Entry Back Door Lock Function
        GTY277362Courtesy of © TOYOTA, LICENSE AGREEMENT TMS1002
        TEXT IN ILLUSTRATION

        *1 Lock Switch
        *a Approximately 0.3 m (0.98 ft.)

        HINT: 

        • Communication may not be possible if the key is within 0.2 m (0.66 ft.) of the rear bumper.
        • If the key lock-in prevention function buzzer sounds, electric waves from the indoor electrical key antenna assembly may be leaking from the vehicle.
    5. Check the entry glass hatch open function.
      1. With the glass hatch closed, press the glass hatch opener switch assembly while carrying the key and check that the glass hatch opens.
      2. Inspect the entry glass hatch open operating range. While standing at the rear of the vehicle, hold the key at the same height as the back door electrical key switch (approximately 0.9 m (2.95 ft.) from the ground) and approximately 0.7 m (2.30 ft.) from the vehicle as shown in the illustration, press the glass hatch opener switch assembly and check that the glass hatch opens.
        Fig 7: Checking Entry Glass Hatch Open Function
        GTY276745Courtesy of © TOYOTA, LICENSE AGREEMENT TMS1002
        TEXT IN ILLUSTRATION

        *1 Glass Hatch Opener Switch Assembly
        *a Approximately 0.7 m (2.30 ft.)
    6. Check the glass hatch key lock-in prevention function.
      1. With all the doors closed and locked, place the key inside the vehicle, close the glass hatch and check that the wireless door lock buzzer sounds for approximately 5 seconds. Then press the glass hatch opener switch assembly and check that the glass hatch opens.
        NOTE:

        In order to prevent the key from being locked inside the vehicle, remove the mechanical key before performing this procedure.

    7. Check the entry ignition function.
      1. With the engine switch off, move the shift lever to P, depress the brake pedal while carrying the key and check that the engine switch indicator illuminates in green. Then, with the engine switch indicator illuminated in green, press the engine switch and check that the engine starts.
      2. With the brake pedal released and the engine switch off, press the engine switch while carrying the key and check that the power source mode changes as follows: off → on (ACC) → on (IG) → off. However, if the shift lever is in any position other than P while the engine switch is on (IG), the power source mode will not change to off, but to on (ACC).
      3. Stop the vehicle, press the engine switch and check that the power source mode changes to off (the engine stops and all electrical systems are off). However, if the shift lever is in any position other than P, even if the engine switch is pressed while the vehicle is stationary, the power source mode will not change to off, but to on (ACC). Move the shift lever to P, open the door and check that the steering lock operates.
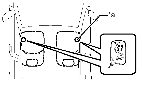
      4. Inspect the entry ignition operating range (front). Place the key on the front seat at either inspection point so that it is facing in the direction shown in the illustration and check that the engine can be started.
        Fig 8: Checking Entry Ignition Function
        GTY265745Courtesy of © TOYOTA, LICENSE AGREEMENT TMS1002
        TEXT IN ILLUSTRATION

        *a Inspection Point
        NOTE:
        • Even if the key is within the vehicle interior detection area, the key may not be properly detected if it is on the instrument panel, in the glove box, in the rear seat cup holder or on the floor.
        • Communication may not be possible if the key is within 0.2 m (0.66 ft.) of the shift lever.

        HINT: 

        Perform the inspection for both inspection points.

        NOTE:

        The engine control system cannot be started when the key is on the instrument panel or in the glove box.

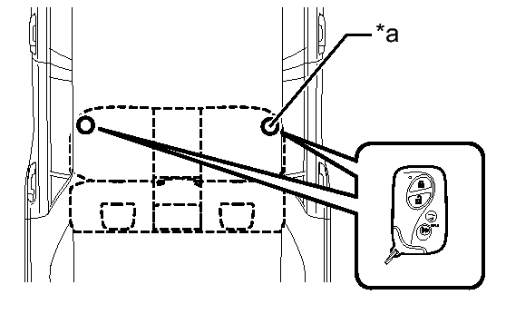
      5. Inspect the entry ignition operating range (rear). Place the key on the rear seat at either inspection point so that it is facing in the direction shown in the illustration and check that the engine can be started.
        Fig 9: Inspecting Entry Ignition Operating Range (Rear)
        GTY263694Courtesy of © TOYOTA, LICENSE AGREEMENT TMS1002
        TEXT IN ILLUSTRATION

        *a Inspection Point
        NOTE:
        • Even if the key is within the vehicle interior detection area, the key may not be properly detected if it is on the instrument panel, in the glove box, in the rear seat cup holder or on the floor.
        • Communication may not be possible if the key is within 0.2 m (0.66 ft.) of the center of the rear seat cushion.

        HINT: 

        Perform the inspection for both inspection points.

      6. Inspect the entry ignition operating range (luggage). Place the key at either inspection point and check that the engine can be started.
        Fig 10: Inspecting Entry Ignition Operating Range (Luggage)
        GTY281590Courtesy of © TOYOTA, LICENSE AGREEMENT TMS1002
        TEXT IN ILLUSTRATION

        *A w/ Rear No. 2 Seat Assembly
        *B w/o Rear No. 2 Seat Assembly
        *a Inspection Point
        NOTE:
        • Even if the key is within the vehicle interior detection area, the key may not be properly detected if it is on the instrument panel, in the glove box, in the rear seat cup holder or on the floor.
        • Communication may not be possible if the key is within 0.2 m (0.66 ft.) of the center of the luggage compartment.

        HINT: 

        Perform the inspection for both inspection points.

    8. Check the key lock-in prevention function (vehicle interior).
      NOTE:

      In order to prevent the key from being locked inside the vehicle, perform this inspection with the window of a door open.

      1. Turn the engine switch off.
      2. Place the key on a front or rear seat.
      3. Close all the doors, but make sure all the doors are unlocked.
      4. Touch a front door lock sensor and check that the doors do not lock and the key lock-in prevention function buzzer (external) sounds for approximately 5 seconds.
    9. Check the entry cancel function.
      1. Cancel the smart access system with push-button start and check that all the functions of the smart access system with push-button start (for Entry Function) no longer operate.

        HINT: 

        • Refer to the following procedures to cancel the smart access system with push-button start (for Entry Function). Refer to CUSTOMIZE PARAMETERS [08/2013 - ] .
        • While the smart access system with push-button start is canceled, it is possible to lock and unlock the doors with the wireless operation, and the start system can be operated by holding the key against the engine switch.
      2. While the key cancel function (entry cancel function) is on, check that all functions of the smart access system with push-button start cannot be operated.
    10. Check the answer-back function (hazard warning light flashing and buzzer sounding).
      Entry Operation Wireless Buzzer Hazard Warning Light
      Entry Door Lock Sounds once Flashes once
      Entry Door Unlock Sounds twice Flashes twice
      Entry Back Door Lock Sounds once Flashes once
      Entry Back Door Unlock Sounds twice Flashes twice
  2. KEY DIAGNOSTIC MODE (Using Techstream) 

    HINT: 

    With key diagnostic mode, it is possible to check if the key is operating properly with the selected electrical key antenna and within the selected detection area by the sounding of the wireless buzzer.

    1. Enter the following menus: Body Electrical / Smart Access / Utility / Key Communication Check.
    2. Select a part to inspect from the following table.
      Tester Display Inspection Range
      Overhead + Driver Side*1 Front door outside handle assembly LH (electrical key antenna) [for Driver Side]
      Overhead + Passenger Side*2 Front door outside handle assembly RH (electrical key antenna) [for Front Passenger Side]
      Overhead + Front Room*3 Indoor No. 1 electrical key antenna assembly (front floor)
      Overhead + Rear Room*4 Indoor No. 2 electrical key antenna assembly (rear floor)
      Overhead + Back Door (inside)*5 Indoor No. 3 electrical key antenna (inside luggage)
      Overhead + Back Door*6 Electrical key antenna (outside luggage)
    3. Bring the key near the selected electrical key antenna and check that the wireless door lock buzzer sounds.

      HINT: 

      The buzzer sounds in short, repeated beeps for all items except "Overhead + Rear Room"*4. For "Overhead + Rear Room"*4, the buzzer sounds in one long, continuous beep.

      1. *1: Front door outside handle assembly LH (electrical key antenna) [for Driver Side]
        Fig 11: Identifying Distance Of Electrical Key Transmitter From Door Handle
        GTY259235Courtesy of © TOYOTA, LICENSE AGREEMENT TMS1002
        TEXT IN ILLUSTRATION

        *a Approximately 0.7 m (2.30 ft.)

        HINT: 

        • Hold the key at the same height as the front door outside handle assembly (approximately 0.8 m (2.62 ft.) from the ground) in the position shown in the illustration.
        • *2: Perform the same inspection for the front passenger side.
    4. *3: Indoor No. 1 electrical key antenna assembly (front floor)
      Fig 12: Checking Entry Ignition Function
      GTY265745Courtesy of © TOYOTA, LICENSE AGREEMENT TMS1002
      TEXT IN ILLUSTRATION

      *a Inspection Point

      HINT: 

      Place the key on the front seat cushion of the driver seat or front passenger seat.

    5. *4: Indoor No. 2 electrical key antenna assembly (rear floor)
      Fig 13: Inspecting Entry Ignition Operating Range (Rear)
      GTY263694Courtesy of © TOYOTA, LICENSE AGREEMENT TMS1002
      TEXT IN ILLUSTRATION

      *a Inspection Point

      HINT: 

      Place the key on the rear seat cushion.

    6. *5: Indoor No. 3 electrical key antenna (inside luggage)
      Fig 14: Inspecting Entry Ignition Operating Range (Luggage)
      GTY281590Courtesy of © TOYOTA, LICENSE AGREEMENT TMS1002
      TEXT IN ILLUSTRATION

      *A w/ Rear No. 2 Seat Assembly
      *B w/o Rear No. 2 Seat Assembly
      *a Inspection Point

      HINT: 

      Place the key in the luggage compartment. Even if the key is in the luggage compartment, the buzzer may not sound.

    7. *6: Electrical key antenna (outside luggage)
      Fig 15: Identifying Electrical Key Transmitter Distance From Bumper
      GTY259220Courtesy of © TOYOTA, LICENSE AGREEMENT TMS1002
      TEXT IN ILLUSTRATION

      *a Approximately 0.7 m (2.30 ft.)

      HINT: 

      While standing at the rear of the vehicle, hold the key in the position shown in the illustration at the same height as the top edge of the rear bumper.