LEMON Manuals: Even more car manuals for everyone: 1960-2025
Home >> Lexus >> 2014 >> GX 460 Base >> Repair and Diagnosis >> Engine Performance >> System >> Engine Control System (Diagnostic Codes (P2120-P2610) & Circuit Tests) >> SFI System >> Circuit Tests >> EVAP System [08/2013 - ] >> Description
April 5, 2026: LEMON Manuals is launched! Read the announcement.

EVAP System [08/2013 - ]: Description

Fig 1: Identifying EVAP System Components
GTY277775Courtesy of © TOYOTA, LICENSE AGREEMENT TMS1002
TEXT IN ILLUSTRATION

*1 Purge VSV *2 EVAP Hose (to Intake Manifold)
*3 EVAP Hose (from Canister) *4 Purge Line
*5 Fuel Tank *6 Canister
*7 Canister Pump Module
- Canister Pressure Sensor
- Leak Detection Pump
- Vent Valve
*8 Bleeding Pipe
*9 Air Filter *10 Fuel Tank Cap Assembly
*11 Air Inlet Port - -
*a Location of EVAP (Evaporative Emission) System - -
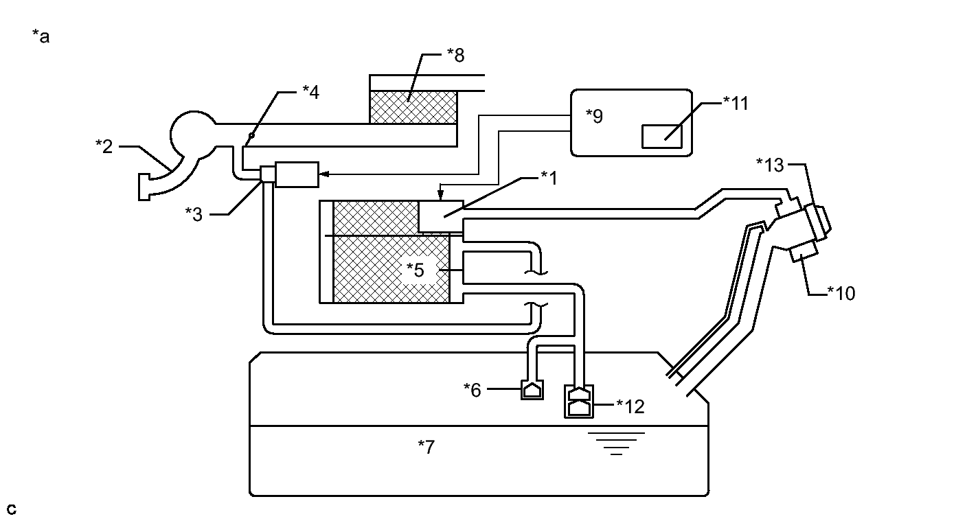
Fig 2: EVAP System Diagram
GTY229279Courtesy of © TOYOTA, LICENSE AGREEMENT TMS1002
TEXT IN ILLUSTRATION

*1 Canister Pump Module *2 Intake Manifold
*3 Purge VSV *4 Throttle Valve
*5 Canister *6 Cut-off Valve
*7 Fuel Tank *8 Air Cleaner
*9 ECM *10 Canister Filter
*11 Soak Timer *12 Roll-over Valve
*13 Fuel Tank Cap Assembly - -
*a EVAP System Circuit - -
NOTE:

In this vehicle's EVAP system, turning ON the vent valve does not seal off the EVAP system. To check for leaks in the EVAP system, disconnect the air inlet vent hose and apply pressure from the atmospheric side of the canister.

While the engine is running, if a predetermined condition (closed-loop, etc.) is met, the purge VSV is opened by the ECM and stored fuel vapors in the canister are purged into the intake manifold. The ECM changes the duty cycle ratio of the purge VSV to control purge flow volume.

The purge flow volume is also determined by the intake manifold pressure. Atmospheric pressure is allowed into the canister through the vent valve to ensure that the purge flow is maintained when the negative pressure (vacuum) is applied to the canister.

The following two monitors run to confirm the appropriate EVAP system operation.

  1. Key-off monitor 

    This monitor checks for EVAP (Evaporative Emission) system leaks and canister pump module malfunctions. The monitor starts 5 hours* after the engine switch is turned off. At least 5 hours are required for the fuel to cool down to stabilize the EVAP pressure, thus making the EVAP system monitor more accurate.

    The leak detection pump creates negative pressure (vacuum) in the EVAP system and the pressure is measured. Finally, the ECM monitors for leaks from the EVAP system, and malfunctions in both the canister pump module and purge VSV based on the EVAP pressure.

    HINT: 

    *: If the engine coolant temperature is not below 35°C (95°F) 5 hours after the engine switch is turned off, the monitor check starts 2 hours later. If it is still not below 35°C (95°F) 7 hours after the engine switch is turned off, the monitor check starts 2.5 hours later.

  2. Purge flow monitor 

    The purge flow monitor consists of 2 monitors. The 1st monitor is conducted every time and the 2nd monitor is activated if necessary.

    • The 1st monitor

      While the engine is running and the purge VSV (Vacuum Switching Valve) is ON (open), the ECM monitors the purge flow by measuring the EVAP pressure change. If negative pressure is not created, the ECM begins the 2nd monitor.

    • The 2nd monitor

      The vent valve is turned ON (closed) and the EVAP pressure is measured. If the variation in the pressure is less than 0.15 kPa-g (1.13 mmHg-g), the ECM interprets this as the purge VSV being stuck closed, and illuminates the MIL and stores DTC P0441 (2 trip detection logic).

    Atmospheric pressure check:

    In order to ensure reliable malfunction detection, the variation between the atmospheric pressures before and after conduction of the purge flow monitor is measured by the ECM.

    Fig 3: Purge Flow Diagram
    GTY213870Courtesy of © TOYOTA, LICENSE AGREEMENT TMS1002
    TEXT IN ILLUSTRATION

    *1 Canister *2 to Intake Manifold
    *3 ECM *4 Soak Timer
    *5 Purge VSV (On) *6 Fuel Tank Cap Assembly
    *7 Canister Filter *8 Fuel Tank
    *9 Leak Detection Pump (Off) *10 Canister Pressure Sensor
    *11 Reference Orifice (0.02 Inches) *12 Vent Valve (Off)
    *13 Canister Pump Module - -
    *a EVAP Purge Flow - -
    Component Operation
    Canister Contains activated charcoal to absorb EVAP (Evaporative Emissions) generated in fuel tank.
    Cut-off valve Located in fuel tank. Valve floats and closes when fuel tank 100% full.
    Purge VSV (Vacuum Switching Valve) Opens or closes line between canister and intake manifold. ECM uses purge VSV to control EVAP purge flow. In order to discharge EVAP absorbed by canister to intake manifold, ECM opens purge VSV. EVAP discharge volume to intake manifold controlled by purge VSV duty cycle ratio (current-carrying time) (Open: ON; Closed: OFF).
    Roll-over valve Located in fuel tank. Valve closed by its own weight when vehicle overturns to prevent fuel from spilling out.
    Soak timer Built into ECM. To ensure accurate EVAP monitor, measures 5 hours (+/-15 min) after engine switch turned off. This allows fuel to cool down, stabilizing EVAP pressure. When approximately 5 hours elapsed, ECM activates (refer to fig. 3).
    Canister pump module Consists of (a) to (d) below. Canister pump module cannot be disassembled.
    (a) Vent valve Vents and closes EVAP system. When ECM turns valve ON, EVAP system closed. When ECM turns valve OFF, EVAP system vented. Negative pressure (vacuum) created in EVAP system to check for EVAP leaks by closing purge VSV, turning on vent valve (closed) and operating leak detection pump (refer to fig. 1).
    (b) Canister pressure sensor Indicates pressure as voltages. ECM supplies regulated 5 V to canister pressure sensor, and uses feedback from sensor to monitor EVAP system pressure (refer to fig. 2).
    (c) Leak detection pump Creates negative pressure (vacuum) in EVAP system for leak check.
    (d) Reference orifice Has opening with 0.02 inch diameter. Vacuum produced through orifice by closing purge VSV, turning off vent valve and operating leak detection pump to monitor reference pressure. Reference pressure indicates small leak of EVAP.
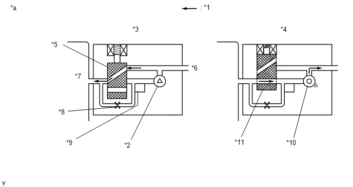
    Fig 4: Canister Pump Module Flow Diagram
    GTY236286Courtesy of © TOYOTA, LICENSE AGREEMENT TMS1002
    TEXT IN ILLUSTRATION

    *1 Airflow *2 Leak Detection Pump: Off
    *3 Condition: Purge Flow *4 Condition: Leak Check
    *5 Vent Valve: Off (Vent) *6 to Canister Filter (Atmosphere)
    *7 Canister *8 Reference Orifice (0.02 Inches)
    *9 Canister Pressure Sensor *10 Leak Detection Pump: On
    *11 Vent Valve: On (Closed) - -
    *a Canister Pump Module (fig. 1) - -
    Fig 5: Canister Sensor Pressure Specification Graph
    GTY320219Courtesy of © TOYOTA, LICENSE AGREEMENT TMS1002
    Fig 6: Soak Timer Circuit Diagram
    GTY470693Courtesy of © TOYOTA, LICENSE AGREEMENT TMS1002