LEMON Manuals: Even more car manuals for everyone: 1960-2025
Home >> Lexus >> 2014 >> LS 600h >> Repair and Diagnosis >> Accessories & Equipment >> Infotainment >> Navigation System (Diagnostics - Introduction) >> Navigation System >> Operation Check [09/2013 - ] >> Operation Check [09/2013 - ]
April 5, 2026: LEMON Manuals is launched! Read the announcement.

Operation Check [09/2013 - ]

  1. CHECK SYSTEM NORMAL CONDITION 
    1. If the symptom is applicable to any of the following, it is intended behavior, and not a malfunction.
      Symptom Answer
      A longer route than expected is chosen. Depending on the road conditions, the multi-media module receiver assembly may determine that a longer route is quicker.
      Even when distance priority is high, the shortest route is not shown. Some routes may not be advised due to safety concerns.
      When the vehicle is put into motion immediately after the hybrid system starts, the navigation system deviates from the correct position. If the vehicle starts before the navigation system activates, the system may not react.
      When driving on certain types of roads, especially new roads, the vehicle position deviates from the correct position. When the vehicle is driving on new roads not available on the map data from the hard disc, the system attempts to match it to another nearby road, causing the position mark to deviate.
    2. The following symptoms are not malfunctions, but are caused by errors inherent in the GPS, gyro sensor, speed sensor or multi-media module receiver assembly.
      1. The current position mark may be displayed on a nearby parallel road.
        Fig 1: Current Position Mark May Be Displayed On Nearby Parallel Road
        GTY108749Courtesy of © TOYOTA, LICENSE AGREEMENT TMS1002
      2. Immediately after a fork in the road, the current vehicle position mark may be displayed on the wrong road.
        Fig 2: Immediately After Fork In Road, Current Vehicle Position Mark May Be Displayed On Wrong Road
        GTY100315Courtesy of © TOYOTA, LICENSE AGREEMENT TMS1002
      3. When the vehicle turns right or left at an intersection, the current vehicle position mark may be displayed on a nearby parallel road.
        Fig 3: When Vehicle Turns Right Or Left At An Intersection, Current Position Mark May Be Displayed On Nearby Parallel Road
        GTY108750Courtesy of © TOYOTA, LICENSE AGREEMENT TMS1002
      4. When the vehicle is carried, such as on a ferry, and the vehicle itself is not driving, the current vehicle position mark may be displayed in the position where the vehicle was until a measurement can be performed by the GPS.
        Fig 4: When Vehicle Is Carried, Such As On Ferry, And Vehicle Itself Is Not Driving, Current Vehicle Position Mark May Be Displayed In Position Where Vehicle Was Previously
        GTY108751Courtesy of © TOYOTA, LICENSE AGREEMENT TMS1002
      5. When the vehicle travels on a steep hill, the current vehicle position mark may deviate from the correct position.
        Fig 5: When Vehicle Runs On Steep Hill, Current Vehicle Position Mark May Deviate From Correct Position
        GTY100324Courtesy of © TOYOTA, LICENSE AGREEMENT TMS1002
      6. When the vehicle makes a continuous turn (e.g. 360, 720, 1080 degrees), the current vehicle position mark may deviate from the correct position.
        Fig 6: When Vehicle Makes A Continuous Turn, Vehicle Position Mark May Deviate From The Correct Position
        GTY108752Courtesy of © TOYOTA, LICENSE AGREEMENT TMS1002
      7. When the vehicle moves erratically, such as constant lane changes, the current vehicle position mark may deviate from the correct position.
        Fig 7: When Vehicle Moves Erratically, Current Vehicle Position Mark May Deviate From Correct Position
        GTY100321Courtesy of © TOYOTA, LICENSE AGREEMENT TMS1002
      8. When the power switch is turned on (ACC or IG) on a turntable before parking, the current vehicle position mark may not indicate the correct direction. The same will occur when the vehicle comes out of the parking garage.
        Fig 8: When Power Switch Is Turned On (ACC Or IG) On A Turntable Before Parking, Current Vehicle Position Mark May Not Indicate Correct Direction
        GTY150098Courtesy of © TOYOTA, LICENSE AGREEMENT TMS1002
      9. When the vehicle travels on a snowy road or a mountain path with tire chains installed or using a spare tire, the current vehicle position mark may deviate from the correct position.
        Fig 9: When Vehicle Travels On Snowy Road Or Mountain Path, Current Vehicle Position Mark May Deviate From Correct Position
        GTY108753Courtesy of © TOYOTA, LICENSE AGREEMENT TMS1002
      10. When the tires are changed, the current vehicle position mark may deviate from the correct position.
        Fig 10: When Tires Are Changed, Current Vehicle Position Mark May Deviate From Correct Position
        GTY108754Courtesy of © TOYOTA, LICENSE AGREEMENT TMS1002

        HINT: 

        • A change in tire diameter may cause a speed sensor error.
        • Performing "tire change" in calibration mode will allow the system to correct the current vehicle position faster.
  2. REMOTE TOUCH INITIAL CHECK 
    NOTE:
    • Before performing the initial check, check that there are no foreign objects that will interfere with remote touch switch knob operation and that the knob is not stuck.
    • To avoid interruption of remote touch switch knob operation, do not touch the knob during the initial check.

    HINT: 

    The remote touch performs initialization of its knob position at the time the vehicle is started and turned off.

    1. Move the remote touch switch knob to a position other than the center and turn the power switch on (ACC).
    2. Check that the remote touch switch knob moves automatically to the center of the movable area.

      HINT: 

      • Initialization of the remote touch switch knob position is complete when the knob moves to the center of the movable area.
      • If remote touch switch knob position initialization fails, remote touch switch knob operation and pointer movement on the screen will not match.
      • If the remote touch switch knob does not move to the center of the movable area within 10 seconds because of foreign objects or the knob being stuck, the remote touch will stop operating.
      • When the foreign object is removed or the remote touch switch knob is freed, and the knob position changes, the knob moves to the center of the movable area and completes its initialization.
      • The remote touch will repeatedly try to initialize itself until initialization has been completed, except when a built-in motor has a malfunction.
    3. Move the remote touch switch knob to a position other than the center and turn the power switch off.
    4. Check that the remote touch switch knob automatically moves to the center of the movable area.

      HINT: 

      • Initialization of the remote touch switch knob position is complete when the knob moves to the center of the movable area.
      • If the remote touch switch knob does not move to the center of the movable area within 3 seconds because of foreign objects or the knob being stuck, the remote touch will stop operating. In this case, initialization of the knob position will not complete.
  3. REMOTE TOUCH SELF CHECK 
    NOTE:
    • Before performing the remote touch self check, check that there are no foreign objects that would interfere with remote touch switch knob operation and that the knob is not stuck.
    • To avoid interruption of remote touch switch knob operation, do not touch the knob unless instructed in the steps.

    HINT: 

    The following checks can be done via the self check:

    • DTC check for the remote touch
    • Switch illumination check
    • Remote touch switch knob position recognition check
    • Switch operation check
    • Remote touch switch knob feedback force check
    1. Activate Self Check Mode
      Fig 11: Activating Self Check Mode
      GTY401075Courtesy of © TOYOTA, LICENSE AGREEMENT TMS1002
      1. Turn the light control switch in the tail position.
      2. Turn the power switch on (ACC) with the switch knob and down seesaw switch pressed to activate self check mode.
        TEXT IN ILLUSTRATION

        *a Seesaw Switch "Down"
        *b Switch Knob
    2. Switch Illumination Check and DTC Check
      1. Check that the remote touch switch knob automatically moves to the center of the movable area and that the "MAP/VOICE" and "MENU" switch illumination blinks.
        Fig 12: Identifying Switch Illumination And Switch Knob
        GTY406314Courtesy of © TOYOTA, LICENSE AGREEMENT TMS1002

        HINT: 

        • When DTCs are stored as a present DTC during self check, the "MAP/VOICE" and "MENU" switch illumination blinks at 0.5-second intervals. The illumination will continue to blink until the self check is completed.
        • The switch illumination stops blinking only when the factor that caused the remote touch switch knob malfunction disappears, allowing the knob to automatically move to the center of the movable area.
        TEXT IN ILLUSTRATION

        *a Switch Illumination
        *b Switch Knob
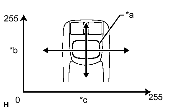
    3. Remote Touch Switch Knob Position Recognition Check
      Fig 13: Identifying Remote Touch Switch Knob Position Recognition Chart
      GTY396982Courtesy of © TOYOTA, LICENSE AGREEMENT TMS1002
      1. Move the remote touch switch knob up, down, right and left to check that the brightness of the "MAP/VOICE" and "MENU" switch illumination changes.

        HINT: 

        • If the brightness changes according to remote touch switch knob operation, the knob position is being recognized normally.
        • The brightness of the switch illumination changes between 0 and 100% according to the coordinates of the remote touch switch knob.
        • The coordinates of the remote touch switch knob change between 0 and 255 for both the lateral and longitudinal axes.
        • When the coordinates of both the lateral and longitudinal axes of the remote touch switch knob are 0, the brightness of the switch illumination becomes 0% (the lights will be off), and when the coordinates of both axes of the knob are 255, the brightness of the switch illumination becomes 100% (the switch lights will be on at full brightness).
        TEXT IN ILLUSTRATION

        *a Switch Knob
        *b Longitudinal Axis
        *c Lateral Axis
    4. Switch Operation Check
      1. With the remote touch switch knob in the lower left position, check that pressing each switch on the remote touch turns on the "MAP/VOICE" and "MENU" switch illumination at 100% brightness.

        HINT: 

        If the "MAP/VOICE" and "MENU" switch illumination turn on when a switch is pressed, the switch being pressed is operating normally.

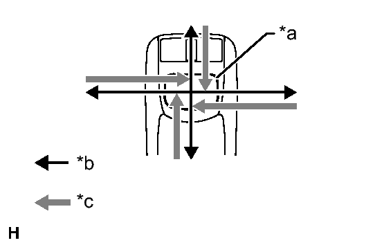
    5. Remote Touch Switch Knob Feedback Force Check
      Fig 14: Remote Touch Switch Knob Feedback Force Check
      GTY404289Courtesy of © TOYOTA, LICENSE AGREEMENT TMS1002
      1. Move the remote touch switch knob up, down, right and left to check that feedback force is generated.

        HINT: 

        The motors built into the remote touch generate feedback force according to the direction in which the remote touch switch knob is moved.

        TEXT IN ILLUSTRATION

        *a Switch Knob
        *b Movement Direction
        *c Feedback Force
      2. Move the pointer on the screen by operating the remote touch switch knob and check that the feedback force of the knob changes according to the screen being displayed and the pointer position.

        HINT: 

        • Refer to Remote Touch Outline for further information on remote touch switch knob feedback force generated according to the screen being displayed and the pointer position. Refer to SYSTEM DESCRIPTION [09/2013 - ] .
        • When the feedback force of the remote touch switch knob changes according to the screen being displayed and the pointer position, it means that the remote touch is receiving feedback force request signals from the multi-media module receiver assembly.
        • When the remote touch cannot receive feedback force request signals from the multi-media module receiver assembly, the remote touch generates feedback force according to the default feedback force image recorded in the remote touch (remote operation board).
          Fig 15: Identifying Default Feedback Force Image
          GTY414323Courtesy of © TOYOTA, LICENSE AGREEMENT TMS1002
    6. Finish Self Check Mode
      1. Turn the power switch off to finish self check mode.
        TEXT IN ILLUSTRATION

        *a Default Feedback Force Image
        *b Frame Area
        *c Icon Area
  4. CHECK HARD DISC 

    HINT: 

    • Check the hard disc built into the multi-media module receiver assembly.
    • Illustrations may differ from the actual vehicle screen depending on the device settings and options. Therefore, some detailed areas may not be shown exactly the same as on the actual vehicle screen.
    1. Enter diagnostic mode. Refer to DTC CHECK / CLEAR [09/2013 - ] .
    2. Select "Failure Diagnosis" from the "Service Menu" screen.
      Fig 16: Identifying Service Menu Screen Display
      GTY320256Courtesy of © TOYOTA, LICENSE AGREEMENT TMS1002
    3. Select "HDD Check" from the "Failure Diagnosis" screen.
      Fig 17: Identifying HDD Check On Screen Display
      GTY319832Courtesy of © TOYOTA, LICENSE AGREEMENT TMS1002
    4. HDD check
      Fig 18: Identifying OK On HDD Check Screen Display
      GTY322845Courtesy of © TOYOTA, LICENSE AGREEMENT TMS1002
      1. Select "HDD Check" to start the HDD check.
      2. Check that the result is displayed when the HDD check is completed.
        SCREEN DESCRIPTION

        Result Description
        Checking While the check is in progress
        OK Hard disc is normal
        NG Hard disc is malfunctioning
        TEXT IN ILLUSTRATION

        *a Result

        HINT: 

        • After selecting "HDD Check", it may take a while until the result is displayed.
        • If the cabin temperature is -20°C (-4°F) or lower, or 65°C (149°F) or higher, the HDD may not operate normally, and "NG" may be shown on the display. Make sure to perform the inspection with the cabin at an appropriate temperature.
        • If "NG" is displayed even when the cabin temperature is appropriate, replace the hard disc with a new one.
  5. CHECK PANEL & STEERING SWITCH 

    HINT: 

    • The multi-media module receiver assembly panel switches, remote touch push switches and steering switch are checked in the following procedure.
    • Illustrations may differ from the actual vehicle screen depending on the device settings and options. Therefore, some detailed areas may not be shown exactly the same as on the actual vehicle screen.
    1. Enter diagnostic mode. Refer to DTC CHECK / CLEAR [09/2013 - ] .
    2. Select "Function Check/Setting" from the "Service Menu" screen.
      Fig 19: identifying Function Check/Setting On Service Menu Screen Display
      GTY318658Courtesy of © TOYOTA, LICENSE AGREEMENT TMS1002
    3. Select "Panel&Steering Switch" from the "Function Check/Setting I" screen.
      Fig 20: Identifying Panel & Steering Switch On Function Check/Setting I Screen Display
      GTY401592Courtesy of © TOYOTA, LICENSE AGREEMENT TMS1002
    4. Panel&Steering Switch Check Mode
      Fig 21: Identifying Panel & Steering Switch Check Mode Screen Display
      GTY320716Courtesy of © TOYOTA, LICENSE AGREEMENT TMS1002
      SCREEN DESCRIPTION

      Display Content
      *a: Switch condition "Pushed" is displayed when any switch is pushed
      *b: Number of switches pushed
      • Number of switches pushed at once is displayed
      • If more than 3 switches are pushed at once, "More than 3" is displayed
      *c: Rotary switch direction Direction of rotary switch is displayed
      1. Operate each switch and check that the switch conditions are correctly displayed.
        NOTE:

        When the "SETUP" switch is pressed and held for 3 seconds or more, diagnostic mode will be canceled.

  6. CHECK REMOTE TOUCH SWITCH 

    HINT: 

    • The remote touch switch knob is checked in the following procedure.
    • Illustrations may differ from the actual vehicle screen depending on the device settings and options. Therefore, some detailed areas may not be shown exactly the same as on the actual vehicle screen.
    1. Enter diagnostic mode. Refer to DTC CHECK / CLEAR [09/2013 - ] .
    2. Select "Function Check/Setting" from the "Service Menu" screen.
      Fig 22: Identifying Function Check/Setting On Service Menu Screen Display
      GTY318658Courtesy of © TOYOTA, LICENSE AGREEMENT TMS1002
    3. Select "Remote Touch Switch" from the "Function Check/Setting I" screen.
      Fig 23: Identifying Remote Touch Switch On Function Check/Setting I Screen Display
      GTY401742Courtesy of © TOYOTA, LICENSE AGREEMENT TMS1002
    4. "Remote Touch Switch Check" for main screen.
      Fig 24: Identifying Remote Touch Switch Check Screen Display
      GTY402943Courtesy of © TOYOTA, LICENSE AGREEMENT TMS1002
      SCREEN DESCRIPTION

      Display Content
      *a: Cursor Displayed at the location where the pointer is located when the switch knob on the remote touch is pressed.
      *b: Coordinates
      • Displays the coordinates
      • "X" and "Y" indicate the lateral and longitudinal axes
      • Coordinates are displayed by numbers between 0 and 255 for each axis starting from the lower left of the screen
      1. While "Remote Touch Switch Check" is displayed, move the pointer to any blank area of the screen using the remote touch switch knob, and press the switch knob.

        HINT: 

        • The cursor is displayed at the pointer position while the switch knob is pressed.
        • Once the cursor is displayed, the coordinates will be displayed.
        • Even though the pointer is moved, the cursor will remain at the position where the pointer was when the switch knob was pressed.
      2. Move the pointer using the remote touch switch knob and press the switch knob again. When the location of the cursor is changed with the switch knob held, check that the coordinate values "X" and "Y" change between 0 and 255.
    5. "Remote Touch Switch Check" for sub screen.
      Fig 25: Identifying Remote Touch Switch Check Sub Screen Display
      GTY419186Courtesy of © TOYOTA, LICENSE AGREEMENT TMS1002
      SCREEN DESCRIPTION

      Display Content
      *a: Cursor Displayed at the location where the pointer is located when the switch knob on the remote touch is pressed.
      *b: Coordinates
      • Displays the coordinates
      • "X" and "Y" indicate the lateral and longitudinal axes
      • Coordinates are displayed by numbers between 102 and 255 for horizontal axis and between 0 and 255 for vertical axis starting from the lower left of the screen
      1. While "Remote Touch Switch Check" is displayed, move the pointer to any blank area of the screen using the remote touch switch knob, and press the switch knob.

        HINT: 

        • The cursor is displayed at the pointer position while the switch knob is pressed.
        • Once the cursor is displayed, the coordinates will be displayed.
        • Even though the pointer is moved, the cursor will remain at the position where the pointer was when the switch knob was pressed.
      2. Move the pointer using the remote touch switch knob and press the switch knob again. When the location of the cursor is changed with the switch knob held, check that the coordinate values "X" change between 102 and 255 and "Y" change between 0 and 255.
    6. "Remote Touch Switch Check" for full screen.
      1. Select the "Full Screen" button on the sub screen.
        Fig 26: Identifying Remote Touch Switch Check Full Screen Display
        GTY410289Courtesy of © TOYOTA, LICENSE AGREEMENT TMS1002
      2. While "Remote Touch Switch Check" is displayed, move the pointer to any blank area of the screen using the remote touch switch knob, and press the switch knob.
        Fig 27: Identifying Remote Touch Switch Check Screen Display Pointer
        GTY409668Courtesy of © TOYOTA, LICENSE AGREEMENT TMS1002
        SCREEN DESCRIPTION

        Display Content
        *a: Cursor Displayed at the location where the pointer is located when the switch knob on the remote touch is pressed.
        *b: Coordinates
        • Displays the coordinates
        • "X" and "Y" indicate the lateral and longitudinal axes
        • Coordinates are displayed by numbers between 0 and 255 for each axis starting from the lower left of the screen

        HINT: 

        • The cursor is displayed at the pointer position while the switch knob is pressed.
        • Once the cursor is displayed, the coordinates will be displayed.
        • Even though the pointer is moved, the cursor will remain at the position where the pointer was when the switch knob was pressed.
      3. Move the pointer using the remote touch switch knob and press the switch knob again. When the location of the cursor is changed with the switch knob held, check that the coordinate values "X" change between 102 and 255 and "Y" change between 0 and 255.
  7. CHECK MIC & VOICE RECOGNITION 

    HINT: 

    • The microphone and microphone input level are checked in the following procedure.
    • Illustrations may differ from the actual vehicle screen depending on the device settings and options. Therefore, some detailed areas may not be shown exactly the same as on the actual vehicle screen.
    1. Enter diagnostic mode. Refer to DTC CHECK / CLEAR [09/2013 - ] .
    2. Select "Function Check/Setting" from the "Service Menu" screen.
      Fig 28: Identifying Function Check/Setting I On Service Menu Screen Display
      GTY318658Courtesy of © TOYOTA, LICENSE AGREEMENT TMS1002
    3. Select "Mic&Voice Recognition" from the "Function Check/Setting I" screen.
      Fig 29: Identifying Mic & Voice Recognition On Function Check/Setting I Screen Display
      GTY401922Courtesy of © TOYOTA, LICENSE AGREEMENT TMS1002
    4. Microphone&Voice Recognition Check
      Fig 30: Identifying Microphone & Voice Recognition Check Screen Display
      GTY316403Courtesy of © TOYOTA, LICENSE AGREEMENT TMS1002
      SCREEN DESCRIPTION

      Display Content
      *a: Microphone input level meter Monitors the microphone input level every 0.1 seconds and displays the results in 8 different levels.
      *b: Recording switch Starts recording.
      *c: Stop switch Stops recording and playing.
      *d: Play switch Plays the recorded voice.
      *e: Recording indicator Comes on while recording.
      1. When speaking into the microphone, check that the microphone input level meter changes according to the input level.
      2. Select the recording switch and perform voice recording.

        HINT: 

        Select the recording switch with the blower motor of the air conditioning system stopped. If an outlet of the air conditioning system is facing the microphone, noise may be recorded.

      3. Check that the recording indicator remains on while recording and that the recording can be played normally.

        HINT: 

        • For details of this function, refer to Diagnosis Display Detailed Description in System Description. Refer to SYSTEM DESCRIPTION [09/2013 - ] .
        • This function is controlled by the multi-media module receiver assembly (built-in navigation ECU).
  8. CHECK COLOR BAR 

    HINT: 

    • The display color on the screen is checked in the following procedure.
    • Illustrations may differ from the actual vehicle screen depending on the device settings and options. Therefore, some detailed areas may not be shown exactly the same as on the actual vehicle screen.
    1. Enter diagnostic mode. Refer to DTC CHECK / CLEAR [09/2013 - ] .
    2. Select "Function Check/Setting" from the "Service Menu" screen.
      Fig 31: Identifying Function Check/Setting On Service Menu Screen Display
      GTY318658Courtesy of © TOYOTA, LICENSE AGREEMENT TMS1002
    3. Select "Color Bar" from the "Function Check/Setting I" screen.
      Fig 32: Identifying Color Bar On Function Check/Setting I Screen Display
      GTY402030Courtesy of © TOYOTA, LICENSE AGREEMENT TMS1002
    4. "Color Bar Check Mode" for main screen.
      1. Select a color bar from the "Color Bar Check Mode" screen.
        Fig 33: Identifying Color Bar Check Mode Screen Display
        GTY379877Courtesy of © TOYOTA, LICENSE AGREEMENT TMS1002
      2. Check the display color.

        HINT: 

        • The entire screen turns to the color or stripe selected.
        • Touching the display will return to the "Color Bar Check Mode" screen.
    5. "Color Bar Check Mode" for full screen.
      1. Select the "Full Screen" button on the sub screen.
        Fig 34: Identifying Full Screen On Color Bar Check Mode Screen Display
        GTY403911Courtesy of © TOYOTA, LICENSE AGREEMENT TMS1002
      2. Select a color bar from the "Color Bar Check Mode" screen.
        Fig 35: Identifying Color Bar Check Mode Screen Display
        GTY414366Courtesy of © TOYOTA, LICENSE AGREEMENT TMS1002
      3. Check the display color.

        HINT: 

        • The entire screen turns to the color or stripe selected.
        • Touching the display will return to the "Color Bar Check Mode" screen.
  9. CHECK GPS & VEHICLE SENSORS 

    HINT: 

    • GPS information, vehicle signals and sensor signals are checked in the following procedure.
    • Illustrations may differ from the actual vehicle screen depending on the device settings and options. Therefore, some detailed areas may not be shown exactly the same as on the actual vehicle screen.
    1. Enter diagnostic mode. Refer to DTC CHECK / CLEAR [09/2013 - ] .
    2. Select "Function Check/Setting" from the "Service Menu" screen.
      Fig 36: Identifying Function Check/Setting On Service Menu Screen Display
      GTY318658Courtesy of © TOYOTA, LICENSE AGREEMENT TMS1002
    3. Select "GPS&Vehicle Sensors" from the "Function Check/Setting I" screen.
      Fig 37: Identifying GPS & Vehicle Sensors On Function Check/Setting I Screen Display
      GTY405005Courtesy of © TOYOTA, LICENSE AGREEMENT TMS1002
    4. GPS Information
      Fig 38: Identifying GPS Information Screen Display
      GTY315815Courtesy of © TOYOTA, LICENSE AGREEMENT TMS1002
      *A: SATELLITE INFORMATION DESCRIPTION

      Display Content
      No. Number of the target GPS satellite.
      Elv Elevation angle of the target GPS satellite.
      Azm Direction of the target GPS satellite.
      LVL The GPS signal level
      *B: RECEIVING CONDITION DESCRIPTION

      Display Content
      P The system is using the GPS signal for location.
      T The system is tracking the GPS signal for location.
      U The system is receiving a GPS signal, but is not using it for location.
      - The system cannot receiver a GPS signal (Searching a GPS Signal).
      *C: MEASUREMENT STATUS DESCRIPTION

      Display Content
      OK (H3D) High accuracy 3-dimensional location method is being used.
      OK (H2D) High accuracy 2-dimensional location method is being used.
      OK (3D) 3-Dimensional location method is being used.
      OK (2D) 2-Dimensional location method is being used.
      NG Location data cannot be used.
      error Reception error has occurred.
      - Any other state.
      *D: POSITION INFORMATION DESCRIPTION

      Display Content
      Position Latitude and longitude information on the current position is displayed.
      *E: DATE INFORMATION DESCRIPTION

      Display Content
      Date The date/time information obtained from GPS signals is displayed in Greenwich Mean Time (GMT).

      HINT: 

      • This screen is updated once per second.
      • Information from a maximum of 12 satellites is displayed on the screen.
      1. When the "GPS Information" screen is displayed, check the GPS conditions.
    5. Select "Sensors Check" from the "GPS Information" screen.
    6. Vehicle Sensors
      Fig 39: Identifying Vehicle Sensors On GPS Information Screen Display
      GTY383643Courtesy of © TOYOTA, LICENSE AGREEMENT TMS1002
      SCREEN DESCRIPTION

      Display Content
      *a: Vehicle signal Vehicle speed signal condition is displayed.
      *b: Sensor signal Gyro sensor output condition is displayed.

      HINT: 

      This screen is updated once per second.

      1. Check all the signals and sensors when vehicle signal information is displayed.
  10. CHECK VEHICLE SIGNALS 

    HINT: 

    • Vehicle signals received by the multi-media module receiver assembly are checked in the following procedure.
    • Illustrations may differ from the actual vehicle screen depending on the device settings and options. Therefore, some detailed areas may not be shown exactly the same as on the actual vehicle screen.
    1. Enter diagnostic mode. Refer to DTC CHECK / CLEAR [09/2013 - ] .
    2. Select "Function Check/Setting" from the "Service Menu" screen.
      Fig 40: identifying Function Check/Setting I On Service Menu Screen Display
      GTY318658Courtesy of © TOYOTA, LICENSE AGREEMENT TMS1002
    3. Select "Vehicle Signal" from the "Function Check/Setting I" screen.
      Fig 41: Identifying Vehicle Signal On Function Check/Setting I Screen Display
      GTY418018Courtesy of © TOYOTA, LICENSE AGREEMENT TMS1002
    4. Vehicle Signal Check Mode
      1. When the "Vehicle Signal Check Mode" screen is displayed, check all the vehicle signal conditions.
        SCREEN DESCRIPTION

        Display Content
        Battery Auxiliary battery voltage is displayed.
        IG Power switch ON/OFF state is displayed.
        PKB Parking brake ON/OFF state is displayed.
        REV Reverse signal ON/OFF state is displayed.
        SPEED Vehicle speed is displayed in km/h.
        TAIL Tail signal (Light control switch) ON/OFF state is displayed.
        ADIM/TCAN Brightness state DIM (with) / BRIGHT (without) is displayed.
        Fig 42: Identifying Vehicle Signal Check Mode Screen Display
        GTY319007Courtesy of © TOYOTA, LICENSE AGREEMENT TMS1002

        HINT: 

        • Only conditions having inputs are displayed.
        • This screen displays vehicle signals input to the multi-media module receiver assembly (built-in navigation ECU).
        • For details of this function, refer to Diagnosis Display Detailed Description in System Description. Refer to SYSTEM DESCRIPTION [09/2013 - ] .
  11. CHECK HANDS-FREE VOICE QUALITY AND VOLUME SETTING 

    HINT: 

    • The hands-free volume of a "Bluetooth" compatible phone can be adjusted using the following procedure.
    • Illustrations may differ from the actual vehicle screen depending on the device settings and options. Therefore, some detailed areas may not be shown exactly the same as on the actual vehicle screen.
    1. Enter diagnostic mode. Refer to DTC CHECK / CLEAR [09/2013 - ] .
    2. Select "Function Check/Setting" from the "Service Menu" screen.
      Fig 43: Identifying Function Check/Setting On Service Menu Screen Display
      GTY318658Courtesy of © TOYOTA, LICENSE AGREEMENT TMS1002
    3. Select "HF Voice Quality Setting" from the "Function Check/Setting I" screen.
      Fig 44: Identifying HF Voice Quality Setting On Function Check/Setting I Screen Display
      GTY404598Courtesy of © TOYOTA, LICENSE AGREEMENT TMS1002
    4. Hands-Free Voice Quality Setting (Receive/Send Voice Level adjustment)
      Fig 45: Identifying Hands-Free Voice Quality Setting Screen Display
      GTY397909Courtesy of © TOYOTA, LICENSE AGREEMENT TMS1002
      SCREEN DESCRIPTION

      Display Content
      *a: Receive voice level adjustment Setting for the voice level received from "Bluetooth" compatible phones.
      *b: Send voice level adjustment Setting for the voice level sent from "Bluetooth" compatible phones.
      TEXT IN ILLUSTRATION

      *c Example
      NOTE:

      Sound quality may deteriorate when the receive voice or send voice level is changed more than necessary. For this reason, check that the received voice or sent voice quality is still acceptable after changing this setting.

      1. If the voice level is low, press the up button, and if the voice level is loud, press the down button.

        HINT: 

        • Settings will be applied when the up or down button is selected.
        • The received voice level adjustment ranges from -5 to +1.
        • The sent voice level adjustment ranges from -5 to +2.
        • The initial level is "0".
    5. Hands-Free Voice Quality Setting (Voice Quality Type adjustment)
      Fig 46: Identifying Hands-Free Voice Quality Setting Screen Display
      GTY397654Courtesy of © TOYOTA, LICENSE AGREEMENT TMS1002
      SCREEN DESCRIPTION

      *a Numeric keypad
      *b Setting button
      *c Reset button
      TEXT IN ILLUSTRATION

      *d Example
      1. If necessary, refer to the table below to adjust the voice quality type with the numeric keypad.
      2. When adjusting the settings, use the number pad on the screen to input the voice quality type according to the table.
        SETTINGS

        Parameter Target Phenomenon Voice Quality Type Positive Effect of Changing Voice Quality Negative Effect of Changing Voice Quality
        A
        (Noise)
        The change in background noise the other party hears becomes unpleasant. 1000 The change in background noise the other party hears is reduced. Background noise when not talking becomes large.
        B
        (Noise)
        The volume of the noise the other party hears temporarily becomes large. 2000 The temporary noise is reduced. The volume of voice may drop temporarily.
        C
        (Echo)
        The other party hears weak echoes. 0100 The amount of echo is reduced (low level). Sound quality of the other party deteriorates (low level).
        D
        (Echo)
        The other party hears strong echoes. 0200 The amount of echo is reduced (high level). Sound quality of the other party deteriorates (high level).
        E
        (Quality)
        The other party hears harsh noises. 0010 Sound the other party hears becomes soft. Sound the other party hears becomes muffled.
        F
        (Quality)
        You hear harsh noises. 0020 Sound you hear becomes soft. Sound you hear becomes muffled.
        SETTINGS (WHEN MULTIPLE PHENOMENA OCCURRED)

        Parameter Target Phenomenon Voice Quality Type Positive Effect of Changing Voice Quality Negative Effect of Changing Voice Quality
        A+C The change in background noise the other party hears becomes unpleasant and the other party hears weak echoes. 1100
        • The change in background noise the other party hears is reduced.
        • The amount of echo is reduced (low level).
        • Background noise when not talking becomes large.
        • Sound quality of the other party deteriorates (low level).
        A+D The change in background noise the other party hears becomes unpleasant and the other party hears strong echoes. 1200
        • The change in background noise the other party hears is reduced.
        • The amount of echo is reduced (high level).
        • Background noise when not talking becomes large.
        • Sound quality of the other party deteriorates (high level).
        B+C The volume of the noise the other party hears temporarily becomes large and the other party hears weak echoes. 2100
        • The temporary noise is reduced.
        • The amount of echo is reduced (low level).
        • The volume of voice may drop temporarily.
        • Sound quality of the other party deteriorates (low level).
        B+D The volume of the noise the other party hears temporarily becomes large and the other party hears strong echoes. 2200
        • The temporary noise is reduced.
        • The amount of echo is reduced (high level).
        • The volume of voice may drop temporarily.
        • Sound quality of the other party deteriorates (high level).
        C+E The other party hears weak echoes and harsh noises. 0110
        • The amount of echo is reduced (low level).
        • Sound the other party hears becomes soft.
        • Sound quality of the other party deteriorates (low level).
        • Sound the other party hears becomes muffled.
        C+F The other party hears weak echoes and you hear harsh noises. 0120
        • The amount of echo is reduced (low level).
        • Sound you hear becomes soft.
        • Sound quality of the other party deteriorates (low level).
        • Sound you hear becomes muffled.

        HINT: 

        • The default value is "0000".
        • Settings will be applied when the setting button is selected.
        • If voice quality type values that are not in the table are input, the setting will not be applied and a positive effect may not be gained.
        • If the quality of phone calls decreases due to the changed settings, return the settings to "0000" by pressing the "INIT" switch.
  12. CHECK UNIT VERSION INFORMATION 

    HINT: 

    Illustrations may differ from the actual vehicle screen depending on the device settings and options. Therefore, some detailed areas may not be shown exactly the same as on the actual vehicle screen.

    1. Enter diagnostic mode. Refer to DTC CHECK / CLEAR [09/2013 - ] .
    2. Select "Service Information" from the "Service Menu" screen.
      Fig 47: Identifying Service Information On Service Menu Screen Display
      GTY407205Courtesy of © TOYOTA, LICENSE AGREEMENT TMS1002
    3. Select "Version Information" from the "Service Information" screen.
      Fig 48: Identifying Version Information On Service Information Screen Display
      GTY416906Courtesy of © TOYOTA, LICENSE AGREEMENT TMS1002
    4. Press the "Push" switch.
      Fig 49: Identifying Version Information Screen Display
      GTY406025Courtesy of © TOYOTA, LICENSE AGREEMENT TMS1002
    5. Unit Version Information
      Fig 50: Identifying Unit Version Information Screen Display
      GTY417781Courtesy of © TOYOTA, LICENSE AGREEMENT TMS1002
      SCREEN DESCRIPTION

      Display Content
      *a: Device name Target device
      *b: Manufacturer name Manufacturer of the ECU (target device)
      *c: Component name Component name of the ECU (target device)
      *d: Version Version of the ECU (target device)

      HINT: 

      Depending on the manufacturer, some component names and versions will be displayed differently.

  13. CHECK SOFTWARE ERROR HISTORY 

    HINT: 

    This function is used to check the cause when the multi-media module receiver assembly screen is blacked out.

    1. Check software error history.
      1. Connect the Techstream to the DLC3.
      2. Turn the power switch on (IG).
      3. Turn the Techstream on.
      4. Enter the following menus: Body Electrical / Navigation System / Utility / Software Error History.
      5. When an item is stored for Software Error History, record it before repairing the multi-media module receiver assembly.
        SOFTWARE ERROR HISTORY SCREEN DESCRIPTION

        Error Description Trigger Detail
        Software Reset Navi Microcomputer Hexadecimal Number
        Audio Microcomputer
        CAN Microcomputer
        No Video Signal Front Monitor
        Rear Monitor
        MOST Cold Restart Always

        HINT: 

        • Software Error History can store up to 5 history data items. If a new software error occurs when 5 data items have already been stored, the oldest data is cleared and the new data is stored.
        • If an error that is unsupported by the Techstream occurs, a "-" is displayed for the display items.
    2. Clear software error history.
      1. When DTCs are cleared using any of the following operations, Software Error History will be cleared as well. Refer to DTC CHECK / CLEAR [09/2013 - ] .
        • Cleared using the Techstream.
        • Cleared using the system check mode screen.
        • Cleared using the unit check mode screen.
  14. CHECK OPTICAL DISC ERROR HISTORY 

    HINT: 

    This function is used to check the cause of an optical disc error.

    1. Check optical disc error history.
      1. Connect the Techstream to the DLC3.
      2. Turn the power switch on (IG).
      3. Turn the Techstream on.
      4. Enter the following menus: Body Electrical / Navigation System / Utility / Optical Disc Error History.
      5. When an item is stored for Optical Disc Error History, record it before proceeding with troubleshooting.
        OPTICAL DISC ERROR HISTORY SCREEN DESCRIPTION

        Display Content
        Error Type Displays the type of error.
        Device Displays the malfunctioning device.
        Date Displays the date and time that the malfunction occurred.
        "ERROR TYPE" SCREEN DESCRIPTION

        Error Type Detection Condition Action
        Read Error When a disc read error occurs. Proceed to next suspected area shown in Problem Symptoms Table. Refer to PROBLEM SYMPTOMS TABLE [09/2013 - ] 
        Disc damaged/up side down/dirty When it is determined that any of the following is the cause of the disc read error:
        • The disc cannot be read.
        • The disc cannot be read because of dirt or scratches.
        • The disc cannot be read because it is inserted up side down.
        Cannot determine disc type An unsuitable disc is inserted.
        DPS error When an error occurs while decoding MP3/WMA files.
        Some files are corrupt
        • When MP3/WMA files cannot be played back because they are unsupported.
        • Even though the file extensions are MP3 or WMA, files cannot be played back because the header information cannot be read.
        Some files cannot be found
        • When a disc without music data is played back.
        • When there are no playable MP3/WMA files.
        Copy protection violation When a file with copyright protection that cannot be played back is played back.
        "DEVICE" SCREEN DESCRIPTION

        Device Component
        DVD-P Multi-media module receiver assembly
        CD-P Not available
        R-Seat DVD-P Not available

        HINT: 

        • Optical Disc Error History can store up to 7 history data items. If a new optical disc error occurs when 7 data items have already been stored, the oldest data is cleared and the new data is stored.
        • If an error that is unsupported by the Techstream occurs, a "-" or blank is displayed for the display items.
    2. Clear optical disc error history.
      1. When DTCs are cleared using any of the following operations, Optical Disc Error History will be cleared as well. Refer to DTC CHECK / CLEAR [09/2013 - ] .
        • Cleared using the Techstream.
        • Cleared using the system check mode screen.
        • Cleared using the unit check mode screen.
  15. MAP INFORMATION 

    HINT: 

    This function is used to check the map version of the navigation system and the end date of the map update service.

    1. Check map information.
      1. Connect the Techstream to the DLC3.
      2. Turn the power switch on (IG).
      3. Turn the Techstream on.
      4. Enter the following menus: Body Electrical / Navigation System / Utility / Map Information.
      5. Check the map version and the end date of the map update service.