LEMON Manuals: Even more car manuals for everyone: 1960-2025
Home >> Lexus >> 2014 >> RX 350 Base, AWD >> Repair and Diagnosis >> Engine Mechanical >> Starter >> Smart Access System (Keyless Start) (Diagnostics - Introduction) >> SMART ACCESS SYSTEM WITH PUSH-BUTTON START (for Start Function) >> System Diagram [08/2013 - ] >> System Diagram [08/2013 - ]
April 5, 2026: LEMON Manuals is launched! Read the announcement.

System Diagram [08/2013 - ]

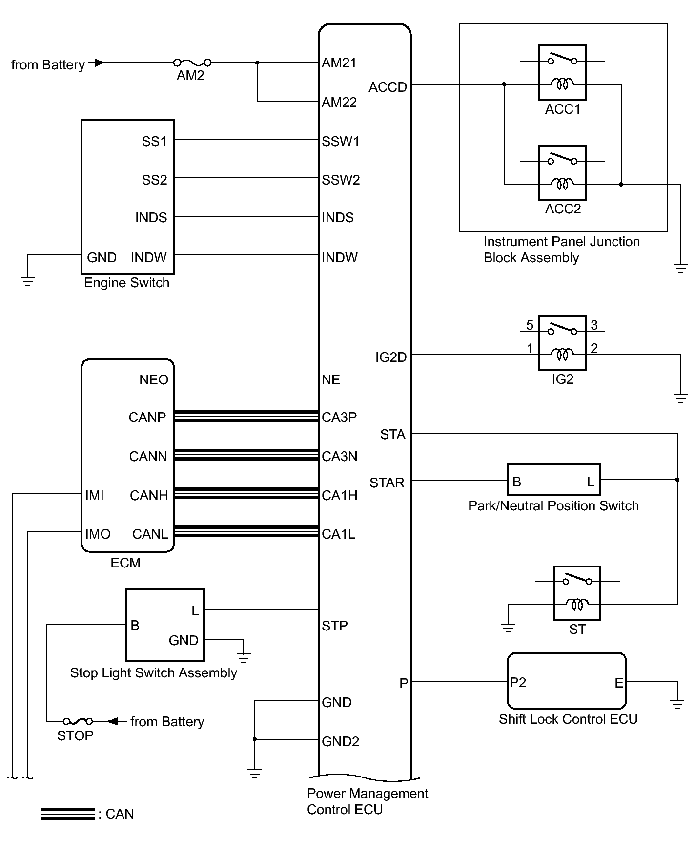
Fig 1: Smart Access System With Push-Button Start (For Start Function) System Diagram (1 Of 3)
GTY396915Courtesy of © TOYOTA, LICENSE AGREEMENT TMS1002
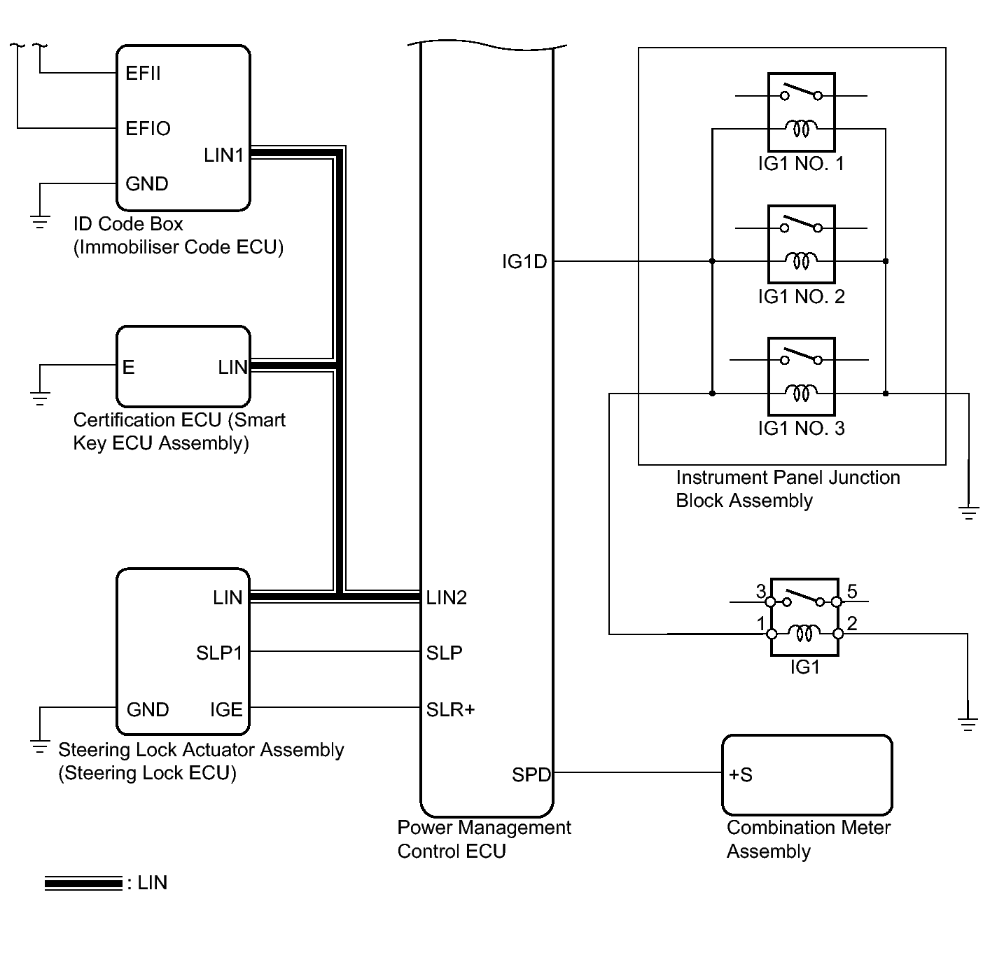
Fig 2: Smart Access System With Push-Button Start (For Start Function) System Diagram (2 Of 3)
GTY271125Courtesy of © TOYOTA, LICENSE AGREEMENT TMS1002
Fig 3: Smart Access System With Push-Button Start (For Start Function) System Diagram (3 Of 3)
GTY278112Courtesy of © TOYOTA, LICENSE AGREEMENT TMS1002
COMMUNICATION TABLE

Transmitting ECU
(Transmitter)
Receiving ECU
(Receiver)
Signal Communication Method
Combination meter Power management control ECU Vehicle speed signal CAN/Local communication
ECM Power management control ECU Stop light switch signal CAN/Local communication
ECM Power management control ECU Engine speed signal CAN/Local communication
ECM Power management control ECU Shift position P signal CAN/Local communication
Power management control ECU Combination meter Message request signal for push start CAN
Power management control ECU Certification ECU (smart key ECU assembly) Shift position P signal LIN
Power management control ECU Certification ECU (smart key ECU assembly) ID code certification result request signal LIN
Power management control ECU Certification ECU (smart key ECU assembly) Power supply ON operation condition signal LIN
Power management control ECU Certification ECU (smart key ECU assembly) Engine start operation condition signal LIN
Power management control ECU Certification ECU (smart key ECU assembly) ACC relay drive condition signal LIN
Power management control ECU Certification ECU (smart key ECU assembly) IG relay drive condition signal LIN
Power management control ECU Steering lock actuator assembly (steering lock ECU) Steering lock relay power supply condition signal LIN
Power management control ECU Steering lock actuator assembly (steering lock ECU) IG relay drive condition signal LIN
Steering lock actuator assembly (steering lock ECU) Certification ECU (smart key ECU assembly) Lock-side sensor condition signal LIN
Steering lock actuator assembly (steering lock ECU) Certification ECU (smart key ECU assembly) Unlock-side sensor condition signal LIN
Steering lock actuator assembly (steering lock ECU) Certification ECU (smart key ECU assembly) Lock determination signal LIN
Steering lock actuator assembly (steering lock ECU) Certification ECU (smart key ECU assembly) Unlock determination signal LIN
Steering lock actuator assembly (steering lock ECU) Certification ECU (smart key ECU assembly) Sensor malfunction signal LIN
Steering lock actuator assembly (steering lock ECU) Certification ECU (smart key ECU assembly) Lock lever engagement malfunction signal LIN
Steering lock actuator assembly (steering lock ECU) Certification ECU (smart key ECU assembly) Abnormal push-signal LIN
Steering lock actuator assembly (steering lock ECU) Certification ECU (smart key ECU assembly) Engine start permission signal LIN
Steering lock actuator assembly (steering lock ECU) Certification ECU (smart key ECU assembly) L code certification condition signal LIN
Certification ECU (smart key ECU assembly) ID code box (immobiliser code ECU) Engine start operation condition signal LIN
Certification ECU (smart key ECU assembly) ID code box (immobiliser code ECU) 3-bit code transmission request signal LIN
Certification ECU (smart key ECU assembly) ID code box (immobiliser code ECU) Steering unlock request signal LIN
Certification ECU (smart key ECU assembly) ID code box (immobiliser code ECU) Steering lock request signal LIN
Certification ECU (smart key ECU assembly) ID code box (immobiliser code ECU) S code certification result signal LIN
Certification ECU (smart key ECU assembly) Power management control ECU Steering unlock request signal LIN
Certification ECU (smart key ECU assembly) Power management control ECU Steering lock request signal LIN
ID code box (immobiliser code ECU) Certification ECU (Smart Key ECU Assembly) 3-bit code transmission request reception condition signal LIN
ID code box (immobiliser code ECU) Certification ECU (Smart Key ECU Assembly) S code certification result signal LIN
ID code box (immobiliser code ECU) Certification ECU (Smart Key ECU Assembly) L code certification result signal LIN
ID code box (immobiliser code ECU) Certification ECU (Smart Key ECU Assembly) Steering lock/unlock request reception signal LIN
ID code box (immobiliser code ECU) Certification ECU (Smart Key ECU Assembly) Steering lock request reception signal LIN
ID code box (immobiliser code ECU) Certification ECU (Smart Key ECU Assembly) S code registration condition signal LIN
ID code box (immobiliser code ECU) Certification ECU (Smart Key ECU Assembly) L code registration condition signal LIN