LEMON Manuals: Even more car manuals for everyone: 1960-2025
Home >> Lexus >> 2015 >> GX 460 Base >> Repair and Diagnosis >> Accessories & Equipment >> Entertainment Systems >> LEXUS ENFORM System (Diagnostics - Introduction) >> LEXUS ENFORM System >> System Diagram [08/2013 - ] >> System Diagram [08/2013 - ]
April 5, 2026: LEMON Manuals is launched! Read the announcement.

System Diagram [08/2013 - ]

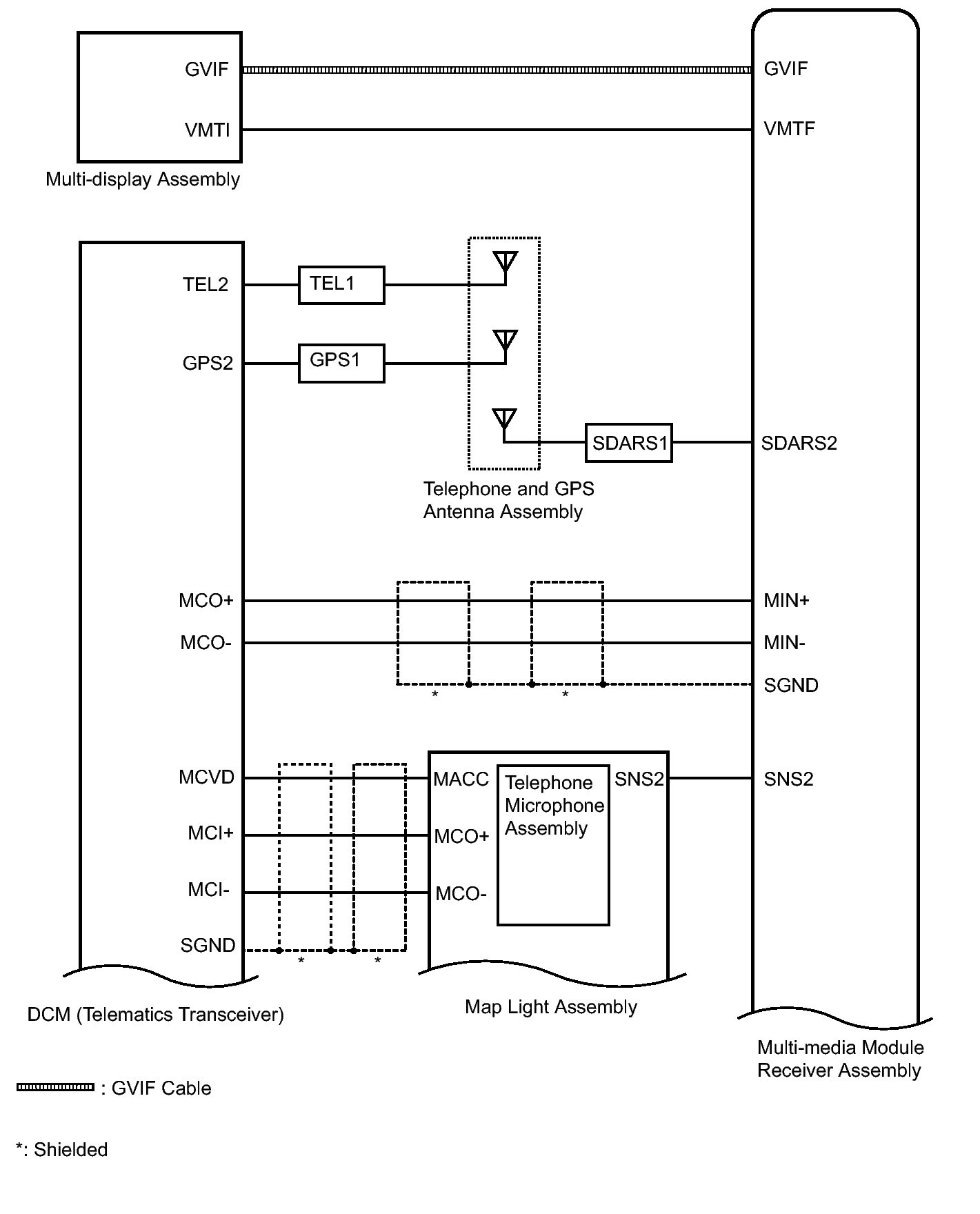
Fig 1: Lexus Enform System Diagram (1 Of 4)
GTY457097Courtesy of © TOYOTA, LICENSE AGREEMENT TMS1002
Fig 2: Lexus Enform System Diagram (2 Of 4)
GTY460192Courtesy of © TOYOTA, LICENSE AGREEMENT TMS1002
Fig 3: Lexus Enform System Diagram (3 Of 4)
GTY469653Courtesy of © TOYOTA, LICENSE AGREEMENT TMS1002
Fig 4: Lexus Enform System Diagram (4 Of 4)
GTY458327Courtesy of © TOYOTA, LICENSE AGREEMENT TMS1002