LEMON Manuals: Even more car manuals for everyone: 1960-2025
Home >> Lexus >> 2015 >> GX 460 Luxury >> Repair and Diagnosis >> Engine Performance >> System >> Engine Control System (Diagnostic Codes (P0010-P0230)) >> SFI System >> DTC P0107: Manifold Absolute Pressure / Barometric Pressure Circuit Low Input; DTC P0108: Manifold Absolute Pressure / Barometric Pressure Circuit High Input [08/2013 - ] >> Procedure
April 5, 2026: LEMON Manuals is launched! Read the announcement.

DTC P0107: Manifold Absolute Pressure / Barometric Pressure Circuit Low Input; DTC P0108: Manifold Absolute Pressure / Barometric Pressure Circuit High Input [08/2013 - ]: Procedure

  1. READ VALUE USING TECHSTREAM (MAP) 
    1. Connect the Techstream to the DLC3.
    2. Turn the engine switch on (IG).
    3. Turn the Techstream on.
    4. Enter the following menus: Powertrain / Engine and ECT / Data List / MAP.
    5. Read the MAP value.

      OK

      Same value as the actual atmospheric pressure.

      HINT: 

      • Standard atmospheric pressure is 101 kPa. For every 100 m increase in elevation, pressure drops by 1 kPa. This varies by weather (high atmospheric pressure, low atmospheric pressure).
      • Also, check "Atmosphere Pressure" in the Data List.

    NG → See step   2 

    OK → See step   8 

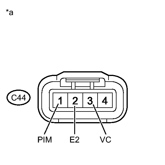
  2. CHECK MANIFOLD ABSOLUTE PRESSURE SENSOR (TERMINAL VOLTAGE) 
    1. Disconnect the manifold absolute pressure sensor connector.
      GTY278909Courtesy of © TOYOTA, LICENSE AGREEMENT TMS1002
    2. Turn the engine switch on (IG).
    3. Measure the voltage according to the value(s) in the table below.

      Standard Voltage

      Tester Connection Switch Condition Specified Condition
      C44-3 (VC) - C44-2 (E2) Engine switch on (IG) 4.5 to 5.5 V
      C44-1 (PIM) - C44-2 (E2) Engine switch on (IG) 3.0 to 5.0 V
      TEXT IN ILLUSTRATION

      *a Front view of wire harness connector
      (to Manifold Absolute Pressure Sensor)

    NG → See step   5 

    OK: Go to next step 

  3. REPLACE MANIFOLD ABSOLUTE PRESSURE SENSOR 
    1. Replace the manifold absolute pressure sensor. Refer to REMOVAL [08/2013 - ] .

    NEXT: Go to next step 

  4. CHECK WHETHER DTC OUTPUT RECURS 
    1. Connect the Techstream to the DLC3.
    2. Turn the engine switch on (IG) and turn the Techstream on.
    3. Clear the DTCs. Refer to DTC CHECK / CLEAR [08/2013 - ] .
    4. Turn the engine switch off and wait for at least 30 seconds.
    5. Turn the engine switch on (IG) and wait for 5 seconds.
    6. Turn the Techstream on.
    7. Enter the following menus: Powertrain / Engine and ECT / Trouble Codes.
    8. Read the DTCs.
      RESULT

      Result Proceed to
      No output A
      P0107 and/or P0108 is output B

    B → See step   6 

    A → END 

  5. CHECK HARNESS AND CONNECTOR (MANIFOLD ABSOLUTE PRESSURE SENSOR - ECM) 
    1. Disconnect the manifold absolute pressure sensor connector.
    2. Disconnect the ECM connector.
    3. Measure the resistance according to the value(s) in the table below.

      Standard Resistance

      Tester Connection Condition Specified Condition
      C44-1 (PIM) - C29-8 (PIM) Always Below 1 Ω
      C44-3 (VC) - C28-16 (VCV2) Always Below 1 Ω
      C44-2 (E2) - C29-7 (E2) Always Below 1 Ω
      C44-1 (PIM) or C29-8 (PIM) - Body ground Always 10 kΩ or higher
      C44-3 (VC) or C28-16 (VCV2) - Body ground Always 10 kΩ or higher

    NG → REPAIR OR REPLACE HARNESS OR CONNECTOR 

    OK → See step   7 

  6. REPLACE ECM. Refer to  REMOVAL [08/2013 - ] 
  7. REPLACE ECM. Refer to  REMOVAL [08/2013 - ] 
  8. CHECK FOR INTERMITTENT PROBLEMS. Refer to  CHECK FOR INTERMITTENT PROBLEMS [08/2013 - ]