LEMON Manuals: Even more car manuals for everyone: 1960-2025
Home >> Lexus >> 2015 >> IS 250 Base, AWD >> Repair and Diagnosis >> External Pages >> Different car >> Section 13 (Engine Intake / Exhaust System (2GR-FSE) - Service Information) >> Exhaust Pipe >> Installation [10/2016 - 10/2017] >> Procedure
April 5, 2026: LEMON Manuals is launched! Read the announcement.

Installation [10/2016 - 10/2017]: Procedure

WARNING: This page does not describe the selected car, but rather 6 other vehicles, including the 2017 Lexus IS 350, 2017 Lexus IS 300, 2016 Lexus IS 350, 2016 Lexus IS 300, and 2015 Lexus IS 350. However, it is still accessible from the selected car via links, so may be relevant.
  1. INSTALL TAIL EXHAUST PIPE BAFFLE SUB-ASSEMBLY 
    1. Install the tail exhaust pipe baffle sub assembly to the tail exhaust pipe assembly with the 3 bolts.

      Torque: 25 N*m (255 kgf*cm, 18 ft.*lbf) 

    2. Install the tail exhaust pipe baffle sub assembly to the tail exhaust pipe LH with the 3 bolts.

      Torque: 25 N*m (255 kgf*cm, 18 ft.*lbf) 

  2. CONNECT TAIL EXHAUST PIPE LH 
    1. Connect the tail exhaust pipe LH to the 3 exhaust pipe supports.
      NOTE:

      Protect the rear bumper assembly using protection material such as a piece of cloth to avoid damage by the tail exhaust pipe baffle sub assembly.

  3. CONNECT TAIL EXHAUST PIPE ASSEMBLY 
    1. Connect the tail exhaust pipe assembly to the 3 exhaust pipe supports.
      NOTE:

      Protect the rear bumper assembly using protection material such as a piece of cloth to avoid damage by the tail exhaust pipe baffle sub assembly.

  4. INSTALL FRONT EXHAUST PIPE ASSEMBLY (TWC: Rear Catalyst) 
    1. Using a vernier caliper, measure the free length of the compression springs.
      Standard length 40 mm (1.57 in.)
      Minimum free length 38.5 mm (1.52 in.)
      GTY144965Courtesy of © TOYOTA, LICENSE AGREEMENT TMS1002

      If the free length is less than the minimum, replace the compression spring.

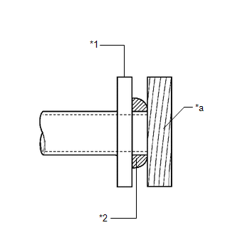
    2. Temporarily install 2 new gaskets to the front exhaust pipe assembly (TWC: Rear Catalyst) for tail exhaust pipe assembly and tail exhaust pipe LH side.
    3. Using a plastic hammer and wooden block, tap in each gasket until its surface is flush with the front exhaust pipe assembly (TWC: Rear Catalyst).
      NOTE:
      • Be sure to install the gaskets in the correct direction.
      • Do not reuse the gaskets.
      • Do not damage the gaskets.
      • Do not push in the gaskets by using the front exhaust pipe assembly (TWC: Rear Catalyst) when connecting it.
      GTY442829Courtesy of © TOYOTA, LICENSE AGREEMENT TMS1002
      *1 Front Exhaust Pipe Assembly (TWC: Rear Catalyst)
      *2 Gasket
      *a Wooden Block
    4. Install 2 new gaskets to the front exhaust pipe assembly (TWC: Rear Catalyst) for exhaust manifold sub-assembly LH (TWC: Front Catalyst) and exhaust manifold sub-assembly RH (TWC: Front Catalyst) side.
    5. Connect the front exhaust pipe assembly (TWC: Rear Catalyst) with 4 new nuts and 4 new bolts.

      Torque: 39 N*m (398 kgf*cm, 29 ft.*lbf) 

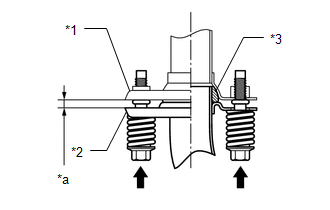
    6. Install the front exhaust pipe assembly (TWC: Rear Catalyst) to the tail exhaust pipe assembly and tail exhaust pipe LH with the 4 bolts and 4 compression springs.
      GTY460771Courtesy of © TOYOTA, LICENSE AGREEMENT TMS1002
      *1 Tail Exhaust Pipe Assembly and Tail Exhaust Pipe LH
      *2 Front Exhaust Pipe Assembly (TWC: Rear Catalyst)
      *3 Gasket
      *a Space between flanges: 6.5 mm (0.256 in.)

      Torque: 43 N*m (438 kgf*cm, 32 ft.*lbf) 

      HINT: 

      After installation, check that the space between the flanges of the front exhaust pipe assembly (TWC: Rear Catalyst) and tail exhaust pipe assembly and tail exhaust pipe LH are consistent front-to-rear and left-to-right.

  5. CONNECT HEATED OXYGEN SENSOR 
    1. Before installing the heated oxygen sensor, twist the sensor wire counterclockwise 4 turns.
      GTY461265Courtesy of © TOYOTA, LICENSE AGREEMENT TMS1002
      *a 4 Turns
    2. For Bank 2 (for 2WD):
      1. Using SST, install the heated oxygen sensor to the front exhaust pipe assembly (TWC: Rear Catalyst).
        • SST: 09224-00010 
        GTY458363Courtesy of © TOYOTA, LICENSE AGREEMENT TMS1002
        *a SST Fulcrum Length
        *b Torque Wrench Fulcrum Length

        Specified tightening torque 

        Torque: 44 N*m (449 kgf*cm, 32 ft.*lbf) 

        NOTE:
        • Make sure SST and the wrench are connected in a straight line.
        • If a heated oxygen sensor has been struck or dropped, replace it.

        HINT: 

        • Calculate the torque wrench reading when changing the fulcrum length of the torque wrench.

          Refer to PRECAUTION [10/2016 - 10/2017]

        • When using SST (fulcrum length of 30 mm (1.18 in.)) + torque wrench (fulcrum length of 260 mm (10.2 in.)):

          39 N*m (398 kgf*cm, 29 ft.*lbf)

      2. Connect the heated oxygen sensor grommet to the vehicle body.
    3. For Bank 2 (for AWD with Front Floor Cover LH):
      1. Using SST, install the heated oxygen sensor to the front exhaust pipe assembly (TWC: Rear Catalyst).
        GTY469552Courtesy of © TOYOTA, LICENSE AGREEMENT TMS1002
        *a SST Fulcrum Length
        *b Torque Wrench Fulcrum Length
        • SST: 09224-00010 

        Specified tightening torque 

        Torque: 44 N*m (449 kgf*cm, 32 ft.*lbf) 

        NOTE:
        • Make sure SST and the wrench are connected in a straight line.
        • If a heated oxygen sensor has been struck or dropped, replace it.

        HINT: 

        • Calculate the torque wrench reading when changing the fulcrum length of the torque wrench.

          Refer to PRECAUTION [10/2016 - 10/2017]

        • When using SST (fulcrum length of 30 mm (1.18 in.)) + torque wrench (fulcrum length of 260 mm (10.2 in.)):

          39 N*m (398 kgf*cm, 29 ft.*lbf)

      2. Install the 2 clamps to the vehicle body.
      3. Install the heated oxygen sensor grommet to the vehicle body.
      4. Install the front floor cover LH with the 6 clips.
    4. For Bank 2 (for AWD without Front Floor Cover LH):
      1. Using SST, install the heated oxygen sensor to the front exhaust pipe assembly (TWC: Rear Catalyst).
        GTY469552Courtesy of © TOYOTA, LICENSE AGREEMENT TMS1002
        *a SST Fulcrum Length
        *b Torque Wrench Fulcrum Length
        • SST: 09224-00010 

        Specified tightening torque 

        Torque: 44 N*m (449 kgf*cm, 32 ft.*lbf) 

        NOTE:
        • Make sure SST and the wrench are connected in a straight line.
        • If a heated oxygen sensor has been struck or dropped, replace it.

        HINT: 

        • Calculate the torque wrench reading when changing the fulcrum length of the torque wrench.

          Refer to PRECAUTION [10/2016 - 10/2017]

        • When using SST (fulcrum length of 30 mm (1.18 in.)) + torque wrench (fulcrum length of 260 mm (10.2 in.)):

          39 N*m (398 kgf*cm, 29 ft.*lbf)

      2. Install the 3 clamps to the vehicle body.
      3. Install the heated oxygen sensor grommet to the vehicle body.
    5. For Bank 1:
      1. Using SST, install the heated oxygen sensor to the front exhaust pipe assembly (TWC: Rear Catalyst).
        • SST: 09224-00010 

        Specified tightening torque 

        Torque: 44 N*m (449 kgf*cm, 32 ft.*lbf) 

        NOTE:
        • Make sure SST and the wrench are connected in a straight line.
        • If a heated oxygen sensor has been struck or dropped, replace it.
        GTY467717Courtesy of © TOYOTA, LICENSE AGREEMENT TMS1002
        *a SST Fulcrum Length
        *b Torque Wrench Fulcrum Length

        HINT: 

        • Calculate the torque wrench reading when changing the fulcrum length of the torque wrench.

          Refer to PRECAUTION [10/2016 - 10/2017]

        • When using SST (fulcrum length of 30 mm (1.18 in.)) + torque wrench (fulcrum length of 260 mm (10.2 in.)):

          39 N*m (398 kgf*cm, 29 ft.*lbf)

      2. Install the heated oxygen sensor grommet to the vehicle body.
  6. INSTALL FRONT CENTER FLOOR BRACE 
    1. Engage the 2 clips.
    2. Install the front center floor brace to the body with the 6 bolts and 2 nuts.

      Torque: 19 N*m (194 kgf*cm, 14 ft.*lbf) 

  7. INSTALL REAR NO. 2 FLOOR BOARD SUB-ASSEMBLY (for Full Cover Type) 

    Refer to PROCEDURE - Step 78

  8. INSTALL REAR NO. 1 FLOOR BOARD SUB-ASSEMBLY (for Full Cover Type) 

    Refer to PROCEDURE - Step 79

  9. INSPECT FOR EXHAUST GAS LEAK 

    If gas is leaking, tighten the areas necessary to stop the leak. Replace damaged parts as necessary.

    1. Perform "Inspection After Repair" after repairing and replacing an exhaust gas leak.

      Refer to INITIALIZATION [04/2013 - 10/2017]