LEMON Manuals: Even more car manuals for everyone: 1960-2025
Home >> Lexus >> 2015 >> IS 250 Base, AWD >> Repair and Diagnosis >> Transmission >> Automatic Trans >> Automatic Transmission System (A960E) - Service Information >> Automatic Transmission Assembly >> Installation [04/2013 - 08/2015] >> Procedure
April 5, 2026: LEMON Manuals is launched! Read the announcement.

Installation [04/2013 - 08/2015]: Procedure

  1. INSTALL TORQUE CONVERTER ASSEMBLY 
    1. Using a vernier caliper and straightedge, measure the dimension (A) between the automatic transmission assembly contact surface of the engine assembly and the torque converter assembly contact surface of the drive plate.
      GTY470583Courtesy of © TOYOTA, LICENSE AGREEMENT TMS1002
      *a Engine Assembly Surface
      *b Drive Plate Surface
    2. Align the matchmark on the case with the one on the torque converter assembly and engage the splines of the input shaft with the turbine runner splines.
      GTY456518Courtesy of © TOYOTA, LICENSE AGREEMENT TMS1002
      *a Matchmark
      NOTE:

      Install the torque converter assembly to the input shaft while keeping it horizontal.

    3. Rotate the torque converter assembly approximately 180° and engage the splines of the stator shaft with the stator assembly.
      GTY468225Courtesy of © TOYOTA, LICENSE AGREEMENT TMS1002
      *1 Front Oil Pump Oil Seal
      NOTE:
      • Do not damage the front oil pump oil seal.
      • Install the torque converter assembly to the input shaft while keeping it horizontal.
    4. Rotate the torque converter assembly approximately 180° again, align the matchmark on the torque converter assembly with the one on the case and insert the key of the torque converter assembly into the groove of the oil pump drive gear.
      GTY461257Courtesy of © TOYOTA, LICENSE AGREEMENT TMS1002
      *1 Front Oil Pump Oil Seal
      NOTE:
      • Do not push the torque converter assembly excessively when rotating it.
      • Do not damage the front oil pump oil seal.
      • Install the torque converter assembly to the input shaft while keeping it horizontal.
    5. Using a vernier caliper and straightedge, measure the dimension (B) shown in the illustration and check that the dimension (B) is more than the dimension (A), which was measured in the previous step.
      GTY466306Courtesy of © TOYOTA, LICENSE AGREEMENT TMS1002

      Standard

      A + 1 mm (0.0394 in.) or more

      NOTE:
      • Make sure to deduct the thickness of the straightedge.
      • If the automatic transmission assembly is installed to the engine assembly with the torque converter assembly not sufficiently inserted, the torque converter assembly may be damaged.
  2. INSTALL TRANSMISSION CASE COVER (w/ Case Cover) 
    1. Install the transmission case cover to the automatic transmission assembly with the 2 bolts.

      Torque: 5.4 N.m (55 kgf/cm, 48 in.lbf) 

  3. INSTALL REAR NO. 1 ENGINE MOUNTING INSULATOR 
    1. Install the rear No. 1 engine mounting insulator to the automatic transmission assembly with the 4 bolts.

      Torque: 11.5 N.m (117 kgf/cm, 8 ft.lbf) 

      GTY461758Courtesy of © TOYOTA, LICENSE AGREEMENT TMS1002
      *a Claw
      Vehicle Front

      HINT: 

      Make sure that the claw is facing the front of the vehicle.

  4. INSTALL AUTOMATIC TRANSMISSION ASSEMBLY 
    1. Apply clutch spline grease to the circumference of the part of the crankshaft that contacts the torque converter assembly centerpiece.
      GTY467065Courtesy of © TOYOTA, LICENSE AGREEMENT TMS1002
      *1 Drive Plate
      *2 Crankshaft
      *a Torque Converter Assembly Centerpiece
      Clutch Spline Grease

      Clutch Spline Grease

      Toyota Genuine Clutch Spline Grease or equivalent

      Maximum Grease Amount

      Approximately 1 g (0.0353 oz.)

    2. Confirm that the 2 knock pins are installed on the engine assembly and are not damaged.
      GTY467849Courtesy of © TOYOTA, LICENSE AGREEMENT TMS1002
    3. While keeping the engine assembly and automatic transmission assembly horizontal, align the 2 knock pins with the holes in the automatic transmission assembly and install the 9 bolts.

      Bolt (A) 

      Torque: 37 N.m (377 kgf/cm, 27 ft.lbf) 

      Bolt (B), (C) 

      Torque: 71 N.m (724 kgf/cm, 52 ft.lbf) 

      NOTE:
      • When tightening the bolts, be sure that the contact surfaces of the engine assembly and the automatic transmission assembly are in close contact with one another.
      • Do not forcibly pry on the automatic transmission assembly.
      • Check that the torque converter assembly rotates.
      • Make sure not to pinch or damage any wire harness.
      • In order to protect the automatic transmission oil pan sub-assembly, place attachments on the transmission jack.
      • Make sure that the attachments and the automatic transmission oil pan sub-assembly are centered on the transmission jack.
      • To prevent the automatic transmission oil pan sub-assembly from deforming, do not place any attachments under the automatic transmission oil pan sub-assembly of the automatic transmission assembly.
      • Secure the automatic transmission assembly to the transmission jack using a belt, etc. to prevent it from falling.

      HINT: 

      Bolt Length 

      • Bolt (A): 43 mm (1.69 in.)
      • Bolt (B): 50 mm (1.97 in.)
      • Bolt (C): 70 mm (2.76 in.)
  5. INSTALL WATER BY-PASS HOSE 
    1. Tilt down the automatic transmission assembly.
      NOTE:

      Make sure that the cooling fan and fan shroud do not contact the engine assembly when tilting the automatic transmission assembly.

    2. Connect the water by-pass hose and No. 2 water by-pass hose to the transmission oil cooler and slide the 2 clips to secure them.
    3. Install the hose clamp to the automatic transmission assembly with the bolt.

      Torque: 20 N.m (204 kgf/cm, 15 ft.lbf) 

  6. CONNECT WIRE HARNESS AND CONNECTOR 
    1. Install the wire harness clamp bracket to the automatic transmission assembly with the bolt.

      Torque: 10 N.m (102 kgf/cm, 7 ft.lbf) 

    2. Connect the park/neutral position switch assembly connector.
    3. Connect the transmission wire connector.

      HINT: 

      Push up the lever until the claw of the transmission wire connector makes a connection sound.

    4. Connect the 2 transmission revolution sensor connectors.
    5. Install the wire harness to the automatic transmission assembly with the 3 clamps.
  7. INSTALL NO. 2 EARTH WIRE 
    1. Install the No. 2 earth wire to the automatic transmission assembly with the bolt.

      Torque: 25 N.m (255 kgf/cm, 18 ft.lbf) 

  8. INSTALL REAR ENGINE MOUNTING MEMBER 
    1. Temporarily install the rear engine mounting member to the automatic transmission assembly with the 4 nuts.
    2. Install the rear engine mounting member to the body with the 4 bolts.

      Torque: 34.7 N.m (354 kgf/cm, 26 ft.lbf) 

    3. Fully tighten the 4 nuts to the automatic transmission assembly.

      Torque: 13 N.m (133 kgf/cm, 10 ft.lbf) 

  9. INSTALL FLOOR SHIFT GEAR SHIFTING ROD SUB-ASSEMBLY 
    1. Install the floor shift gear shifting rod sub-assembly to the transmission control shaft lever RH with the pin.
      GTY459930Courtesy of © TOYOTA, LICENSE AGREEMENT TMS1002
    2. Install a new clip.
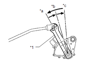
    3. Turn the transmission control shaft lever RH counterclockwise until it stops, then turn it clockwise 2 notches.
      GTY457225Courtesy of © TOYOTA, LICENSE AGREEMENT TMS1002
      *1 Transmission Control Shaft Lever RH
      *a P
      *b R
      *c N
    4. Move the shift lever to N.
    5. Temporarily install the floor shift gear shifting rod sub-assembly to the lever of the transmission floor shift assembly with the nut.
      GTY462331Courtesy of © TOYOTA, LICENSE AGREEMENT TMS1002
      *a Lever
      Pushing the lever rearward
    6. Tighten the nut while lightly pushing the lever of the transmission floor shift assembly rearward.

      Torque: 12.8 N.m (131 kgf/cm, 9 ft.lbf) 

      NOTE:

      Do not push the lever of the transmission floor shift assembly too hard.

  10. INSTALL DRIVE PLATE AND TORQUE CONVERTER ASSEMBLY SETTING BOLT 
    1. Turn the crankshaft to gain access to the installation locations of the 6 drive plate and torque converter assembly setting bolts and install each bolt while holding the crankshaft pulley with SST.
      • SST: 09213-7001109330-00021 
        1. 09213-70020

      Torque: 41 N.m (418 kgf/cm, 30 ft.lbf) 

      NOTE:

      First install the black colored bolt, and then the remaining 5 silver colored bolts.

  11. INSTALL FLYWHEEL HOUSING SIDE COVER 
    1. Install the flywheel housing side cover to the engine assembly.
      NOTE:

      Make sure that the flywheel housing side cover is securely installed.

  12. INSTALL STARTER ASSEMBLY 

    Refer to INSTALLATION [04/2013 - 08/2015]

  13. INSTALL ENGINE UNDER BRACE SUB-ASSEMBLY 

    Refer to PROCEDURE - Step 53

  14. INSTALL PROPELLER WITH CENTER BEARING SHAFT ASSEMBLY 

    Refer to INSTALLATION [04/2013 - 08/2015]

  15. INSTALL INTAKE AIR SURGE TANK ASSEMBLY 

    Refer to INSTALLATION [04/2013 - 08/2015]

  16. ADD ENGINE COOLANT 

    Refer to PROCEDURE - Step 5

  17. ADD AUTOMATIC TRANSMISSION FLUID 

    Refer to ADJUSTMENT [04/2013 - 08/2015] 

  18. CONNECT CABLE TO NEGATIVE BATTERY TERMINAL 
    NOTE:

    When disconnecting the cable, some systems need to be initialized after the cable is reconnected.

    Refer to INITIALIZATION [04/2013 - 06/2014] , or refer to INITIALIZATION [06/2014 - 08/2015]

  19. INSPECT FOR COOLANT LEAK 

    Refer to PROCEDURE - Step 1

  20. INSPECT SHIFT LEVER POSITION 

    See step  1

  21. INSPECT FOR EXHAUST GAS LEAK 

    Refer to PROCEDURE - Step 9

  22. INSTALL NO. 2 ENGINE UNDER COVER (w/ No. 2 Engine Under Cover) 

    Refer to PROCEDURE - Step 99

  23. INSTALL FRONT SUSPENSION MEMBER BRACE 

    Refer to PROCEDURE - Step 100

  24. INSTALL ENGINE UNDER COVER 

    Refer to PROCEDURE - Step 103

  25. RESET MEMORY 

    Refer to INITIALIZATION [04/2013 - 08/2015]