LEMON Manuals: Even more car manuals for everyone: 1960-2025
Home >> Lexus >> 2015 >> IS 250 Base, AWD >> Repair and Diagnosis >> Transmission >> Automatic Trans >> Automatic Transmission System (A960E) - Service Information >> Automatic Transmission Unit >> Reassembly [04/2013 - 08/2015] >> Procedure
April 5, 2026: LEMON Manuals is launched! Read the announcement.

Reassembly [04/2013 - 08/2015]: Procedure

  1. BEARING POSITION 
    GTY459915Courtesy of © TOYOTA, LICENSE AGREEMENT TMS1002
    Mark Front Race Diameter Inside / Outside Thrust Bearing Diameter Inside / Outside Rear Race Diameter Inside / Outside
    A 74.2 mm (2.921 in.) / 87.7 mm (3.453 in.) 71.9 mm (2.831 in.) / 85.6 mm (3.370 in.) -
    B 37.0 mm (1.457 in.) / 51.2 mm (2.016 in.) 33.5 mm (1.319 in.) / 48.0 mm (1.890 in.) -
    C 20.0 mm (0.787 in.) / 35.6 mm (1.402 in.) 20.0 mm (0.787 in.) / 41.0 mm (1.614 in.) -
    D 31.0 mm (1.220 in.) / 48.0 mm (1.890 in.) 33.3 mm (1.311 in.) / 51.2 mm (2.016 in.) -
    E - 42.5 mm (1.673 in.) / 61.2 mm (2.409 in.) -
    F 34.9 mm (1.374 in.) / 50.8 mm (1.999 in.) 38.6 mm (1.520 in.) / 53.1 mm (2.091 in.) -
    G - 58.5 mm (2.303 in.) / 73.5 mm (2.894 in.) 55.2 mm (2.173 in.) / 71.2 mm (2.803 in.)
    H 29.6 mm (1.165 in.) / 44.9 mm (1.768 in.) 27.8 mm (1.095 in.) / 43.8 mm (1.726 in.) 27.8 mm (1.095 in.) / 43.7 mm (1.721 in.)
    I 19.0 mm (0.748 in.) / 35.0 mm (1.378 in.) 20.8 mm (0.819 in.) / 38.5 mm (1.516 in.) -
    J 43.3 mm (1.705 in.) / 56.7 mm (2.232 in.) 40.6 mm (1.598 in.) / 58.0 mm (2.284 in.) -
    K 37.0 mm (1.457 in.) / 51.2 mm (2.016 in.) 36.1 mm (1.421 in.) / 52.5 mm (2.067 in.) 36.1 mm (1.421 in.) / 51.0 mm (2.007 in.)
  2. INSTALL NO. 4 BRAKE PISTON 
    1. Coat 2 new O-ring with ATF, and install them to the brake reaction sleeve.
      GTY458179Courtesy of © TOYOTA, LICENSE AGREEMENT TMS1002
      *1 Brake Reaction Sleeve
      *2 No. 4 Brake Piston
      *3 O-ring
    2. Coat 2 new O-rings with ATF, and install them to the No. 4 brake piston.
    3. Install the No. 4 brake piston to the brake reaction sleeve.NOTICE:
      NOTE:

      Be careful not to damage the O-rings.

  3. INSTALL BRAKE REACTION SLEEVE 
    1. With the No. 4 brake piston underneath (the rear side), install the brake reaction sleeve and No. 4 brake piston to the automatic transmission case sub-assembly.
      GTY468086Courtesy of © TOYOTA, LICENSE AGREEMENT TMS1002
      *1 Brake Reaction Sleeve
      *2 No. 4 Brake Piston
      NOTE:

      Be careful not to damage the O-rings.

  4. INSTALL 1ST AND REVERSE BRAKE PISTON 
    1. Coat a new O-rings with ATF, and install it to the 1st and reverse brake piston.
      GTY457926Courtesy of © TOYOTA, LICENSE AGREEMENT TMS1002
      *1 1st and Reverse Brake Piston
    2. With the spring seat of the 1st and reverse brake piston facing upwards (the front side), place the 1st and reverse brake piston in the automatic transmission case sub-assembly.
      NOTE:

      Be careful not to damage the O-ring.

  5. INSTALL 1ST AND REVERSE BRAKE RETURN SPRING SUB-ASSEMBLY 
    1. Place the 1st and reverse brake return spring sub-assembly onto the 1st and reverse brake piston.
      GTY460022Courtesy of © TOYOTA, LICENSE AGREEMENT TMS1002
      *1 Snap Ring
    2. Place SST on the 1st and reverse brake return spring sub-assembly, and compress the 1st and reverse brake return spring sub-assembly.
      • SST: 09350-30020 
        1. 09350-07050
    3. Using SST, install the snap ring to the automatic transmission case sub-assembly.
      • SST: 09350-30020 
        1. 09350-07070
      NOTE:

      Do not expand the snap ring excessively.

  6. INSTALL BRAKE APPLY TUBE 
    1. Install the brake apply tube with its protruding part fitting into the groove of the automatic transmission case sub-assembly as shown in the illustration.
      GTY100452Courtesy of © TOYOTA, LICENSE AGREEMENT TMS1002
      NOTE:

      Engage the 1st and reverse brake piston claw with the protrusion of the brake apply tube.

  7. INSTALL REAR PLANETARY GEAR ASSEMBLY 
    1. Install the thrust needle roller bearing to the automatic transmission case sub-assembly.
      GTY466415Courtesy of © TOYOTA, LICENSE AGREEMENT TMS1002
      BEARING DIAMETER

      Item Inside Outside
      Thrust needle roller bearing 40.6 mm (1.598 in.) 58.0 mm (2.284 in.)
    2. Install the thrust needle roller bearing to the rear planetary gear assembly.
      GTY456162Courtesy of © TOYOTA, LICENSE AGREEMENT TMS1002
      *1 Thrust Bearing Race
      *2 Thrust Needle Roller Bearing
      *3 No. 9 Thrust Bearing Race
      BEARING AND RACE DIAMETER

      Item Inside Outside
      Thrust needle roller bearing 20.8 mm (0.819 in.) 38.5 mm (1.516 in.)
      Thrust bearing race 19.0 mm (0.748 in.) 35.0 mm (1.378 in.)
      No. 9 thrust bearing race 43.3 mm (1.705 in.) 56.7 mm (2.232 in.)
    3. Coat the No. 9 thrust bearing race and the thrust bearing race with petroleum jelly, and install them onto the rear planetary gear assembly.
    4. Install the rear planetary gear assembly to the automatic transmission case sub-assembly.
      GTY456606Courtesy of © TOYOTA, LICENSE AGREEMENT TMS1002
  8. INSPECT PACK CLEARANCE OF NO. 4 BRAKE 

    See step  3

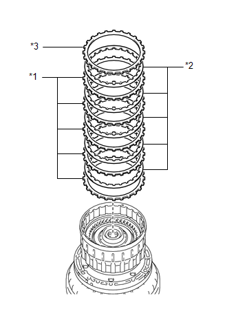
  9. INSTALL NO. 4 BRAKE DISC 
    1. Install the 2 No. 4 brake flanges, 5 No. 4 brake discs and the 4 No. 4 brake plates to the automatic transmission case sub-assembly.
      GTY468848Courtesy of © TOYOTA, LICENSE AGREEMENT TMS1002
      *1 No. 4 Brake Flange
      *2 No. 4 Brake Disc
      *3 No. 4 Brake Plate

      Installation order

      *1 - *2 - *3 - *2 - *3 - *2 - *3 - *2 - *3 - *2 - *1

      NOTE:

      Make sure that the No. 4 brake discs, No. 4 brake plates and No. 4 brake flanges are installed in the correct order.

  10. INSTALL BRAKE PLATE STOPPER SPRING 
    1. Install the brake plate stopper spring to the automatic transmission case sub-assembly.
      GTY466416Courtesy of © TOYOTA, LICENSE AGREEMENT TMS1002
  11. INSTALL REAR PLANETARY RING GEAR FLANGE SUB-ASSEMBLY 
    1. Using a screwdriver, install the rear planetary ring gear flange sub-assembly to the rear planetary ring gear with the snap ring.
      GTY457224Courtesy of © TOYOTA, LICENSE AGREEMENT TMS1002
      *1 Protective Tape
      NOTE:

      Be careful not to damage the rear planetary ring gear.

      HINT: 

      Tape the screwdriver tip before use.

  12. INSTALL REAR PLANETARY RING GEAR 
    1. Install the No. 8 thrust bearing race, thrust needle roller bearing, No. 7 thrust bearing race and rear planetary ring gear to the intermediate shaft.
      GTY464926Courtesy of © TOYOTA, LICENSE AGREEMENT TMS1002
      *1 Rear Planetary Ring Gear
      *2 No. 7 Thrust Bearing Race
      *3 Thrust Needle Roller Bearing
      *4 No. 8 Thrust Bearing Race
      BEARING AND RACE DIAMETER

      Item Inside Outside
      No. 7 thrust bearing race 29.6 mm (1.165 in.) 44.9 mm (1.768 in.)
      Thrust needle roller bearing 27.8 mm (1.095 in.). 43.8 mm (1.726 in.)
      No. 8 thrust bearing race 27.8 mm (1.095 in.) 43.7 mm (1.721 in.)
  13. INSTALL NO. 3 ONE-WAY CLUTCH ASSEMBLY 
    1. Install the No. 3 one-way clutch assembly and one-way clutch inner race to the intermediate shaft.
      GTY466359Courtesy of © TOYOTA, LICENSE AGREEMENT TMS1002
      *1 No. 3 One-way Clutch Assembly
      *2 One-way Clutch Inner Race
  14. INSTALL INTERMEDIATE SHAFT 
    1. Install the intermediate shaft together with the No. 3 one-way clutch assembly to the automatic transmission case sub-assembly.
      GTY466387Courtesy of © TOYOTA, LICENSE AGREEMENT TMS1002
    2. Using SST, install the snap ring to the automatic transmission case sub-assembly.
      • SST: 09350-30020 
        1. 09350-07060
      GTY462302Courtesy of © TOYOTA, LICENSE AGREEMENT TMS1002
  15. INSTALL CENTER PLANETARY GEAR ASSEMBLY 
    1. Install the center planetary gear assembly and planetary sun gear to the automatic transmission case sub-assembly.
      GTY458565Courtesy of © TOYOTA, LICENSE AGREEMENT TMS1002
      *1 Thrust Needle Roller Bearing
      *2 No. 4 Thrust Bearing Race
      *3 Center Planetary Gear Assembly
      *4 Planetary Sun Gear
      BEARING AND RACE DIAMETER

      Item Inside Outside
      Thrust needle roller bearing 58.5 mm (2.303 in.) 73.5 mm (2.894 in.)
      No. 4 thrust bearing race 54.8 mm (2.157 in.) 71.2 mm (2.803 in.)
    2. Coat the No. 4 thrust bearing race with petroleum jelly, and install it onto the center planetary gear assembly.
    3. Install the thrust needle roller bearing to the center planetary gear assembly.
  16. INSTALL NO. 2 BRAKE PISTON 
    1. Coat 2 new O-rings with ATF, and install them to the No. 2 brake piston.
      GTY466623Courtesy of © TOYOTA, LICENSE AGREEMENT TMS1002
      *1 O-ring
    2. Press the No. 2 brake piston into the No. 2 brake cylinder.
      NOTE:

      Be careful not to damage the O-rings.

  17. INSTALL NO. 2 BRAKE CYLINDER 
    1. Install the No. 2 brake cylinder to the automatic transmission case sub-assembly.

      HINT: 

      Install the No. 2 brake cylinder so that the projection protrudes from the upside of the automatic transmission case sub-assembly.

      GTY468464Courtesy of © TOYOTA, LICENSE AGREEMENT TMS1002
    2. Check that the oil pressure apply hole of the No. 2 brake cylinder aligns with the oil pressure apply hole of the automatic transmission case sub-assembly.
      GTY466386Courtesy of © TOYOTA, LICENSE AGREEMENT TMS1002
  18. INSTALL NO. 2 BRAKE DISC 
    1. Install the No. 2 brake piston return spring sub-assembly to the automatic transmission case sub-assembly as shown in the illustration.
      GTY460602Courtesy of © TOYOTA, LICENSE AGREEMENT TMS1002
      *a Identification shape
      NOTE:

      Make sure that the identification shape of the No. 2 brake piston return spring sub-assembly faces the upper right side as shown in the illustration.

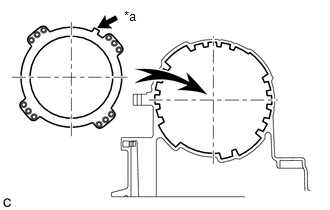
    2. Install the 2 No. 2 brake flanges, 4 No. 2 brake discs and 3 No. 2 brake plates to the automatic transmission case sub-assembly.
      GTY468858Courtesy of © TOYOTA, LICENSE AGREEMENT TMS1002
      *1 No. 2 Brake Flange
      *2 No. 2 Brake Disc
      *3 No. 2 Brake Plate

      Installation order

      *1 - *2 - *3 - *2 - *3 - *2 - *3 - *2 - *1

      NOTE:

      Make sure that the No. 2 brake discs, No. 2 brake plates and No. 2 brake flanges are installed in the correct order.

    3. Using SST and a screwdriver, compress the No. 2 brake piston return spring sub-assembly and install the snap ring to the automatic transmission case sub-assembly.
      GTY468764Courtesy of © TOYOTA, LICENSE AGREEMENT TMS1002
      *1 Protective Tape
      • SST: 09350-3002009380-60010 
        1. 09350-07020
        2. 09381-06030
        3. 09381-06050
        4. 09381-06080
        5. 09381-06090
        6. 09381-06100
        7. 09381-06110
      NOTE:

      Be careful not to damage the automatic transmission case sub-assembly.

      HINT: 

      Tape the screwdriver tip before use.

  19. INSPECT NO. 2 BRAKE PISTON 

    See step  11

  20. INSTALL NO. 1 BRAKE PISTON 
    1. Coat 2 new O-rings with ATF, and install them to the No. 1 brake piston.
      GTY457208Courtesy of © TOYOTA, LICENSE AGREEMENT TMS1002
      *1 O-ring
    2. Press the No. 1 brake piston into the No. 1 brake cylinder.
      NOTE:

      Be careful not to damage the O-rings.

  21. INSTALL NO. 1 BRAKE CYLINDER 
    1. Install the No. 1 brake cylinder and brake piston return spring sub-assembly to the automatic transmission case sub-assembly.
      GTY469636Courtesy of © TOYOTA, LICENSE AGREEMENT TMS1002
      *1 Brake Piston Return Spring Sub-assembly
      *2 No. 1 Brake Cylinder

      HINT: 

      Install the No. 1 brake cylinder so that the projection protrudes from the upside of the automatic transmission case sub-assembly.

    2. Check that the oil pressure apply hole of the No. 1 brake cylinder aligns with the oil pressure apply hole of the automatic transmission case sub-assembly.
      GTY466385Courtesy of © TOYOTA, LICENSE AGREEMENT TMS1002
    3. Using SST and a screwdriver, compress the brake piston return spring sub-assembly and install the snap ring to the automatic transmission case sub-assembly.
      • SST: 09350-3002009351-40010 
        1. 09350-07020
        2. 09351-04010
        3. 09351-04020
      GTY465645Courtesy of © TOYOTA, LICENSE AGREEMENT TMS1002
      *1 Protective Tape
      NOTE:

      Be careful not to damage the automatic transmission case sub-assembly.

      HINT: 

      Tape the screwdriver tip before use.

  22. INSTALL CENTER PLANETARY RING GEAR 
    1. Install the front planetary ring gear flange sub-assembly to the center planetary ring gear.
    2. Using a screwdriver, install the snap ring to the center planetary ring gear.
      GTY469132Courtesy of © TOYOTA, LICENSE AGREEMENT TMS1002
      *1 Protective Tape
      NOTE:

      Be careful not to damage the center planetary ring gear.

      HINT: 

      Tape the screwdriver tip before use.

    3. Install the center planetary ring gear to the front planetary ring gear.
    4. Using a screwdriver, install the snap ring to the front planetary ring gear.
      GTY459781Courtesy of © TOYOTA, LICENSE AGREEMENT TMS1002
      *1 Protective Tape
      NOTE:
      • Be careful not to damage the front planetary ring gear.
      • Install the snap ring to the front planetary ring gear so that both ends of the snap ring come to the center of a protrusion on the front planetary ring gear.

      HINT: 

      Tape the screwdriver tip before use.

  23. INSTALL FRONT PLANETARY RING GEAR 
    1. Install the front planetary ring gear to the automatic transmission case sub-assembly.
      GTY465574Courtesy of © TOYOTA, LICENSE AGREEMENT TMS1002
  24. INSTALL FRONT PLANETARY GEAR ASSEMBLY 
    1. Install the No. 2 planetary carrier thrust washer and front planetary flange thrust needle roller bearing to the automatic transmission case sub-assembly.
      GTY459513Courtesy of © TOYOTA, LICENSE AGREEMENT TMS1002
      *1 Front Planetary Flange Rear Thrust Bearing Race
      *2 Front Planetary Flange Thrust Needle Roller Bearing
      *3 No. 2 Planetary Carrier Thrust Washer
      BEARING AND RACE DIAMETER

      Item Inside Outside
      Front planetary flange thrust needle roller bearing 38.6 mm (1.520 in.) 53.1 mm (2.091 in.)
      Front planetary flange rear thrust bearing race 34.9 mm (1.374 in.) 50.8 mm (1.999 in.)
    2. Coat the front planetary flange rear thrust bearing race with petroleum jelly, and install it onto the front planetary ring gear.
    3. Install the front planetary gear assembly and one-way clutch inner race sub-assembly to the automatic transmission case sub-assembly.
      GTY468672Courtesy of © TOYOTA, LICENSE AGREEMENT TMS1002
      *1 One-way Clutch Inner Race Sub-assembly
      *2 Front Planetary Gear Assembly
  25. INSPECT PISTON STROKE OF NO. 1 BRAKE PISTON 

    See step  15

  26. INSTALL NO. 1 BRAKE DISC 
    1. Install the 3 No. 1 brake plates, 3 No. 1 brake discs and No. 1 brake flange to the automatic transmission case sub-assembly.
      GTY470243Courtesy of © TOYOTA, LICENSE AGREEMENT TMS1002
      *1 No. 1 Brake Plate
      *2 No. 1 Brake Disc
      *3 No. 1 Brake Flange

      Installation order

      *1 - *2 - *1 - *2 - *1 - *2 - *3

      NOTE:

      Make sure that the No. 1 brake discs, No. 1 brake plates and No. 1 brake flange are installed in the correct order.

  27. INSTALL ONE-WAY CLUTCH ASSEMBLY 
    1. Install the No. 1 planetary carrier thrust washer and one-way clutch assembly to the automatic transmission case sub-assembly.
      GTY466863Courtesy of © TOYOTA, LICENSE AGREEMENT TMS1002
      *1 One-way Clutch Assembly
      *2 No. 1 Planetary Carrier Thrust Washer
  28. INSTALL 2ND BRAKE PISTON 
    1. Coat 2 new O-rings with ATF, and install them to the 2nd brake piston.
      GTY463145Courtesy of © TOYOTA, LICENSE AGREEMENT TMS1002
      *1 O-ring
    2. Press the 2nd brake piston into the 2nd brake cylinder.
      NOTE:

      Be careful not to damage the O-rings.

    3. Using a screwdriver, install the No. 3 brake piston return spring sub-assembly to the 2nd brake cylinder with the snap ring.
      GTY461222Courtesy of © TOYOTA, LICENSE AGREEMENT TMS1002
      *1 Snap Ring
      *2 No. 3 Brake Piston Return Spring Sub-assembly
      *3 2nd Brake Cylinder
      NOTE:
      • Be sure that the end gap of the snap ring is not aligned with the spring retainer claw.
      • Be careful not to damage the 2nd brake cylinder.

      HINT: 

      Tape the screwdriver tip before use.

  29. INSTALL 2ND BRAKE CYLINDER 
    1. Install the 2nd brake cylinder to the automatic transmission case sub-assembly.
      GTY470614Courtesy of © TOYOTA, LICENSE AGREEMENT TMS1002
    2. Check that the oil pressure apply hole of the 2nd brake cylinder aligns with the oil pressure apply hole of the automatic transmission case sub-assembly.
      GTY466384Courtesy of © TOYOTA, LICENSE AGREEMENT TMS1002
    3. Using SST, install the snap ring to the automatic transmission case sub-assembly.
      GTY468825Courtesy of © TOYOTA, LICENSE AGREEMENT TMS1002
      • SST: 09350-30020 
        1. 09350-07060
  30. INSTALL NO. 3 BRAKE DISC (2ND BRAKE DISC SET) 
    1. Install the 3 No. 3 brake plates, 3 No. 3 brake discs and No. 3 brake flange to the automatic transmission case sub-assembly.
      GTY459990Courtesy of © TOYOTA, LICENSE AGREEMENT TMS1002
      *1 No. 3 Brake Plate
      *2 No. 3 Brake Disc
      *3 No. 3 Brake Flange

      Installation order

      *1 - *2 - *1 - *2 - *1 - *2 - *3

      NOTE:

      Make sure that the No. 3 brake discs, No. 3 brake plates and No. 3 brake flange are installed in the correct order.

    2. Using a screwdriver, install the snap ring to the automatic transmission case sub-assembly.
      GTY462774Courtesy of © TOYOTA, LICENSE AGREEMENT TMS1002
      *1 Protective Tape
      NOTE:

      Be careful not to damage the automatic transmission case sub-assembly.

      HINT: 

      Tape the screwdriver tip before use.

  31. INSTALL DIRECT CLUTCH PISTON SUB-ASSEMBLY 
    1. Coat 2 new O-rings with ATF, and install them to the direct clutch piston sub-assembly.
      GTY465941Courtesy of © TOYOTA, LICENSE AGREEMENT TMS1002
      *1 O-ring
    2. Coat a new O-ring with ATF, and install it to the No. 2 clutch balancer.
      GTY464933Courtesy of © TOYOTA, LICENSE AGREEMENT TMS1002
      *1 O-ring
    3. Install the No. 2 clutch balancer and direct clutch return spring sub-assembly to the direct clutch piston sub-assembly.
      GTY469732Courtesy of © TOYOTA, LICENSE AGREEMENT TMS1002
      *1 Direct Clutch Piston Sub-assembly
      *2 Direct Clutch Return Spring Sub-assembly
      *3 No. 2 Clutch Balancer
    4. Press the direct clutch piston sub-assembly into the reverse clutch drum sub-assembly by both hands.
      NOTE:

      Be careful not to damage the O-rings.

    5. Place SST on the No. 2 clutch balancer, and compress the direct clutch return spring sub-assembly with a press.
      GTY458466Courtesy of © TOYOTA, LICENSE AGREEMENT TMS1002
      • SST: 09320-89010 
      NOTE:

      Stop pressing when the spring sheet is lowered to the place 1 to 2 mm (0.0394 to 0.0787 in.) from the snap ring groove to prevent the spring sheet from being deformed.

    6. Using SST, install the snap ring to the reverse clutch drum sub-assembly.
      • SST: 09350-30020 
        1. 09350-07070
      NOTE:
      • Be sure that the end gap of the snap ring is not aligned with the spring retainer claw.
      • Do not expand the snap ring excessively.
    7. Set the end gap of the snap ring in the No. 2 clutch balancer as shown in the illustration.
      GTY458658Courtesy of © TOYOTA, LICENSE AGREEMENT TMS1002
      *1 Stopper
  32. INSTALL REVERSE CLUTCH PISTON SUB-ASSEMBLY 
    1. Coat a new O-ring with ATF, and install it to the reverse clutch drum sub-assembly.
      GTY462296Courtesy of © TOYOTA, LICENSE AGREEMENT TMS1002
      *1 O-ring
    2. Coat a new O-ring with ATF, and install it to the reverse clutch piston sub-assembly.
      GTY464878Courtesy of © TOYOTA, LICENSE AGREEMENT TMS1002
      *1 O-ring
    3. Press the reverse clutch drum sub-assembly into the reverse clutch piston sub-assembly with both hands.
      GTY468247Courtesy of © TOYOTA, LICENSE AGREEMENT TMS1002
      *1 Reverse Clutch Piston Sub-assembly
      *2 Reverse Clutch Drum Sub-assembly
      NOTE:

      Be careful not to damage the O-rings.

  33. INSTALL NO. 3 CLUTCH BALANCER 
    1. Coat a new O-ring with ATF, and install it to the reverse clutch piston sub-assembly.
      GTY467305Courtesy of © TOYOTA, LICENSE AGREEMENT TMS1002
      *1 O-ring
    2. Install the reverse clutch return spring sub-assembly and No. 3 clutch balancer to the reverse clutch piston sub-assembly.
      GTY457674Courtesy of © TOYOTA, LICENSE AGREEMENT TMS1002
      *1 No. 3 Clutch Balancer
      *2 Reverse Clutch Return Spring Sub-assembly
      NOTE:

      Be careful not to damage the O-rings.

    3. Place SST on the No. 3 clutch balancer, and compress the reverse clutch return spring sub-assembly with a press.
      GTY465762Courtesy of © TOYOTA, LICENSE AGREEMENT TMS1002
      • SST: 09387-00070 
      NOTE:

      Stop pressing when the spring sheet is lowered to the place 1 to 2 mm (0.0394 to 0.0787 in.) from the snap ring groove to prevent the spring sheet from being deformed.

    4. Using SST, install the snap ring to the reverse clutch drum sub-assembly.
      • SST: 09350-30020 
        1. 09350-07070
      NOTE:
      • Be sure that the end gap of the snap ring is not aligned with the spring retainer claw.
      • Do not expand the snap ring excessively.
    5. Set the end gap of the snap ring in the No. 3 clutch balancer as shown in the illustration.
      GTY467517Courtesy of © TOYOTA, LICENSE AGREEMENT TMS1002
      *1 Snap Ring
      *a Correct
      *b Incorrect
  34. INSTALL DIRECT CLUTCH DISK (for NO. 2 CLUTCH) 
    1. Install the 5 direct clutch plates, 5 direct clutch discs and direct clutch flange to the reverse clutch drum sub-assembly.
      GTY459040Courtesy of © TOYOTA, LICENSE AGREEMENT TMS1002
      *1 Direct Clutch Plate
      *2 Direct Clutch Disc
      *3 Direct Clutch Flange

      Installation order

      *1 - *2 - *1 - *2 - *1 - *2 - *1 - *2 - *1 - *2 - *3

      NOTE:

      Make sure that the direct clutch discs, direct clutch plates and direct clutch flange are installed in the correct order.

    2. Using a screwdriver, install the 2 snap rings to the reverse clutch drum sub-assembly.
      GTY459720Courtesy of © TOYOTA, LICENSE AGREEMENT TMS1002
      *1 Protective Tape
      NOTE:

      Be careful not to damage the reverse clutch drum sub-assembly.

      HINT: 

      Tape the screwdriver tip before use.

  35. INSPECT PACK CLEARANCE OF NO. 2 CLUTCH 

    See step  25

  36. INSTALL REVERSE CLUTCH FLANGE 
    1. Install the reverse clutch flange to the reverse clutch drum sub-assembly.
      GTY470778Courtesy of © TOYOTA, LICENSE AGREEMENT TMS1002
  37. INSTALL REVERSE CLUTCH REACTION SLEEVE 
    1. Install the 4 reverse clutch discs, 3 reverse clutch plates, reverse clutch flange, clutch cushion plate, and reverse clutch reaction sleeve to the reverse clutch drum sub-assembly.
      GTY463135Courtesy of © TOYOTA, LICENSE AGREEMENT TMS1002
      *1 Reverse Clutch Disc
      *2 Reverse Clutch Plate
      *3 Reverse Clutch Flange
      *4 Clutch Cushion Plate
      *5 Reverse Clutch Reaction Sleeve

      Installation order

      *1 - *2 - *1 - *2 - *1 - *2 - *1 - *3 - *4 - *5

      NOTE:

      Make sure that the reverse clutch discs, reverse clutch plates, reverse clutch flange, clutch cushion plate and reverse clutch reaction sleeve are installed in the correct order.

    2. Using a screwdriver, install the snap ring to the reverse clutch piston sub-assembly.
      GTY459868Courtesy of © TOYOTA, LICENSE AGREEMENT TMS1002
      *1 Protective Tape
      NOTE:

      Be careful not to damage the reverse clutch piston sub-assembly.

      HINT: 

      Tape the screwdriver tip before use.

  38. INSPECT PACK CLEARANCE OF NO. 3 CLUTCH 

    See step  26

  39. REMOVE REVERSE CLUTCH REACTION SLEEVE 
    1. Using a screwdriver, remove the snap ring from the reverse clutch piston sub-assembly.
      GTY459868Courtesy of © TOYOTA, LICENSE AGREEMENT TMS1002
      *1 Protective Tape
      NOTE:

      Be careful not to damage the reverse clutch piston sub-assembly.

      HINT: 

      Tape the screwdriver tip before use.

    2. Remove the reverse clutch reaction sleeve, clutch cushion plate, reverse clutch flange, 4 reverse clutch discs and 3 reverse clutch plates from the reverse clutch drum sub-assembly.
      GTY466373Courtesy of © TOYOTA, LICENSE AGREEMENT TMS1002
  40. INSTALL FORWARD CLUTCH PISTON SUB-ASSEMBLY 
    1. Install the coast clutch piston to the forward clutch piston sub-assembly.
      GTY467822Courtesy of © TOYOTA, LICENSE AGREEMENT TMS1002
      *1 Coast Clutch Piston
      *2 Forward Clutch Piston Sub-assembly
    2. Coat a new O-ring with ATF, and install it to the input shaft sub-assembly.
      GTY464301Courtesy of © TOYOTA, LICENSE AGREEMENT TMS1002
      *1 O-ring
    3. Install the forward clutch piston sub-assembly to the input shaft sub-assembly.
      GTY457712Courtesy of © TOYOTA, LICENSE AGREEMENT TMS1002
      NOTE:

      Be careful not to damage the O-rings.

  41. INSTALL NO. 1 CLUTCH BALANCER 
    1. Coat a new D-ring with ATF, and install it to the No. 1 clutch balancer.
      GTY465295Courtesy of © TOYOTA, LICENSE AGREEMENT TMS1002
      *1 D-ring
    2. Install the forward clutch return spring sub-assembly and No. 1 clutch balancer to the input shaft sub-assembly.
      GTY461511Courtesy of © TOYOTA, LICENSE AGREEMENT TMS1002
      *1 No. 1 Clutch Balancer
      *2 Forward Clutch Return Spring Sub-assembly
      NOTE:

      Be careful not to damage the D-ring.

    3. Place SST on the No. 1 clutch balancer, and compress the forward clutch return spring sub-assembly with a press.
      GTY459480Courtesy of © TOYOTA, LICENSE AGREEMENT TMS1002
      • SST: 09387-00110 
      NOTE:

      Stop pressing when the spring sheet is lowered to the place 1 to 2 mm (0.0394 to 0.0787 in.) from the snap ring groove to prevent the spring sheet from being deformed.

    4. Using SST, Install the snap ring to the input shaft sub-assembly.
      • SST: 09350-30020 
        1. 09350-07070
      NOTE:
      • Be sure that the end gap of the snap ring is not aligned with the spring retainer claw.
      • Do not expand the snap ring excessively.
    5. Set the end gap of the snap ring in the No. 1 clutch balancer as shown in the illustration.
      GTY458901Courtesy of © TOYOTA, LICENSE AGREEMENT TMS1002
      *1 Snap Ring
      *2 Correct
      *3 Incorrect
  42. INSTALL COAST CLUTCH DISC (for NO. 4 CLUTCH) 
    1. Install the 4 coast clutch plates, 4 coast clutch discs and coast clutch flange to the forward clutch piston sub-assembly.
      GTY469031Courtesy of © TOYOTA, LICENSE AGREEMENT TMS1002
      *1 Coast Clutch Plate
      *2 Coast Clutch Disc
      *3 Coast Clutch Flange

      Installation order

      *1 - *2 - *1 - *2 - *1 - *2 - *1 - *2 - *3

      NOTE:

      Make sure that the coast clutch discs, coast clutch plates and coast clutch flange are installed in the correct order.

    2. Using a screwdriver, install the snap ring to the forward clutch piston sub-assembly.
      GTY468880Courtesy of © TOYOTA, LICENSE AGREEMENT TMS1002
      *1 Protective Tape
      NOTE:

      Be careful not to damage the forward clutch piston sub-assembly.

      HINT: 

      Tape the screwdriver tip before use.

  43. INSPECT PACK CLEARANCE OF NO. 4 CLUTCH 

    See step  31

  44. INSTALL FORWARD CLUTCH DISC (for NO. 1 CLUTCH) 
    1. Install the clutch cushion plate, 4 forward clutch plates, 4 forward clutch discs and forward clutch flange to the input shaft sub-assembly.
      GTY464917Courtesy of © TOYOTA, LICENSE AGREEMENT TMS1002
      *1 Clutch Cushion Plate
      *2 Forward Clutch Plate
      *3 Forward1 Clutch Disc
      *4 Forward Clutch Flange

      Installation order

      *1 - *2 - *3 - *2 - *3 - *2 - *3 - *2 - *3 - *4

      NOTE:

      Make sure that the forward clutch discs, forward clutch plates, forward clutch flange and clutch cushion plate are installed in the correct order.

    2. Using a screwdriver, install the snap ring to the input shaft sub-assembly.
      GTY467415Courtesy of © TOYOTA, LICENSE AGREEMENT TMS1002
      *1 Protective Tape
      NOTE:

      Be careful not to damage the input shaft sub-assembly.

      HINT: 

      Tape the screwdriver tip before use.

  45. INSPECT PACK CLEARANCE OF NO. 1 CLUTCH 

    See step  29

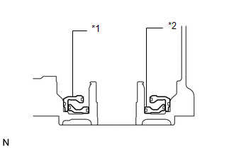
  46. INSTALL CLUTCH DRUM OIL SEAL RING 
    1. Coat 4 new clutch drum oil seal rings with ATF.
      GTY466451Courtesy of © TOYOTA, LICENSE AGREEMENT TMS1002
    2. Squeeze the ends of the 4 clutch drum oil seal rings together, and install them to the input shaft groove.
      NOTE:

      Do not squeeze the oil seal rings excessively.

      HINT: 

      After installing the clutch drum oil seal rings, check that they rotate smoothly.

  47. INSTALL INPUT SHAFT SUB-ASSEMBLY 
    1. Install the input shaft sub-assembly to the reverse clutch drum sub-assembly.
      GTY466449Courtesy of © TOYOTA, LICENSE AGREEMENT TMS1002
    2. Install the input shaft rear thrust bearing race and thrust needle roller bearing to the input shaft sub-assembly.
      GTY470799Courtesy of © TOYOTA, LICENSE AGREEMENT TMS1002
      *1 Thrust Needle Roller Bearing
      *2 Input Shaft Rear Thrust Bearing Race
      BEARING AND RACE DIAMETER

      Item Inside Outside
      Thrust needle roller bearing 20.0 mm (0.787 in.) 41.0 mm (1.614 in.)
      Input shaft rear thrust bearing race 20.0 mm (0.787 in.) 35.6 mm (1.402 in.)
  48. INSTALL NO. 4 ONE-WAY CLUTCH ASSEMBLY 
    1. Install the No. 2 clutch hub thrust washer and No. 4 one-way clutch assembly to the coast clutch hub sub-assembly.
      GTY457808Courtesy of © TOYOTA, LICENSE AGREEMENT TMS1002
      *1 Coast Clutch Hub Sub-assembly
      *2 No. 2 Clutch Hub Thrust Washer
      *3 No. 4 One-way Clutch Assembly
  49. INSTALL COAST CLUTCH HUB SUB-ASSEMBLY 
    1. Install the coast clutch hub sub-assembly to the reverse clutch drum sub-assembly.
      GTY466455Courtesy of © TOYOTA, LICENSE AGREEMENT TMS1002
  50. INSTALL FORWARD CLUTCH HUB SUB-ASSEMBLY 
    1. Install the 2 thrust needle roller bearings and No. 2 thrust bearing race to the forward clutch hub sub-assembly.
      GTY469105Courtesy of © TOYOTA, LICENSE AGREEMENT TMS1002
      *1 Thrust Needle Roller Bearing A
      *2 Thrust Needle Roller Bearing B
      *3 No. 2 Thrust Bearing Race
      BEARING AND RACE DIAMETER

      Item Inside Outside
      Thrust needle roller bearing A 42.5 mm (1.673 in.) 61.2 mm (2.409 in.)
      Thrust needle roller bearing B 33.3 mm (1.311 in.) 51.2 mm (2.016 in.)
      No. 2 thrust bearing race 31.0 mm (1.220 in.) 48.0 mm (1.890 in.)
    2. Install the No. 3 clutch hub thrust washer and the forward clutch hub sub-assembly to the reverse clutch drum sub-assembly.
      GTY470155Courtesy of © TOYOTA, LICENSE AGREEMENT TMS1002
      *1 Forward Clutch Hub Sub-Assembly
      *2 No. 3 Clutch Hub Thrust Washer
  51. INSTALL REVERSE CLUTCH DISC (for NO. 3 CLUTCH) 
    1. Install the 4 reverse clutch discs, 3 reverse clutch plates, reverse clutch flange and clutch cushion plate to the reverse clutch hub sub-assembly.
      GTY466215Courtesy of © TOYOTA, LICENSE AGREEMENT TMS1002
      *1 Reverse Clutch Disc
      *2 Reverse Clutch Plate
      *3 Reverse Clutch Flange
      *4 Clutch Cushion Plate

      Installation order

      *1 - *2 - *1 - *2 - *1 - *2 - *1 - *3 - *4

      NOTE:

      Make sure that the reverse clutch discs, reverse clutch plates, reverse clutch flange and clutch cushion plate are installed in the correct order.

  52. INSTALL REVERSE CLUTCH REACTION SLEEVE 
    1. Install the reverse clutch reaction sleeve to the reverse clutch hub sub-assembly.
      GTY466457Courtesy of © TOYOTA, LICENSE AGREEMENT TMS1002
  53. INSTALL REVERSE CLUTCH HUB SUB-ASSEMBLY 
    1. Install the reverse clutch hub sub-assembly to the reverse clutch drum sub-assembly.
      GTY466460Courtesy of © TOYOTA, LICENSE AGREEMENT TMS1002
    2. Using a screwdriver, install the snap ring to the reverse clutch piston sub-assembly.
      GTY461859Courtesy of © TOYOTA, LICENSE AGREEMENT TMS1002
      *1 Protective Tape
      NOTE:

      Be careful not to damage the reverse clutch piston sub-assembly.

      HINT: 

      Tape the screwdriver tip before use.

  54. INSTALL NO. 2 ONE-WAY CLUTCH ASSEMBLY 
    1. Install the input shaft clutch drum thrust washer and No. 2 one-way clutch assembly to the clutch drum and input shaft assembly.
      GTY470933Courtesy of © TOYOTA, LICENSE AGREEMENT TMS1002
      *1 No. 2 One-way Clutch Assembly
      *2 Input Shaft Clutch Drum Thrust Washer
  55. INSTALL CLUTCH DRUM AND INPUT SHAFT ASSEMBLY 
    1. Install the input shaft front thrust needle roller bearing and thrust needle roller bearing to the clutch drum and input shaft assembly.
      GTY461460Courtesy of © TOYOTA, LICENSE AGREEMENT TMS1002
      *1 Thrust Needle Roller Bearing
      *2 Input Shaft Front Thrust Bearing Race
      *3 Input Shaft Front Thrust Needle Roller Bearing
      *4 Clutch Drum Thrust Washer
      BEARING AND RACE DIAMETER

      Item Inside Outside
      Thrust needle roller bearing 71.9 mm (2.831 in.) 85.6 mm (3.370 in.)
      Input shaft front thrust bearing race 37.0 mm (1.457 in.) 51.2 mm (2.016 in.)
      Input shaft front thrust needle roller bearing 33.5 mm (1.319 in.) 48.0 mm (1.890 in.)
    2. Coat the input shaft front thrust bearing race and clutch drum thrust washer with petroleum jelly, and install them onto the clutch drum and input shaft assembly.
    3. Install the clutch drum and input shaft assembly to the automatic transmission case sub-assembly.
      GTY470762Courtesy of © TOYOTA, LICENSE AGREEMENT TMS1002
  56. INSTALL OIL PUMP ASSEMBLY 
    1. Install the No. 1 thrust bearing race to the oil pump assembly.
      GTY458503Courtesy of © TOYOTA, LICENSE AGREEMENT TMS1002
      *1 No. 1 Thrust Bearing Race
      *2 Oil Pump Assembly
      *3 O-ring
      RACE DIAMETER

      Item Inside Outside
      No. 1 thrust bearing race 74.2 mm (2.921 in.) 87.7 mm (3.453 in.)
    2. Coat a new O-ring with ATF, and install it to the oil pump assembly.
    3. Place the oil pump assembly through the input shaft, and align the bolt holes of the oil pump assembly with the automatic transmission case sub-assembly.
      NOTE:

      Be careful not to damage the O-ring.

    4. Hold the input shaft, and lightly press the oil pump assembly to slide the clutch drum oil seal rings into the clutch drum and input shaft assembly.
    5. Install the 9 bolts.
      GTY142798Courtesy of © TOYOTA, LICENSE AGREEMENT TMS1002

      Torque: 21.1 N.m (215 kgf/cm, 16 ft.lbf) 

  57. INSPECT INDIVIDUAL PISTON OPERATION 

    See step  20

  58. INSTALL MANUAL VALVE LEVER SHAFT OIL SEAL 
    1. Coat the lips of the manual valve lever shaft oil seals with MP grease.
      GTY470860Courtesy of © TOYOTA, LICENSE AGREEMENT TMS1002
      *a RH Side
      *b LH Side
    2. Using SST and a hammer, drive in 2 new manual valve lever shaft oil seals to the automatic transmission case sub-assembly.
      • SST: 09350-30020 
        1. 09350-07110

      Drive in depth

      -0.3 to 0.3 mm (-0.0118 to 0.0118 in.)

  59. INSTALL MANUAL VALVE LEVER SUB-ASSEMBLY 
    1. Install a new spacer to the manual valve lever sub-assembly.
      GTY461880Courtesy of © TOYOTA, LICENSE AGREEMENT TMS1002
      *1 Spacer
      *2 Manual Valve Lever Sub-assembly
    2. Pass the manual valve lever shaft through the automatic transmission case sub-assembly and manual valve lever sub-assembly to install it.
    3. Using a hammer, drive in a new spring pin to the manual valve lever sub-assembly.
      GTY466382Courtesy of © TOYOTA, LICENSE AGREEMENT TMS1002
    4. Align the manual valve lever sub-assembly indentation with the spacer hole, and stake them together with a punch.
      GTY466380Courtesy of © TOYOTA, LICENSE AGREEMENT TMS1002
    5. Make sure that the manual valve lever shaft rotates smoothly.
  60. INSTALL PARKING LOCK PAWL SHAFT 
    1. Install a new E-ring to the parking lock pawl shaft.
      GTY460591Courtesy of © TOYOTA, LICENSE AGREEMENT TMS1002
      *1 Parking Lock Pawl
      *2 E-ring
      *3 Parking Lock Pawl Shaft
      *4 Torsion Spring
    2. Install the parking lock pawl, parking lock pawl shaft and torsion spring to the automatic transmission case sub-assembly.
  61. INSTALL PARKING LOCK ROD SUB-ASSEMBLY 
    1. Install the parking lock rod sub-assembly to the manual valve lever sub-assembly.
      GTY470782Courtesy of © TOYOTA, LICENSE AGREEMENT TMS1002
  62. INSTALL PARKING LOCK PAWL BRACKET 
    1. Install the parking lock pawl bracket to the automatic transmission case sub-assembly with the 3 bolts.
      GTY466464Courtesy of © TOYOTA, LICENSE AGREEMENT TMS1002

      Torque: 7.4 N.m (75 kgf/cm, 65 in.lbf) 

    2. Move the manual valve lever sub-assembly to the P position, and confirm that the rear planetary gear is correctly locked by the parking lock pawl.
      GTY457945Courtesy of © TOYOTA, LICENSE AGREEMENT TMS1002
      *1 Rear Planetary Gear
      *2 Manual Valve Lever Sub-assembly
      *3 Parking Lock Pawl
  63. INSTALL B-1 ACCUMULATOR VALVE 
    1. Install the spring and B-1 accumulator valve to the automatic transmission case sub-assembly.
      GTY468491Courtesy of © TOYOTA, LICENSE AGREEMENT TMS1002
      B-1 ACCUMULATOR SPRING

      Free Length Outer Diameter Color
      46.36 mm (1.825 in.) 17.1 mm (0.673 in.) Natural
  64. INSTALL C-3 ACCUMULATOR PISTON 
    1. Using a screwdriver, install the spring sub-assembly to the C-3 accumulator piston with the snap ring.
      GTY468314Courtesy of © TOYOTA, LICENSE AGREEMENT TMS1002
      C-3 ACCUMULATOR SPRING SUB-ASSEMBLY

      Free Length Coil Outer Diameter Color
      23.0 mm (0.906 in.) 14.0 mm (0.551 in.) Pink
      NOTE:

      Be careful not to damage the C-3 accumulator piston.

      HINT: 

      Tape the screwdriver tip before use.

    2. Coat 2 new O-rings with ATF, and install them to the C-3 accumulator piston.
      GTY457349Courtesy of © TOYOTA, LICENSE AGREEMENT TMS1002
      *1 O-ring
      *2 Inner Spring
      *3 Outer Spring
    3. Install the 2 springs and C-3 accumulator piston to the automatic transmission case sub-assembly.
      C-3 ACCUMULATOR SPRING

      Spring Free Length Outer Diameter Color
      Inner 44.0 mm (1.732 in.) 14 mm (0.551 in.) Yellow
      Outer 76.65 mm (3.018 in.) 20.1 mm (0.791 in.) White
  65. INSTALL B-3 ACCUMULATOR PISTON 
    1. Using a screwdriver, install the spring sub-assembly to the B-3 accumulator piston with the snap ring.
      GTY468314Courtesy of © TOYOTA, LICENSE AGREEMENT TMS1002
      B-3 ACCUMULATOR SPRING SUB-ASSEMBLY

      Free Length Coil Outer Diameter Color
      30.0 mm (1.181 in.) 16.2 mm (0.638 in.) White
      NOTE:

      Be careful not to damage the B-3 accumulator piston.

      HINT: 

      Tape the screwdriver tip before use.

    2. Coat 2 new O-rings with ATF, and install them to the B-3 accumulator piston.
      GTY459835Courtesy of © TOYOTA, LICENSE AGREEMENT TMS1002
      *1 O-ring
      *2 Spring
    3. Install the spring and B-3 accumulator piston to the automatic transmission case sub-assembly.
      B-3 ACCUMULATOR SPRING

      Free Length Outer Diameter Color
      64.5 mm (2.539 in.) 19.5 mm (0.768 in.) Orange
  66. INSTALL C-2 ACCUMULATOR PISTON 
    1. Using a screwdriver, install the spring sub-assembly to the C-2 accumulator piston with the snap ring.
      GTY468314Courtesy of © TOYOTA, LICENSE AGREEMENT TMS1002
      C-2 ACCUMULATOR SPRING SUB-ASSEMBLY

      Free Length Free Length Color
      18.5 mm (0.728 in.) 14.0 mm (0.551 in.) Green
      NOTE:

      Be careful not to damage the C-2 accumulator piston.

      HINT: 

      Tape the screwdriver tip before use.

    2. Coat 2 new O-rings with ATF, and install them to the C-2 accumulator piston.
      GTY467987Courtesy of © TOYOTA, LICENSE AGREEMENT TMS1002
      *1 O-ring
      *2 Spring
    3. Install the spring and C-2 accumulator piston to the automatic transmission case sub-assembly.
      C-2 ACCUMULATOR SPRING

      Free Length Outer Diameter Color
      65.07 mm (2.562 in.) 16.2 mm (0.638 in.) Pink
  67. INSTALL CHECK BALL BODY 
    1. Install the check ball body the compression spring to the automatic transmission case sub-assembly.
      GTY459105Courtesy of © TOYOTA, LICENSE AGREEMENT TMS1002
      *1 Check Ball Body
      *2 Compression Spring
  68. INSTALL BRAKE DRUM GASKET 
    1. Install 3 new brake drum gaskets to the automatic transmission case sub-assembly.
      GTY466461Courtesy of © TOYOTA, LICENSE AGREEMENT TMS1002
  69. INSTALL TRANSMISSION CASE GASKET 
    1. Install 3 new transmission case gaskets to the automatic transmission case sub-assembly.
      GTY466470Courtesy of © TOYOTA, LICENSE AGREEMENT TMS1002
  70. INSTALL TRANSMISSION VALVE BODY ASSEMBLY 
    1. Connect the manual valve connecting rod sub-assembly to the manual valve lever sub-assembly.
      GTY456682Courtesy of © TOYOTA, LICENSE AGREEMENT TMS1002
      *1 Manual Valve Connecting Rod Sub-assembly
      *2 Manual Valve Lever Sub-assembly
    2. Install the transmission valve body assembly to the automatic transmission case sub-assembly with the 19 bolts.
      GTY463240Courtesy of © TOYOTA, LICENSE AGREEMENT TMS1002

      Torque: 11 N.m (112 kgf/cm, 8 ft.lbf) 

      HINT: 

      Each bolt length is indicated below.

      Bolt Bolt length
      A 25 mm (0.984 in.)
      B 36 mm (1.417 in.)
      C 45 mm (1.772 in.)
      D 50 mm (1.969 in.)
    3. Install the detent spring and detent spring cover to the transmission valve body assembly with the bolt.
      GTY463088Courtesy of © TOYOTA, LICENSE AGREEMENT TMS1002
      *1 Detent Spring Cover
      *2 Detent Spring

      Torque: 10 N.m (102 kgf/cm, 7 ft.lbf) 

  71. INSTALL TRANSMISSION WIRE 
    1. Coat a new O-ring with ATF, and install it to the ATF temperature Sensor.
      GTY456766Courtesy of © TOYOTA, LICENSE AGREEMENT TMS1002
      *1 O-ring
      *2 ATF Temperature Sensor
    2. Coat a new O-ring with ATF, and install it to the transmission wire.
      GTY461212Courtesy of © TOYOTA, LICENSE AGREEMENT TMS1002
      *1 O-ring
    3. Install the transmission wire to the automatic transmission case sub-assembly with the bolt.
      GTY466991Courtesy of © TOYOTA, LICENSE AGREEMENT TMS1002

      Torque: 5.4 N.m (55 kgf/cm, 48 in.lbf) 

    4. Connect the 9 solenoid valve connectors.
      GTY468453Courtesy of © TOYOTA, LICENSE AGREEMENT TMS1002
    5. Install the ATF temperature sensor and temperature sensor clamp to the transmission valve body assembly with the bolt.
      GTY391413Courtesy of © TOYOTA, LICENSE AGREEMENT TMS1002

      Torque: 10 N.m (102 kgf/cm, 7 ft.lbf) 

    6. Install the 2 valve body wire harness clamps to the transmission valve body assembly with the 2 bolts.
      GTY464768Courtesy of © TOYOTA, LICENSE AGREEMENT TMS1002

      for Bolt A 

      Torque: 6.4 N.m (65 kgf/cm, 57 in.lbf) 

      for Bolt B 

      Torque: 10 N.m (102 kgf/cm, 7 ft.lbf) 

  72. INSTALL VALVE BODY OIL STRAINER ASSEMBLY 
    1. Coat a new O-ring with ATF, and install it to the valve body oil strainer assembly.
      GTY462956Courtesy of © TOYOTA, LICENSE AGREEMENT TMS1002
      *1 O-ring
    2. Install the valve body oil strainer assembly to the transmission valve body assembly with the 4 bolts.
      GTY471193Courtesy of © TOYOTA, LICENSE AGREEMENT TMS1002

      Torque: 10 N.m (102 kgf/cm, 7 ft.lbf) 

  73. INSTALL AUTOMATIC TRANSMISSION OIL PAN SUB-ASSEMBLY 
    1. Install the 3 transmission oil cleaner magnets to the automatic transmission oil pan sub-assembly.
      GTY457455Courtesy of © TOYOTA, LICENSE AGREEMENT TMS1002
      *1 Transmission Oil Cleaner Magnet
    2. Install a new automatic transmission oil pan gasket and automatic transmission oil pan sub-assembly to the automatic transmission case sub-assembly with the 20 bolts.
      GTY459823Courtesy of © TOYOTA, LICENSE AGREEMENT TMS1002

      Torque: 7.0 N.m (71 kgf/cm, 62 in.lbf) 

    3. Install the drain plug and a new gasket to the automatic transmission oil pan sub-assembly.

      Torque: 20 N.m (204 kgf/cm, 15 ft.lbf) 

    4. Using a socket hexagon wrench 5 mm, install the overflow plug and a new gasket to the automatic transmission oil pan sub-assembly.

      Torque: 20 N.m (204 kgf/cm, 15 ft.lbf) 

  74. INSTALL OUTPUT SHAFT THRUST BEARING 
    1. Install the output shaft thrust bearing race, output shaft thrust bearing and rear output shaft thrust bearing race to the output shaft of the rear planetary gear assembly.
      GTY465850Courtesy of © TOYOTA, LICENSE AGREEMENT TMS1002
      *1 Output Shaft Thrust Bearing Race
      *2 Output Shaft Thrust Bearing
      *3 Rear Output Shaft Thrust Bearing Race.
      BEARING AND RACE DIAMETER

      Item Inside Outside
      Output shaft thrust bearing race 37.0 mm (1.457 in.) 51.2 mm (2.016 in.)
      Output shaft thrust bearing 36.1 mm (1.421 in.) 52.5 mm (2.067 in.)
      Rear output shaft thrust bearing race 36.1 mm (1.421 in.) 51.0 mm (2.007 in.)
    2. Using a snap ring expander, install the snap ring to the output shaft of the rear planetary gear assembly.
      GTY462347Courtesy of © TOYOTA, LICENSE AGREEMENT TMS1002
    3. Using a feeler gauge, measure the clearance between the snap ring and rear output shaft thrust bearing race.
      GTY468477Courtesy of © TOYOTA, LICENSE AGREEMENT TMS1002

      Standard clearance

      0.02 to 0.12 mm (0.000787 to 0.00472 in.)

      If the clearance is outside the standard range, select another rear output shaft thrust bearing race that brings the clearance within the standard range.

      HINT: 

      There are 12 different thicknesses for the rear output shaft thrust bearing race.

      RACE THICKNESS

      Part No. Mark Thickness
      35789-35060
      GTY463846Courtesy of © TOYOTA, LICENSE AGREEMENT TMS1002
      3.80 mm (0.150 in.)
      35789-50070
      GTY464096Courtesy of © TOYOTA, LICENSE AGREEMENT TMS1002
      3.85 mm (0.152 in.)
      35789-35070
      GTY464092Courtesy of © TOYOTA, LICENSE AGREEMENT TMS1002
      3.90 mm (0.154 in.)
      35789-50080
      GTY464094Courtesy of © TOYOTA, LICENSE AGREEMENT TMS1002
      3.95 mm (0.156 in.)
      35789-35080
      GTY464100Courtesy of © TOYOTA, LICENSE AGREEMENT TMS1002
      4.00 mm (0.157 in.)
      35789-50090
      GTY470257Courtesy of © TOYOTA, LICENSE AGREEMENT TMS1002
      4.05 mm (0.159 in.)
      35789-35090
      GTY464099Courtesy of © TOYOTA, LICENSE AGREEMENT TMS1002
      4.10 mm (0.161 in.)
      35789-50100
      GTY464098Courtesy of © TOYOTA, LICENSE AGREEMENT TMS1002
      4.15 mm (0.163 in.)
      35789-35100
      GTY464104Courtesy of © TOYOTA, LICENSE AGREEMENT TMS1002
      4.20 mm (0.165 in.)
      35789-50110
      GTY464102Courtesy of © TOYOTA, LICENSE AGREEMENT TMS1002
      4.25 mm (0.167 in.)
      35789-50120
      GTY464101Courtesy of © TOYOTA, LICENSE AGREEMENT TMS1002
      4.30 mm (0.169 in.)
      35789-50130
      GTY464166Courtesy of © TOYOTA, LICENSE AGREEMENT TMS1002
      4.35 mm (0.171 in.)
  75. INSTALL AUTOMATIC TRANSMISSION EXTENSION HOUSING OIL SEAL 
    1. Using SST and a hammer, drive in a new automatic transmission extension housing oil seal to the extension housing sub-assembly.
      GTY470759Courtesy of © TOYOTA, LICENSE AGREEMENT TMS1002
      • SST: 09325-40010 

      Drive in depth

      5.4 to 5.8 mm (0.213 to 0.228 in.)

    2. Coat the lip of the automatic transmission extension housing oil seal with MP grease.
  76. INSTALL EXTENSION HOUSING DUST DEFLECTOR 
    1. Using SST and a press, install a new extension housing dust deflector to the extension housing sub-assembly.
      GTY464016Courtesy of © TOYOTA, LICENSE AGREEMENT TMS1002
      • SST: 09950-60020 
        1. 09951-01030
  77. INSTALL TRANSMISSION CASE ADAPTER RADIAL BALL BEARING 
    1. Install the transmission case adapter radial ball bearing to the extension housing sub-assembly.
      GTY469879Courtesy of © TOYOTA, LICENSE AGREEMENT TMS1002
    2. Using snap ring pliers, install the snap ring to the extension housing sub-assembly.
  78. INSTALL EXTENSION HOUSING SUB-ASSEMBLY 
    1. Clean and degrease the threads of the 6 bolts and the 6 bolt holes and the contact surfaces of the case and the housing with non-residue solvent.
    2. Apply seal packing to the extension housing sub-assembly as shown in the illustration.
      GTY461691Courtesy of © TOYOTA, LICENSE AGREEMENT TMS1002
      *a Seal Packing
      (Seal Diameter: 1.2 mm (0.0472 in.))

      Seal packing

      Toyota Genuine Seal Packing 1281, Three Bond 1281 or equivalent

      NOTE:

      Assemble the extension housing sub-assembly within 10 minutes after the seal packing application.

    3. Apply adhesive to 2 or 3 threads on the end of the 6 bolts.
      GTY467393Courtesy of © TOYOTA, LICENSE AGREEMENT TMS1002
      *1 Adhesive

      Adhesive

      Toyota Genuine Adhesive 1344, Three Bond 1344 or equivalent

      NOTE:

      Install the 6 bolts within 3 minutes of applying adhesive.

    4. Install the extension housing sub-assembly to the automatic transmission case sub-assembly with the 6 bolts.
      GTY456522Courtesy of © TOYOTA, LICENSE AGREEMENT TMS1002

      Torque: 33.9 N.m (346 kgf/cm, 25 ft.lbf) 

      HINT: 

      Each bolt length is indicated below.

      Torque

      Bolt A 

      35 mm (1.378 in.)

      Bolt B 

      45 mm (1.772 in.)

  79. INSTALL AUTOMATIC TRANSMISSION HOUSING 
    1. Clean and degrease the threads of the 10 bolts and 10 bolt holes with non-residue solvent.
    2. Install the automatic transmission housing to the automatic transmission case sub-assembly with the 6 bolts.
      GTY468506Courtesy of © TOYOTA, LICENSE AGREEMENT TMS1002

      Torque: 33.9 N.m (346 kgf/cm, 25 ft.lbf) 

    3. Apply adhesive to 2 or 3 threads on the end of the 4 bolts.
      GTY467391Courtesy of © TOYOTA, LICENSE AGREEMENT TMS1002
      *1 Adhesive

      Adhesive

      Toyota Genuine Adhesive 1344, Three Bond 1344 or equivalent

      NOTE:

      Install the 4 bolts within 3 minutes of applying adhesive.

    4. Install the automatic transmission housing to the automatic transmission case sub-assembly with the 4 bolts.
      GTY459165Courtesy of © TOYOTA, LICENSE AGREEMENT TMS1002

      Bolt A (M10 bolt) 

      Torque: 33.9 N.m (346 kgf/cm, 25 ft.lbf) 

      Bolt B (M12 bolt) 

      Torque: 56.8 N.m (579 kgf/cm, 42 ft.lbf) 

  80. INSTALL AUTOMATIC TRANSMISSION CASE PLUG 
    1. Coat a new O-ring with ATF, and install it to the automatic transmission case plug.
      GTY463191Courtesy of © TOYOTA, LICENSE AGREEMENT TMS1002
    2. Using "TORX" socket wrench T55, install the automatic transmission case plug to the automatic transmission case sub-assembly.

      Torque: 39.2 N.m (400 kgf/cm, 29 ft.lbf) 

    3. Coat 5 new O-rings with ATF, and install them to the 5 automatic transmission case plugs.
      GTY470063Courtesy of © TOYOTA, LICENSE AGREEMENT TMS1002
    4. Install the 5 automatic transmission case plugs to the automatic transmission case sub-assembly.

      Torque: 7.4 N.m (75 kgf/cm, 65 in.lbf) 

  81. INSTALL AUTOMATIC TRANSMISSION BREATHER TUBE 
    1. Install the automatic transmission breather tube to the automatic transmission case sub-assembly with the 2 bolts.
      GTY468635Courtesy of © TOYOTA, LICENSE AGREEMENT TMS1002

      Torque: 5.4 N.m (55 kgf/cm, 48 in.lbf) 

  82. INSTALL TRANSMISSION REVOLUTION SENSOR 
    1. Coat 2 new O-rings with ATF, and install them to the 2 transmission revolution sensors.
      GTY464207Courtesy of © TOYOTA, LICENSE AGREEMENT TMS1002
    2. Install the 2 transmission revolution sensors to the automatic transmission case sub-assembly with the 2 bolts.

      Torque: 5.4 N.m (55 kgf/cm, 48 in.lbf) 

  83. INSTALL WIRE HARNESS CLAMP BRACKET 
    1. Install the wire harness clamp bracket to the automatic transmission case sub-assembly with the bolt.
      GTY470692Courtesy of © TOYOTA, LICENSE AGREEMENT TMS1002

      Torque: 10 N.m (102 kgf/cm, 7 ft.lbf) 

  84. INSTALL TRANSMISSION OIL COOLER 
    1. Coat 2 new O-rings with ATF, and install them to the transmission oil cooler.
      GTY461781Courtesy of © TOYOTA, LICENSE AGREEMENT TMS1002
      *1 O-ring
    2. Install the transmission oil cooler to the automatic transmission case sub-assembly with the 3 bolts.

      Torque: 21 N.m (214 kgf/cm, 15 ft.lbf) 

      GTY462338Courtesy of © TOYOTA, LICENSE AGREEMENT TMS1002
  85. INSTALL PARK/NEUTRAL POSITION SWITCH ASSEMBLY 
    1. Clean and degrease the threads of the bolt and bolt hole with non-residue solvent.
    2. Apply adhesive to 2 or 3 threads on the end of the bolt.
      GTY467393Courtesy of © TOYOTA, LICENSE AGREEMENT TMS1002
      *1 Adhesive

      Adhesive

      Toyota Genuine Adhesive 1344, Three Bond 1344 or equivalent

      NOTE:

      Install the bolt within 3 minutes of applying adhesive.

    3. Install the park/neutral position switch assembly to the automatic transmission case sub-assembly, and temporarily tighten the bolt.
      GTY462340Courtesy of © TOYOTA, LICENSE AGREEMENT TMS1002
    4. Install the new lock washer and nut to the park/ neutral position switch assembly.

      Torque: 6.9 N.m (70 kgf/cm, 61 in.lbf) 

    5. Temporarily install the transmission control shaft lever RH to the manual valve lever shaft.
      GTY461277Courtesy of © TOYOTA, LICENSE AGREEMENT TMS1002
    6. Turn the transmission control shaft lever RH counterclockwise until it stops, and turn it clockwise 2 notches to set it to the N position.
    7. Remove the transmission control shaft lever RH from the manual valve lever shaft.
    8. Align the neutral basic line with the groove as shown in the illustration, and tighten the bolt.
      GTY459154Courtesy of © TOYOTA, LICENSE AGREEMENT TMS1002
      *a Neutral Basic Line
      *b Groove

      Torque: 12.8 N.m (131 kgf/cm, 9 ft.lbf) 

    9. Using a screwdriver, bend the tabs of the lock washer.
      GTY468473Courtesy of © TOYOTA, LICENSE AGREEMENT TMS1002
  86. INSTALL TRANSMISSION CONTROL SHAFT LEVER RH 
    1. Install the transmission control shaft lever RH to the manual valve lever shaft with the spring washer and nut.
      GTY465995Courtesy of © TOYOTA, LICENSE AGREEMENT TMS1002

      Torque: 15.7 N.m (160 kgf/cm, 12 ft.lbf) 

  87. INSTALL REFILL PLUG 
    1. Coat a new O-ring with ATF, and install it to the refill plug.
    2. Install the refill plug to the automatic transmission case sub-assembly.

      Torque: 39.2 N.m (400 kgf/cm, 29 ft.lbf) 

  88. INSTALL TRANSMISSION CASE COVER (w/ Case Cover) 
    1. Install the transmission case cover to the automatic transmission case sub-assembly with the 2 bolts.
      GTY462341Courtesy of © TOYOTA, LICENSE AGREEMENT TMS1002

      Torque: 5.4 N.m (55 kgf/cm, 48 in.lbf)