LEMON Manuals: Even more car manuals for everyone: 1960-2025
Home >> Lexus >> 2015 >> RC F >> Repair and Diagnosis >> Accessories & Equipment >> Infotainment >> Navigation System - Circuit Tests >> Navigation System >> Vehicle Speed Signal Circuit between Stereo Component Amplifier and Combination Meter [09/2014 - 11/2017] >> Procedure
April 5, 2026: LEMON Manuals is launched! Read the announcement.

Vehicle Speed Signal Circuit between Stereo Component Amplifier and Combination Meter [09/2014 - 11/2017]: Procedure

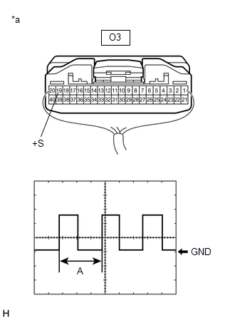
  1. INSPECT COMBINATION METER ASSEMBLY (OUTPUT WAVEFORM) 
    1. Check the output waveform.
      GTY510366Courtesy of © TOYOTA, LICENSE AGREEMENT TMS1002
      *a Component with harness connected
      (Combination Meter Assembly)
      1. Remove the combination meter assembly with the connector still connected.
      2. Connect an oscilloscope to terminal O3-19 (+S) and body ground.
      3. Turn the engine switch on (IG).
      4. Turn a wheel slowly.
      5. Check the signal waveform according to the condition(s) in the table below.
        Item Condition
        Measurement terminal O3-19 (+S) - Body ground
        Tool setting 5 V/DIV., 20 ms./DIV.
        Vehicle condition Wheel being rotated

        OK

        The waveform is similar to that shown in the illustration.

        HINT: 

        When the system is functioning normally, one wheel revolution generates 4 pulses. As the vehicle speed increases, the width indicated by (A) in the illustration narrows.

      Result

      Proceed to
      OK
      NG

    Result: 

    NG 

    GO TO METER / GAUGE SYSTEM. Refer to  Speed Signal Circuit [09/2014 - 11/2017] 

    Result: 

    OK 

    See step  2

  2. INSPECT STEREO COMPONENT AMPLIFIER ASSEMBLY (INPUT WAVEFORM) 
    1. Check the input waveform.
      GTY505762Courtesy of © TOYOTA, LICENSE AGREEMENT TMS1002
      *a Component with harness connected
      (Stereo Component Amplifier Assembly)
      1. Remove the stereo component amplifier assembly with the connector still connected.
      2. Connect an oscilloscope to terminal T20-17 (SPD) and body ground.
      3. Turn the engine switch on (IG).
      4. Turn a wheel slowly.
      5. Check the signal waveform according to the condition(s) in the table below.
        Item Condition
        Measurement terminal T20-17 (SPD) - Body ground
        Tool setting 5 V/DIV., 20 ms./DIV.
        Vehicle condition Wheel being rotated

        OK

        The waveform is similar to that shown in the illustration.

        HINT: 

        When the system is functioning normally, one wheel revolution generates 4 pulses. As the vehicle speed increases, the width indicated by (A) in the illustration narrows.

      Result

      Proceed to
      OK
      NG

    Result: 

    OK 

    PROCEED TO NEXT SUSPECTED AREA SHOWN IN PROBLEM SYMPTOMS TABLE. Refer to  PROBLEM SYMPTOMS TABLE [09/2014 - 11/2017] 

    Result: 

    NG 

    REPAIR OR REPLACE HARNESS OR CONNECTOR (COMBINATION METER ASSEMBLY - STEREO COMPONENT AMPLIFIER ASSEMBLY)