LEMON Manuals: Even more car manuals for everyone: 1960-2025
Home >> Lexus >> 2016 >> IS 350 Base, AWD >> Repair and Diagnosis (Single Page) >> External Pages >> Different car >> Section 45 (Panoramic View Monitor System - Diagnostics - Introduction) >> Panoramic View Monitor System >> Calibration [09/2020 - ] >> Calibration [09/2020 - ]
April 5, 2026: LEMON Manuals is launched! Read the announcement.

Calibration [09/2020 - ]

WARNING: This page does not describe the selected car, but rather 11 other vehicles, including the 2024 Lexus IS 500, 2024 Lexus IS 350, 2024 Lexus IS 300, 2023 Lexus IS 500, and 2023 Lexus IS 350. However, it is still accessible from the selected car via links, so may be relevant.
  1. ADJUST PANORAMIC VIEW MONITOR SYSTEM 
    1. This panoramic view monitor system can be set from the diagnostic screen of the multi-display assembly.
    2. If the following operations are performed, it is necessary to perform adjustments and checks on the diagnostic screen.
      Part Name Operation Adjustment Item Proceed to
      Steering sensor
      • Removal and installation of the steering sensor
      • Removal and installation of the connector of the steering sensor
      • Replacement
      Steering angle neutral point (Initialize panoramic view monitor system)* Refer to INITIALIZATION [09/2020 - ] 
      Adjust steering angle Procedure 9
      Parking assist ECU Replacement Parking assist ECU initialization Procedure 2
      Procedure 7
      Procedure 8
      Adjust steering angle Procedure 9
      Suspension, tires, etc. The vehicle height changes because of suspension or tire replacement Parking assist ECU initialization Procedure 2
      Procedure 7
      Procedure 8
      Adjust steering angle Procedure 9
      Rear television camera assembly
      • Replacement
      • Installation angle of the rear television camera changes because of the removal and installation of the rear television camera, etc.
      Rear television camera view adjustment Procedure 2
      Procedure 4
      Procedure 8
      • Front television camera assembly
      • Front bumper assembly
      • Radiator grille sub-assembly
      • Replacement
      • Installation angle of the front television camera changes because of the removal and installation of the front television camera, etc.
      Front television camera view adjustment Procedure 2
      Procedure 3
      Procedure 8
      • Side television camera assembly LH
      • Outer rear view mirror assembly LH
      • Replacement
      • Installation angle of the side television camera changes because of the removal and installation of the side television camera, etc.
      Side television camera view adjustment Procedure 2
      Procedure 5
      Procedure 8
      • Side television camera assembly RH
      • Outer rear view mirror assembly RH
      • Replacement
      • Installation angle of the side television camera changes because of the removal and installation of the side television camera, etc.
      Side television camera view adjustment Procedure 2
      Procedure 6
      Procedure 8
      • Front television camera assembly, front bumper assembly or radiator grille sub-assembly
      • Rear television camera assembly
      • Side television camera assembly LH or outer rear view mirror assembly LH
      • Side television camera assembly RH or outer rear view mirror assembly RH
      Replacement or removal and installation of 2 or more parts Television camera view adjustment Procedure 2
      Procedure 7
      Procedure 8

      *: When "!" is displayed on the panoramic view monitor screen, perform steering sensor zero point calibration.

      HINT: 

      The adjustment values stored while performing panoramic view monitor system calibration are stored in the parking assist ECU.

  2. PROCEDURE 1: PRE-WORK CHECKS 
    1. Preliminary checks
      NOTE:
      • Provide shadow to prevent back-up light from hitting the camera.
      • Use string that does not stretch.
      • Apply pieces of adhesive tape to serve as check markers. When placing the markers, make them 100 mm (3.94 in.) wide.
      1. Perform the work at a wide, level location (There is approximately 2000 mm [6.56 ft.] all around the vehicle).
      2. Park the vehicle on a flat surface with the steering wheel centered.
        NOTE:

        Before stopping the vehicle, move the vehicle backward and forward to ensure that both the steering wheel and the tires point straight ahead.

      3. Adjust the tire pressure to the specified value(s).
      4. Remove all luggage from the vehicle before starting work.
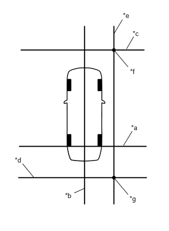
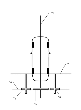
    2. Marker locations
      1. Secure the string to the locations required to make the checks and set markers as shown in the illustration.
        • Front camera adjustment only
          Fig 1: Secure String To Locations Required
          GTY606763Courtesy of © TOYOTA, LICENSE AGREEMENT TMS1002
          *a Cross Check Marker
          *b Check Marker
          *c String 1
          *d String 2
          *e String 3
        • Rear camera adjustment only
          Fig 2: Rear Camera Adjustment
          GTY588061Courtesy of © TOYOTA, LICENSE AGREEMENT TMS1002
          *a Cross Check Marker
          *b Check Marker
          *c String 1
          *d String 2
          *e String 4
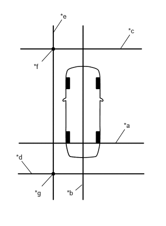
        • Left camera adjustment only
          Fig 3: Left Camera Adjustment Only
          GTY595970Courtesy of © TOYOTA, LICENSE AGREEMENT TMS1002
          *a Cross Check Marker
          *b Check Marker
          *c String 1
          *d String 2
          *e String 3
          *f String 4
          *g String 5
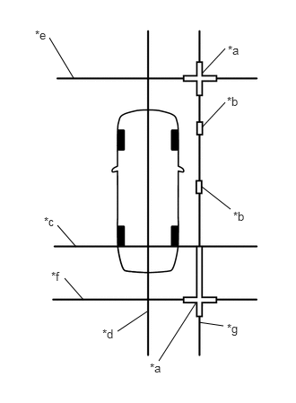
        • Right camera adjustment only
          Fig 4: Right Camera Adjustment
          GTY543710Courtesy of © TOYOTA, LICENSE AGREEMENT TMS1002
          *a Cross Check Marker
          *b Check Marker
          *c String 1
          *d String 2
          *e String 3
          *f String 4
          *g String 6
        • Adjustment of 4 cameras
          Fig 5: Adjustment Of 4 Cameras
          GTY538467Courtesy of © TOYOTA, LICENSE AGREEMENT TMS1002
          *a Cross Check Marker *b Check Marker
          *c String 1 *d String 2
          *e String 3 *f String 4
          *g String 5 *h String 6
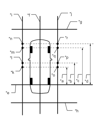
    3. Marker positions
      1. Set the check markers at the positions shown in the illustration.
        Fig 6: Check Markers At The Positions
        GTY545803Courtesy of © TOYOTA, LICENSE AGREEMENT TMS1002
        *a 4900 mm (16.07 ft.) *b 1500 mm (4.92 ft.)
        *c 1500 mm (4.92 ft.) *d 693 mm (2.27 ft.)
        *e 1100 mm (3.61 ft.) *f 1300 mm (4.26 ft.)
        *g 3000 mm (9.84 ft.) *h 3200 mm (10.50 ft.)
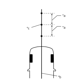
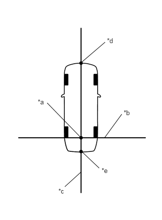
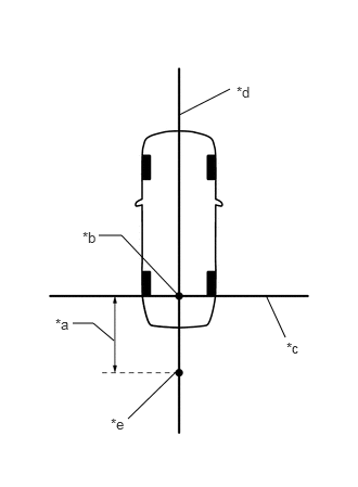
  3. PROCEDURE 2: SET DATUM POINTS 
    1. Extend the datum line (string 1).
      1. Hang a weight with a pointed tip and accurately mark the center position on the road surface. (Mark A)
        NOTE:

        Make sure that the weight hangs straight down from the string.

        Fig 7: Set Datum Points
        GTY970653Courtesy of © TOYOTA, LICENSE AGREEMENT TMS1002
        *a Mark A
        *b Weight
      2. Repeat the procedure to mark the right side. (Mark B)
      3. Secure string 1 so that it passes through marks A and B on the left and right sides.
        Fig 8: Secure String 1
        GTY552178Courtesy of © TOYOTA, LICENSE AGREEMENT TMS1002
        *a String 1
        *b Mark A
        *c Mark B
        NOTE:

        When securing the string, check that there is no slack and the string is not twisted.

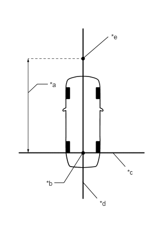
    2. Extend the vehicle center line (string 2).
      1. Hang a weight with a pointed tip so that it passes through the center of the front television camera assembly and accurately mark the center position on the road surface. (Mark C)
        Fig 9: Hang A Weight With A Pointed Tip So That It Passes Through The Center Of The Front Television Camera Assembly And Accurately Mark The Center Position On The Road Surface
        GTY970946Courtesy of © TOYOTA, LICENSE AGREEMENT TMS1002
        *1 Front Television Camera Assembly - -
        *a Center Point *b Weight
        *c String *d Mark C
      2. Hang a weight with a pointed tip from the center of the rear emblem and accurately mark the center position on the road surface. (Mark D)
        Fig 10: Hang A Weight With A Pointed Tip From The Center Of The Rear Emblem And Accurately Mark The Center Position On The Road Surface
        GTY971144Courtesy of © TOYOTA, LICENSE AGREEMENT TMS1002
        *a Center *b Weight
        *c String *d Mark D
        *e Equal on both sides - -
      3. Secure string 2 so that it passes through marks C and D at the front and rear of the vehicle.
        NOTE:

        When securing string 2, check that there is no slack and the string is not twisted.

        HINT: 

        Set the point where strings 1 and 2 intersect as the datum point.

        Fig 11: Secure String 2 So It Passes Through Marks C and D
        GTY583494Courtesy of © TOYOTA, LICENSE AGREEMENT TMS1002
        *a Datum Point
        *b String 1
        *c String 2
        *d Mark C
        *e Mark D
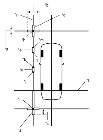
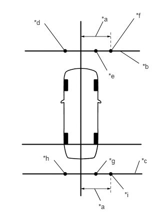
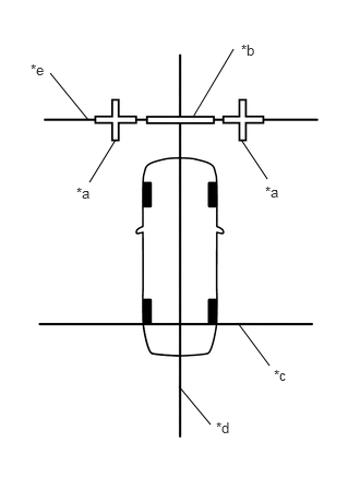
  4. PROCEDURE 3: SET MARKERS (when checking front) 
      Fig 12: SET MARKERS (When Checking Front)
      GTY583741Courtesy of © TOYOTA, LICENSE AGREEMENT TMS1002
    1. *a 4900 mm (16.07 ft.)
      *b Datum Point
      *c String 1
      *d String 2
      *e Mark E

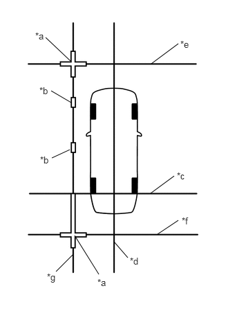
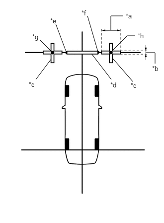
      In front of the vehicle, extend string 3 perpendicular to the vehicle center line (string 2) and place a marker.

      1. Mark the position on string 2 in front of the vehicle, 4900 mm (16.07 ft.) from the datum point. (Mark E)
      2. Secure the ends of 2 strings (800 mm [2.62 ft.] long) at 2 positions 400 mm (1.31 ft.) from mark E as shown in the illustration.
        Fig 13: Fix Ends Of 2 Strings
        GTY608721Courtesy of © TOYOTA, LICENSE AGREEMENT TMS1002
        *a 400 mm (1.31 ft.)
        *b String 2
        *c Mark E
      3. Move the free ends of the 2 strings and mark the point where the ends meet. (Marks F and G)
        Fig 14: Move The Free Ends Of 2 Strings And Mark Point
        GTY606008Courtesy of © TOYOTA, LICENSE AGREEMENT TMS1002
        *a 800 mm (2.62 ft.) String *b String 2
        *c Mark E *d Mark F
        *e Mark G - -
      4. Secure string 3 so that it passes through marks F and G as shown in the illustration.
        NOTE:

        When securing the string, check that there is no slack and the string is not twisted.

        Fig 15: Secure String 3
        GTY590943Courtesy of © TOYOTA, LICENSE AGREEMENT TMS1002
        *a 1500 mm (4.92 ft.)
        *b String 1
        *c String 2
        *d String 3
        *e Mark F
        *f Mark G
        *g Mark H
        *h Mark I
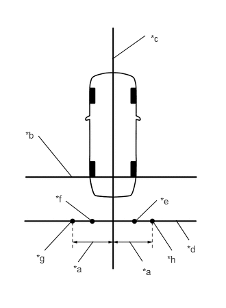
      5. Mark positions on string 3, 1500 mm (4.92 ft.) to the left and right of the vehicle center line (string 2). (Marks H and I).
      6. Place and secure the cross check markers, centered on marks H and I.
        Fig 16: Mark Positions On String 3
        GTY578880Courtesy of © TOYOTA, LICENSE AGREEMENT TMS1002
        *a 800 mm (2.62 ft.)
        *b 100 mm (0.33 ft.)
        *c Cross Check Marker
        *d Check Marker
        *e Mark F
        *f Mark G
        *g Mark H
        *h Mark I
        NOTE:
        • Align the cross check markers perpendicular to the string.
        • Make each arm of the cross check markers 800 mm (2.62 ft.) long and 100 mm (0.33 ft.) wide.
      7. Place the check marker between marks F and G.
      8. Perform camera view adjustment (calibration) (procedure 8).
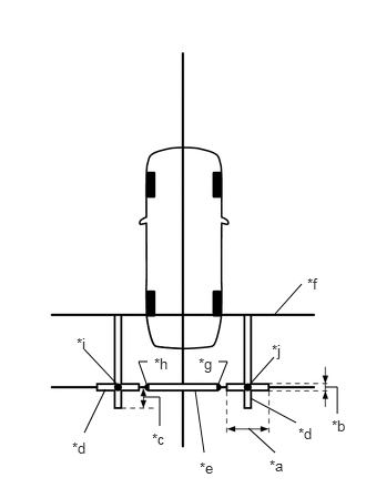
  5. PROCEDURE 4: SET MARKERS (When checking rear) 
    1. To the rear of the vehicle, extend string 4 perpendicular to the vehicle center line (string 2) and place a check marker.
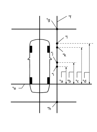
      1. Mark a position on string 2 to the rear of the vehicle, 1500 mm (4.92 ft.) from the datum point. (Mark J)
        Fig 17: Extend String 4 Perpendicular To Vehicle Center Line
        GTY539831Courtesy of © TOYOTA, LICENSE AGREEMENT TMS1002
        *a 1500 mm (4.92 ft.)
        *b Datum Point
        *c String 1
        *d String 2
        *e Mark J
      2. Secure the ends of 2 strings (800 mm [2.62 ft.]) at 2 positions 400 mm (1.31 ft.) from mark J as shown in the illustration.
        Fig 18: Fix The Ends Of 2 Strings
        GTY547833Courtesy of © TOYOTA, LICENSE AGREEMENT TMS1002
        *a 400 mm (1.31 ft.)
        *b String 1
        *c String 2
        *d Mark J
      3. Move the free ends of the 2 strings and mark the point where the ends meet. (Marks K and L)
        Fig 19: Move The Free Ends Of The 2 Strings And Mark The Point
        GTY549440Courtesy of © TOYOTA, LICENSE AGREEMENT TMS1002
        *a 800 mm (2.62 ft.) String *b String 1
        *c String 2 *d Mark J
        *e Mark K *f Mark L
      4. Secure string 4 so that it passes through marks K and L as shown in the illustration.
        Fig 20: Secure String 4 So It Passes Through Marks K and L
        GTY546429Courtesy of © TOYOTA, LICENSE AGREEMENT TMS1002
        *a 1500 mm (4.92 ft.)
        *b String 1
        *c String 2
        *d String 4
        *e Mark K
        *f Mark L
        *g Mark M
        *h Mark N
        NOTE:

        When securing the string, check that there is no slack and the string is not twisted.

      5. Mark positions on string 4, 1500 mm (4.92 ft.) to the left and right of the vehicle center line (string 2). (Marks M and N)
      6. Place and secure the cross check markers, centered on marks M and N.
        Fig 21: Mark Positions On String 4, 1500 mm
        GTY554041Courtesy of © TOYOTA, LICENSE AGREEMENT TMS1002
        *a 800 mm (2.62 ft.)
        *b 100 mm (0.33 ft.)
        *c 400 mm (1.31 ft.)
        *d Cross Check Marker
        *e Check Marker
        *f String 1
        *g Mark K
        *h Mark L
        *i Mark M
        *j Mark N
        NOTE:
        • Align the cross check markers perpendicular to the string.
        • Make each arm of the cross check markers 800 mm (2.62 ft.) long and 100 mm (0.33 ft.) wide.
        • Extend the rear cross check markers to string 1.
      7. Place the check marker between marks K and L.
      8. Perform camera view adjustment (calibration) (procedure 8).
  6. PROCEDURE 5: SET MARKERS (When checking left side) 
    1. To the left side of the vehicle, extend string 5 parallel to the vehicle center line (string 2) and place a check marker.
      1. Mark the position on string 2 in front of the vehicle, 4900 mm (16.07 ft.) from the datum point. (Mark E)
        Fig 22: Set Markers (When Checking All Cameras)
        GTY555722Courtesy of © TOYOTA, LICENSE AGREEMENT TMS1002
        *a 1500 mm (4.92 ft.)
        *b 4900 mm (16.07 ft.)
        *c Datum Point
        *d String 1
        *e String 2
        *f Mark E
        *g Mark J
      2. Mark the position on string 2 to the rear of the vehicle, 1500 mm (4.92 ft.) from the datum point. (Mark J)
      3. Secure the ends of 2 strings (800 mm [2.62 ft.] long) at 2 positions 400 mm (1.31 ft.) from mark E as shown in the illustration.
        Fig 23: Fix Ends Of 2 Strings
        GTY608721Courtesy of © TOYOTA, LICENSE AGREEMENT TMS1002
        *a 400 mm (1.31 ft.)
        *b String 2
        *c Mark E
      4. Move the free ends of the 2 strings and mark the point where the ends meet. (Marks F and G)
        Fig 24: Move The Free Ends Of 2 Strings And Mark Point
        GTY606008Courtesy of © TOYOTA, LICENSE AGREEMENT TMS1002
        *a 800 mm (2.62 ft.) String *b String 2
        *c Mark E *d Mark F
        *e Mark G - -
      5. Secure the ends of 2 strings (800 mm [2.62 ft.]) at 2 positions 400 mm (1.31 ft.) from mark J as shown in the illustration.
        Fig 25: Fix The Ends Of 2 Strings
        GTY547833Courtesy of © TOYOTA, LICENSE AGREEMENT TMS1002
        *a 400 mm (1.31 ft.)
        *b String 1
        *c String 2
        *d Mark J
      6. Move the free ends of the 2 strings and mark the point where the ends meet. (Marks K and L)
        Fig 26: Move The Free Ends Of The 2 Strings And Mark The Point
        GTY549440Courtesy of © TOYOTA, LICENSE AGREEMENT TMS1002
        *a 800 mm (2.62 ft.) String *b String 1
        *c String 2 *d Mark J
        *e Mark K *f Mark L
      7. Secure strings 3 and 4 so that they pass through marks F and G, marks K and L as shown in the illustration.
        NOTE:

        When securing the string, check that there is no slack and the string is not twisted.

        Fig 27: Secure strings 3 And 4 So They Pass Through Marks F and G
        GTY563722Courtesy of © TOYOTA, LICENSE AGREEMENT TMS1002
        *a 1500 mm (4.92 ft.)
        *b String 3
        *c String 4
        *d Mark F
        *e Mark G
        *f Mark H
        *g Mark K
        *h Mark L
        *i Mark M
      8. Mark strings 3 and 4, 1500 mm (4.92 ft.) to the left of the vehicle center line (string 2). (Marks H and M)
      9. Secure string 5 so that it passes through marks H and M as shown in the illustration.
        Fig 28: Mark Positions On String 4, 1400 mm
        GTY834094Courtesy of © TOYOTA, LICENSE AGREEMENT TMS1002
        *a String 1
        *b String 2
        *c String 3
        *d String 4
        *e String 5
        *f Mark H
        *g Mark M
        NOTE:

        When securing the string, check that there is no slack and the string is not twisted.

      10. Make marks on string 5 that are 1100 mm (3.61 ft.), 1300 mm (4.26 ft.), 3000 mm (9.84 ft.) and 3200 mm (10.50 ft.) from the datum line (string 1) as shown in the illustration. (Marks O, P, Q and R)
        Fig 29: Secure String 5 So That It Passes Through Marks H And M
        GTY638784Courtesy of © TOYOTA, LICENSE AGREEMENT TMS1002
        *a 1100 mm (3.61 ft.)
        *b 1300 mm (4.26 ft.)
        *c 3000 mm (9.84 ft.)
        *d 3200 mm (10.50 ft.)
        *e String 1
        *f String 5
        *g Mark H
        *h Mark M
        *i Mark O
        *j Mark P
        *k Mark Q
        *l Mark R
      11. Place and secure the cross check markers, centered on marks H and M.
        Fig 30: Place And Secure The Cross Check Markers
        GTY563058Courtesy of © TOYOTA, LICENSE AGREEMENT TMS1002
        *a 100 mm (0.33 ft.)
        *b 800 mm (2.62 ft.)
        *c 400 mm (1.31 ft.)
        *d Cross Check Marker
        *e Check Marker
        *f String 1
        *g String 5
        *h Mark H
        *i Mark M
        *j Mark O
        *k Mark P
        *l Mark Q
        *m Mark R
        NOTE:
        • Align the cross check markers perpendicular to the string.
        • Make each arm of the cross check markers 800 mm (2.62 ft.) long and 100 mm (0.33 ft.) wide.
        • Extend the rear cross check markers to string 1.
      12. Place check markers between marks O and P, and marks Q and R.
      13. Perform camera view adjustment (calibration) (procedure 8).
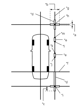
  7. PROCEDURE 6: SET MARKERS (When checking right side) 
    1. At the right side of the vehicle, extend string 6 parallel to the vehicle and place a marker.
      1. Mark the position on string 2 in front of the vehicle, 4900 mm (16.07 ft.) from the datum point. (Mark E)
        Fig 31: Set Markers (When Checking All Cameras)
        GTY555722Courtesy of © TOYOTA, LICENSE AGREEMENT TMS1002
        *a 1500 mm (4.92 ft.)
        *b 4900 mm (16.07 ft.)
        *c Datum Point
        *d String 1
        *e String 2
        *f Mark E
        *g Mark J
      2. Mark the position on string 2 to the rear of the vehicle, 1500 mm (4.92 ft.) from the datum point. (Mark J)
      3. Secure the ends of 2 strings (800 mm [2.62 ft.] long) at 2 positions 400 mm (1.31 ft.) from mark E as shown in the illustration.
        Fig 32: Fix Ends Of 2 Strings
        GTY608721Courtesy of © TOYOTA, LICENSE AGREEMENT TMS1002
        *a 400 mm (1.31 ft.)
        *b String 2
        *c Mark E
      4. Move the free ends of the 2 strings and mark the point where the ends meet. (Marks F and G)
        Fig 33: Move The Free Ends Of 2 Strings And Mark Point
        GTY606008Courtesy of © TOYOTA, LICENSE AGREEMENT TMS1002
        *a 800 mm (2.62 ft.) String *b String 2
        *c Mark E *d Mark F
        *e Mark G - -
      5. Secure the ends of 2 strings (800 mm [2.62 ft.]) at 2 positions 400 mm (1.31 ft.) from mark J as shown in the illustration.
        Fig 34: Fix The Ends Of 2 Strings
        GTY547833Courtesy of © TOYOTA, LICENSE AGREEMENT TMS1002
        *a 400 mm (1.31 ft.)
        *b String 1
        *c String 2
        *d Mark J
      6. Move the free ends of the 2 strings and mark the point where the ends meet. (Marks K and L)
        Fig 35: Move The Free Ends Of The 2 Strings And Mark The Point
        GTY549440Courtesy of © TOYOTA, LICENSE AGREEMENT TMS1002
        *a 800 mm (2.62 ft.) String *b String 1
        *c String 2 *d Mark J
        *e Mark K *f Mark L
      7. Secure strings 3 and 4 so that they pass through marks F and G and marks K and L as shown in the illustration.
        NOTE:

        When securing the string, check that there is no slack and the string is not twisted.

        Fig 36: Check There Is No Slack And String Not Twisted
        GTY571486Courtesy of © TOYOTA, LICENSE AGREEMENT TMS1002
        *a 1500 mm (4.92 ft.)
        *b String 3
        *c String 4
        *d Mark F
        *e Mark G
        *f Mark I
        *g Mark K
        *h Mark L
        *i Mark N
      8. Mark strings 3 and 4, 1500 mm (4.92 ft.) to the right of the vehicle center line (string 2). (Marks I and N)
      9. Secure string 6 so that it passes through marks I and N as shown in the illustration.
        Fig 37: Mark Positions On String 4, 1400 mm
        GTY825994Courtesy of © TOYOTA, LICENSE AGREEMENT TMS1002
        *a String 1
        *b String 2
        *c String 3
        *d String 4
        *e String 6
        *f Mark I
        *g Mark N
        Fig 38: Make Marks On String 6 That Are 1100 Mm (3.61 Ft.), 1300 Mm (4.26 Ft.), 3000 Mm (9.84 Ft.) And 3200 Mm (10.50 Ft.) From The Datum Line (String 1)
        GTY911306Courtesy of © TOYOTA, LICENSE AGREEMENT TMS1002
        *a 1100 mm (3.61 ft.)
        *b 1300 mm (4.26 ft.)
        *c 3000 mm (9.84 ft.)
        *d 3200 mm (10.50 ft.)
        *e String 1
        *f String 6
        *g Mark I
        *h Mark N
        *i Mark S
        *j Mark T
        *k Mark U
        *l Mark V
        NOTE:

        When securing the string, check that there is no slack and the string is not twisted.

      10. Make marks on string 6 that are 1100 mm (3.61 ft.), 1300 mm (4.26 ft.), 3000 mm (9.84 ft.) and 3200 mm (10.50 ft.) from the datum line (string 1) as shown in the illustration. (Marks S, T, U and V)
      11. Place and secure the cross check markers, centered on marks I and N.
        Fig 39: Place And Secure The Cross Check Markers
        GTY604803Courtesy of © TOYOTA, LICENSE AGREEMENT TMS1002
        *a 100 mm (0.33 ft.)
        *b 800 mm (2.62 ft.)
        *c 400 mm (1.31 ft.)
        *d Cross Check Marker
        *e Check Marker
        *f String 1
        *g String 6
        *h Mark I
        *i Mark N
        *j Mark S
        *k Mark T
        *l Mark U
        *m Mark V
        NOTE:
        • Align the cross check markers perpendicular to the string.
        • Make each arm of the cross check markers 800 mm (2.62 ft.) long and 100 mm (0.33 ft.) wide.
        • Extend the rear cross check markers to string 1.
      12. Place check markers between marks S and T, and marks U and V.
      13. Perform camera view adjustment (calibration) (procedure 8).
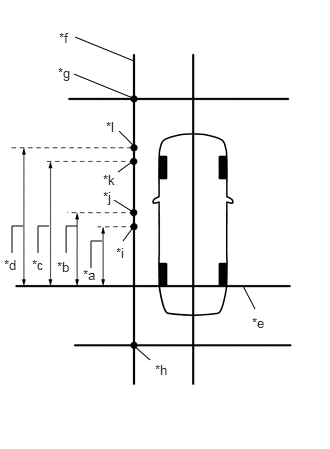
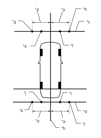
  8. PROCEDURE 7: SET MARKERS (When checking all cameras) 
    1. Set markers in every direction from the vehicle.
        Fig 40: Set Markers (When Checking All Cameras)
        GTY555722Courtesy of © TOYOTA, LICENSE AGREEMENT TMS1002
      1. *a 1500 mm (4.92 ft.)
        *b 4900 mm (16.07 ft.)
        *c Datum Point
        *d String 1
        *e String 2
        *f Mark E
        *g Mark J

        Mark the position on string 2 in front of the vehicle, 4900 mm (16.07 ft.) from the datum point. (Mark E)

      2. Mark the position on string 2 to the rear of the vehicle, 1500 mm (4.92 ft.) from the datum point. (Mark J)
      3. Fig 41: Fix Ends Of 2 Strings
        GTY608721Courtesy of © TOYOTA, LICENSE AGREEMENT TMS1002
      4. *a 400 mm (1.31 ft.)
        *b String 2
        *c Mark E

        Secure the ends of 2 strings (800 mm [2.62 ft.] long) at 2 positions 400 mm (1.31 ft.) from mark E as shown in the illustration.

      5. Move the free ends of the 2 strings and mark the point where the ends meet. (Marks F and G)
        Fig 42: Move The Free Ends Of 2 Strings And Mark Point
        GTY606008Courtesy of © TOYOTA, LICENSE AGREEMENT TMS1002
        *a 800 mm (2.62 ft.) String *b String 2
        *c Mark E *d Mark F
        *e Mark G - -
      6. Fig 43: Fix The Ends Of 2 Strings
        GTY547833Courtesy of © TOYOTA, LICENSE AGREEMENT TMS1002
      7. *a 400 mm (1.31 ft.)
        *b String 1
        *c String 2
        *d Mark J

        Secure the ends of 2 strings (800 mm [2.62 ft.]) at 2 positions 400 mm (1.31 ft.) from mark J as shown in the illustration.

      8. Move the free ends of the 2 strings and mark the point where the ends meet. (Marks K and L)
        Fig 44: Move The Free Ends Of The 2 Strings And Mark The Point
        GTY549440Courtesy of © TOYOTA, LICENSE AGREEMENT TMS1002
        *a 800 mm (2.62 ft.) String *b String 1
        *c String 2 *d Mark J
        *e Mark K *f Mark L
      9. Secure strings 3 and 4 so that they pass through marks F, G, K and L as shown in the illustration.
        Fig 45: Secure Strings 3 And 4 So They Pass Through Marks F, G, K And L
        GTY572746Courtesy of © TOYOTA, LICENSE AGREEMENT TMS1002
        *a 1500 mm (4.92 ft.)
        *b String 2
        *c String 3
        *d String 4
        *e Mark F
        *f Mark G
        *g Mark H
        *h Mark I
        *i Mark K
        *j Mark L
        *k Mark M
        *l Mark N
        NOTE:

        When securing the string, check that there is no slack and the string is not twisted.

      10. Mark string 3, 1500 mm (4.92 ft.) to the left and right of the vehicle center line (string 2). (Marks H and I)
      11. Mark string 4, 1500 mm (4.92 ft.) to the left and right of the vehicle center line (string 2). (Marks M and N)
      12. Secure strings 5 and 6 so that they pass through marks H, M, I and N as shown in the illustration.
        NOTE:

        When securing the string, check that there is no slack and the string is not twisted.

        Fig 46: Secure Strings 5 And 6 So They Pass Through Marks H, M, I And N (1 Of 2)
        GTY562412Courtesy of © TOYOTA, LICENSE AGREEMENT TMS1002
        *a String 1
        *b String 2
        *c String 3
        *d String 4
        *e String 5
        *f String 6
        *g Mark H
        *h Mark I
        *i Mark M
        *j Mark N
      13. Fig 47: Secure Strings 5 And 6 So They Pass Through Marks H, M, I And N (2 Of 2)
        GTY597027Courtesy of © TOYOTA, LICENSE AGREEMENT TMS1002
      14. *a 1100 mm (3.61 ft.)
        *b 1300 mm (4.26 ft.)
        *c 3000 mm (9.84 ft.)
        *d 3200 mm (10.50 ft.)
        *e String 1
        *f String 2
        *g String 3
        *h String 4
        *i String 5
        *j String 6
        *k Mark O
        *l Mark P
        *m Mark Q
        *n Mark R
        *o Mark S
        *p Mark T
        *q Mark U
        *r Mark V

        Make marks on string 5 that are 1100 mm (3.61 ft.), 1300 mm (4.26 ft.), 3000 mm (9.84 ft.) and 3200 mm (10.50 ft.) from the datum line (string 1) as shown in the illustration. (Marks O, P, Q and R)

      15. Make marks on string 6 that are 1100 mm (3.61 ft.), 1300 mm (4.26 ft.), 3000 mm (9.84 ft.) and 3200 mm (10.50 ft.) from the datum line (string 1) as shown in the illustration. (Marks S, T, U and V)
      16. Place and secure the cross check markers, centered on marks H, I, M and N.
        NOTE:
        • Align the cross check markers perpendicular to the string.
        • Make each arm of the cross check markers 800 mm (2.62 ft.) long and 100 mm (0.33 ft.) wide.
        • Extend the rear cross check markers to string 1.
        Fig 48: Make Marks On String 6 From The Datum Line (String 1)
        GTY557605Courtesy of © TOYOTA, LICENSE AGREEMENT TMS1002
        *a 100 mm (0.33 ft.) *b 800 mm (2.62 ft.)
        *c Cross Check Marker *d Check Marker
        *e String 1 *f Mark F
        *g Mark G *h Mark H
        *i Mark I *j Mark K
        *k Mark L *l Mark M
        *m Mark N *n Mark O
        *o Mark P *p Mark Q
        *q Mark R *r Mark S
        *s Mark T *t Mark U
        *u Mark V - -
      17. Place check markers between marks F and G, marks K and L, marks O and P, marks Q and R, marks S and T, and marks U and V.
      18. Perform camera view adjustment (calibration) (procedure 8).
  9. PROCEDURE 8: CAMERA VIEW ADJUSTMENT (CALIBRATION) 
    1. Enter diagnostic mode.

      w/ Navigation System: Refer to DTC CHECK / CLEAR [09/2020 - ]

      w/ Audio and Visual System: Refer to DTC CHECK / CLEAR [09/2020 - ]

      WARNING:

      Adjustment must be performed with the hybrid system operating. Therefore, apply the parking brake, depress the brake pedal and move the shift lever to P to ensure that the vehicle does not begin moving unexpectedly.

    2. Select "Function Check/Setting" from the "Service Menu" screen.
      Fig 49: Select "Function Check/Setting"
      GTY867690Courtesy of © TOYOTA, LICENSE AGREEMENT TMS1002
    3. Fig 50: Select "Camera Setting"
      GTY927843Courtesy of © TOYOTA, LICENSE AGREEMENT TMS1002
      NOTE:

      If "Camera Setting" is not displayed on the screen, turn the ignition switch off, and then turn it ON again and enter the diagnostic mode.

    4. Select "Camera Setting" from the Function Check/Setting I screen to display the Mode Setting(*) screen.
    5. Fig 51: Diag Check
      GTY912347Courtesy of © TOYOTA, LICENSE AGREEMENT TMS1002
    6. Select "View Adjustment" on the Mode Setting(*) screen to display the Signal Check(*) screen.

      HINT: 

      To select a grayed out item, select and hold the item for 2 seconds or more.

    7. Fig 52: Select "Next" Button
      GTY750364Courtesy of © TOYOTA, LICENSE AGREEMENT TMS1002
      NOTE:
      • When "CHK" (red) is displayed for an item on the Signal Check(*) screen, selecting "Next" will not change to the adjustment screen.
      • Check the Signal Check(*) screen when "CHK" (red) is displayed for an item on the Signal Check(*) screen.
    8. Select "Next" from the Signal Check(*) screen to display the adjustment screen.
    9. Perform the view adjustment.
      Fig 53: Perform the view adjustment.
      GTY971839Courtesy of © TOYOTA, LICENSE AGREEMENT TMS1002
      *a Red Line *b Cross Check Marker (for Connection Judgment)
      *c Adjustment Buttons *d Camera Select Buttons
      *e Vehicle Height Adjustment Buttons - -
      NOTE:

      After replacing a camera, use the camera select buttons to select the replaced camera, and select "New Camera".

      1. Check that the cross check markers displayed on the adjustment screen appear connected.
        Fig 54: Check The Cross Check Markers
        GTY579266Courtesy of © TOYOTA, LICENSE AGREEMENT TMS1002
        NOTE:
        • Before checking the markers on the adjustment screen, ensure that the cross target bars have been placed correctly.
        • If a cross check marker appears displaced on the adjustment screen, use the camera select buttons to select the corresponding camera, and then use the adjustment buttons or vehicle height adjustment buttons to adjust the screen.
          Fig 55: Adjust The Screen
          GTY971524Courtesy of © TOYOTA, LICENSE AGREEMENT TMS1002

        HINT: 

        To repeat the adjustment, select "All View Reset" to return all adjustment values to their initial values.

      2. Check that the target bars do not protrude outside the red frames displayed on the adjustment screen.
        Fig 56: Confirm Check Marker Is In Adjustment Screen
        GTY579265Courtesy of © TOYOTA, LICENSE AGREEMENT TMS1002
        NOTE:
        • Before checking the adjustment screen, ensure that the check markers have been placed correctly.
        • If a target bar protrudes outside a red frame on the adjustment screen, use the camera select buttons to select the corresponding camera, and use the adjustment buttons or vehicle height adjustment buttons to adjust the screen.
          Fig 57: Adjust The Screen
          GTY971524Courtesy of © TOYOTA, LICENSE AGREEMENT TMS1002

          HINT: 

          To repeat the adjustment, select "All View Reset" to return all adjustment values to their initial values.

    10. When all adjustments are completed, press "OK".
      Fig 58: OK Button
      GTY770687Courtesy of © TOYOTA, LICENSE AGREEMENT TMS1002
    11. If data writing ends normally, "The view data writing was completed." is displayed.
    12. Select "OK".
    13. Cancel diagnostic mode.

      Refer to DTC CHECK / CLEAR [09/2020 - ]

  10. PROCEDURE 9: STEERING ANGLE SETTING 
    1. Preparation for adjustment
      1. Park the vehicle with the steering wheel centered.

        HINT: 

        Before stopping the vehicle, move the vehicle slightly backward and forward to ensure that both the steering wheel and the tires point straight ahead.

      2. Adjust the tire pressure to the specified value(s).
    2. Enter diagnostic mode.

      w/ Navigation System: Refer to DTC CHECK / CLEAR [09/2020 - ]

      w/ Audio and Visual System: Refer to DTC CHECK / CLEAR [09/2020 - ]

      NOTE:

      Adjustment must be performed with the hybrid system operating. Therefore, apply the parking brake, depress the brake pedal and move the shift lever to P to ensure that the vehicle does not begin moving unexpectedly.

    3. Select "Function Check/Setting" on the "Service Menu" screen.
      Fig 59: Select "Function Check/Setting"
      GTY867690Courtesy of © TOYOTA, LICENSE AGREEMENT TMS1002
    4. Select "Camera Setting" from the Function Check/Setting I screen to display the Mode Setting(*) screen.
      Fig 60: Select "Camera Setting"
      GTY927843Courtesy of © TOYOTA, LICENSE AGREEMENT TMS1002
      NOTE:

      If "Camera Setting" is not displayed on the screen, turn the ignition switch off, and then turn it ON again and enter the diagnostic mode.

    5. Select "Steering Angle Setting" from the Mode Setting(*) screen to display the Signal Check(*) screen.
      Fig 61: Select "Steering Angle Setting"
      GTY928900Courtesy of © TOYOTA, LICENSE AGREEMENT TMS1002

      HINT: 

      To select a grayed out item, select and hold the item for 2 seconds or more.

    6. Select "Next" from the Signal Check(*) screen to display the Steering Angle Setting D (*) screen.
      Fig 62: Select "Next" Button
      GTY750364Courtesy of © TOYOTA, LICENSE AGREEMENT TMS1002
      NOTE:
      • If "CHK" (red) is displayed for an item on the Signal Check(*) screen, selecting "Next" will not change to the Steering Angle Setting D (*) screen.
      • Check the Signal Check(*) screen when "CHK" (red) is displayed for an item on the Signal Check(*) screen.
    7. Adjust the steering angle
      1. Check that the steering wheel is centered (approximately +/- 5 degrees or less) and then select "Steering Center Memorize".
        Fig 63: Steering Center Memorize
        GTY845736Courtesy of © TOYOTA, LICENSE AGREEMENT TMS1002
      2. After selecting "Steering Center Memorize", turn the steering angle fully to the left and fully to the right, and then select "Max Steering Angle Memorize". (Turning right and then left is OK)
      3. When "Max Steering Angle Memorize" is selected, the steering angle setting values (steering neutral point and maximum steering angle) are stored and the system beeps for a long duration to notify the user that storing is complete before the Mode Setting(*) screen is displayed again.

        HINT: 

        • A long beep will sound to confirm that the adjustment values have been stored.
        • When all signals are input normally, the Mode Setting(*) screen is displayed automatically after the maximum steering angle is stored.
        • When Steering Angle Setting is incomplete, "OK" is disabled.
        • Even if no DTC is output, a steering sensor malfunction may disable the use of "Max Steering Angle Memorize".
        • If selecting "Max Steering Angle Memorize" does not cause the adjustment value to be stored after adjusting the steering angle, replace the steering sensor.

          Refer to REMOVAL [04/2013 - ]

    8. Cancel diagnostic mode.

      w/ Navigation System: Refer to DTC CHECK / CLEAR [09/2020 - ]

      w/ Audio and Visual System: Refer to DTC CHECK / CLEAR [09/2020 - ]

    9. Confirm steering angle adjustment.

      HINT: 

      After performing Steering Angle Setting, cancel diagnostic mode and perform Steering Angle Setting Check on the rear view screen.

    10. Check on the rear view screen that the displayed estimated course lines move in synchronization with the steering wheel movements when the steering wheel is turned fully left or right.

      HINT: 

      If the estimated course line stops moving before the steering wheel is fully turned to either the left or right, the steering angle adjustment values have not been stored correctly. In this case, perform adjustment again.