LEMON Manuals: Even more car manuals for everyone: 1960-2025
Home >> Lexus >> 2016 >> RC 350 Base, RWD >> Repair and Diagnosis >> External Pages >> Different variant/trim >> Section 5 (Transfer Case System - Service Information) >> Transfer Assembly >> Reassembly [09/2014 - ] >> Procedure
April 5, 2026: LEMON Manuals is launched! Read the announcement.

Reassembly [09/2014 - ]: Procedure

WARNING: This page is about a different variant/trim than selected.
  1. INSTALL TRANSFER DRIVE SPROCKET BEARING 
    1. Using SST and a press, install a new transfer drive sprocket bearing until its surface is flush with the transfer drive sprocket.
      • SST: 09316-20011 
      • SST: 09950-60010 
        1. 09951-00640
      • SST: 09950-70010 
        1. 09951-07100
      GTY499490Courtesy of © TOYOTA, LICENSE AGREEMENT TMS1002
      *1 Transfer Drive Sprocket Bearing
    2. Using SST and a press, install a new transfer drive sprocket bearing until its surface is flush with the transfer drive sprocket.
      GTY496696Courtesy of © TOYOTA, LICENSE AGREEMENT TMS1002
      *1 Transfer Drive Sprocket Bearing
      *a Shield Facing Downward
      • SST: 09316-60011 
        1. 09316-00011

      HINT: 

      Install the transfer drive sprocket bearing with the shield facing downward.

      Install the transfer drive sprocket bearing with the shield facing downward.

  2. INSTALL TRANSFER DRIVEN SPROCKET BEARING 
    1. Using SST and a press, install a new transfer driven sprocket bearing until its surface is flush with the transfer driven sprocket.
      GTY499496Courtesy of © TOYOTA, LICENSE AGREEMENT TMS1002
      *1 Transfer Driven Sprocket Bearing
      • SST: 09316-20011 
      • SST: 09950-60010 
        1. 09951-00640
      • SST: 09950-70010 
        1. 09951-07100
    2. Using SST and a press, install a new transfer driven sprocket bearing until its surface is flush with the transfer driven sprocket.
      GTY516145Courtesy of © TOYOTA, LICENSE AGREEMENT TMS1002
      *1 Transfer Driven Sprocket Bearing
      • SST: 09316-60011 
        1. 09316-00011
        2. 09316-00041
  3. INSTALL TRANSFER CENTER SUPPORT SEAL RING 
    1. Coat the 2 transfer center support seal rings with ATF.
      GTY106927Courtesy of © TOYOTA, LICENSE AGREEMENT TMS1002

      ATF

      Toyota Genuine ATF WS

    2. Compress the 2 transfer center support seal rings as shown in the illustration and install them into the grooves of the transfer center support assembly.
      NOTE:
      • Do not expand the transfer center support seal ring ends excessively.
      • If any transfer center support seal ring is damaged or deformed, replace it with a new one.
  4. INSTALL TRANSFER CENTER SUPPORT ASSEMBLY 
    1. Coat 2 new O-rings with ATF.
      GTY470809Courtesy of © TOYOTA, LICENSE AGREEMENT TMS1002

      ATF

      Toyota Genuine ATF WS

    2. Install the 2 O-rings to the screws.
    3. Install the 2 screws to the transfer rear chain case assembly.

      Torque: 7.4 N.m (75 kgf/cm, 65 in.lbf) 

    4. Install the transfer center support assembly to the transfer rear chain case assembly with the 5 bolts.

      Torque: 25.5 N.m (260 kgf/cm, 19 ft.lbf) 

  5. INSTALL TRANSFER DIRECT CLUTCH PISTON O-RING 
    1. Coat 2 new transfer direct clutch piston O-rings with ATF.
      GTY459795Courtesy of © TOYOTA, LICENSE AGREEMENT TMS1002
      *1 Transfer Direct Clutch Piston O-ring

      ATF

      Toyota Genuine ATF WS

    2. Install the 2 transfer direct clutch piston O-rings to the center differential clutch piston.
      O-RING SIZE:

      Installation position Inner diameter
      mm (in.)
      Thickness
      mm (in.)
      Inner 56.45 to 57.45
      (2.22 to 2.26)
      2.54 to 2.70
      (0.100 to 0.106)
      Outer 116.2 to 117.8
      (4.57 to 4.64)
      3.0 to 3.2
      (0.119 to 0.126)
  6. INSTALL CENTER DIFFERENTIAL CLUTCH PISTON 
    1. Install the center differential clutch piston to the transfer direct clutch drum sub-assembly.
      GTY102977Courtesy of © TOYOTA, LICENSE AGREEMENT TMS1002
      NOTE:

      Do not damage the transfer direct clutch piston O-ring.

  7. INSTALL TRANSFER DIRECT CLUTCH RETURN SPRING ASSEMBLY 
    1. Install the transfer direct clutch return spring assembly to the transfer direct clutch drum sub-assembly.
      GTY463420Courtesy of © TOYOTA, LICENSE AGREEMENT TMS1002
  8. INSTALL CENTER DIFFERENTIAL CLUTCH PRESSURE BALANCER 
    1. Coat the rubber on the center differential clutch pressure balancer with ATF.
      GTY458854Courtesy of © TOYOTA, LICENSE AGREEMENT TMS1002
      *a Rubber

      ATF

      Toyota Genuine ATF WS

    2. Install the center differential clutch pressure balancer to the transfer direct clutch drum sub-assembly.
    3. Place SST on the center differential clutch pressure balancer and compress the transfer direct clutch return spring assembly with a press.
      GTY497277Courtesy of © TOYOTA, LICENSE AGREEMENT TMS1002
      *1 Transfer Direct Clutch Return Spring Snap Ring
      • SST: 09350-30020 
        1. 09350-07040
    4. Using SST, install the transfer direct clutch return spring snap ring to the transfer direct clutch drum sub-assembly.
      • SST: 09350-30020 
        1. 09350-07040
        2. 09350-07070
  9. INSTALL CENTER DIFFERENTIAL CLUTCH DISC SET 
    1. Install the center differential clutch disc flange (No. 1), center differential clutch disc set (disc), center differential clutch disc set (plate) and center differential clutch disc flange (No. 2) to the transfer direct clutch drum sub-assembly.
      GTY462996Courtesy of © TOYOTA, LICENSE AGREEMENT TMS1002
      *1 Center Differential Clutch Disc Flange (No. 1)
      *2 Center Differential Clutch Disc Set (Disc)
      *3 Center Differential Clutch Disc Set (Plate)
      *4 Center Differential Clutch Disc Flange (No. 2)
      NOTE:
      • Make sure that the center differential clutch disc flanges, center differential clutch disc set (disc) and center differential clutch disc set (plate) are installed in the correct order.
      • Be sure to install the center clutch disc flange (No. 1) and center clutch disc flange (No. 2) in the correct direction.
      • Before assembling new discs, soak them in ATF for at least 15 minutes.

      ATF

      Toyota Genuine ATF WS

    2. Using a screwdriver, install the transfer direct clutch flange snap ring to the transfer direct clutch drum sub-assembly.
      GTY512928Courtesy of © TOYOTA, LICENSE AGREEMENT TMS1002
      *a Protective Tape

      HINT: 

      Tape the screwdriver tip before use.

    3. Install the transfer direct clutch drum sub-assembly to the transfer center support assembly.
      GTY463126Courtesy of © TOYOTA, LICENSE AGREEMENT TMS1002
      *1 Transfer Direct Clutch Drum Sub-assembly
      *2 Transfer Center Support Assembly
    4. Set the dial indicator perpendicular to the center differential clutch disc flange (No. 1).
      GTY500358Courtesy of © TOYOTA, LICENSE AGREEMENT TMS1002
      *1 Center Differential Clutch Disc Flange (No. 1)
      *2 Center Differential Clutch Pressure Balancer
      *3 Center Differential Clutch Piston
      *4 Oil Hole
    5. Apply compressed air (200 kPa, 2.0 kgf/cm2 , 29 psi) to the oil hole shown in the illustration. Measure the pack clearance.

      Standard Clearance

      0.40 to 0.80 mm (0.0158 to 0.0315 in.)

      HINT: 

      • Check that the center differential clutch piston moves smoothly.
      • Perform the measurement at 2 or 3 points and take the average.
    6. If the clearance is not as specified, select another center differential clutch disc flange (No. 1).
      CENTER DIFFERENTIAL CLUTCH DISC (NO. 1) FLANGE THICKNESS: MM (IN.)

      Mark Thickness mm (in.)
      90 2.95 to 3.05 (0.117 to 0.120)
      91 3.15 to 3.25 (0.125 to 0.127)
      92 3.35 to 3.45 (0.132 to 0.135)
    7. Remove the transfer direct clutch drum sub-assembly from the transfer center support assembly.
      GTY463126Courtesy of © TOYOTA, LICENSE AGREEMENT TMS1002
      *1 Transfer Direct Clutch Drum Sub-assembly
      *2 Transfer Center Support Assembly
  10. INSTALL TRANSFER REAR OUTPUT SHAFT BEARING 
    1. Attach the 2 guides to install the transfer rear output shaft bearing to the center differential carrier assembly.
      GTY399080Courtesy of © TOYOTA, LICENSE AGREEMENT TMS1002
  11. INSTALL TRANSFER REAR OUTPUT SHAFT ASSEMBLY AND CENTER DIFFERENTIAL CARRIER ASSEMBLY 
    1. Install the transfer rear output shaft assembly and center differential carrier assembly to the transfer direct clutch drum sub-assembly.
      GTY459035Courtesy of © TOYOTA, LICENSE AGREEMENT TMS1002
      *1 Transfer Rear Output Shaft Assembly
      *2 Center Differential Carrier Assembly
      *3 Transfer Direct Clutch Drum Sub-assembly
  12. INSTALL TRANSFER CHAIN CASE OIL SEAL 
    1. Using SST and a hammer, install a new transfer chain case oil seal.
      GTY513132Courtesy of © TOYOTA, LICENSE AGREEMENT TMS1002
      *1 Transfer Chain Case Oil Seal
      *a Depth
      • SST: 09316-60011 
        1. 09316-00011
        2. 09316-00071

      Standard Depth

      5.6 to 6.2 mm (0.221 to 0.244 in.)

    2. Apply MP grease to the lip of the transfer chain case oil seal.
  13. INSTALL TRANSFER CHAIN CASE GOVERNOR APPLY GASKET 
    1. Coat 2 new transfer chain case governor apply gaskets with ATF.
      GTY466478Courtesy of © TOYOTA, LICENSE AGREEMENT TMS1002

      ATF

      Toyota Genuine ATF WS

    2. Install the 2 transfer chain case governor apply gaskets to the transfer rear chain case assembly.
    3. Coat a new O-ring and 2 new transfer chain case governor apply gaskets with ATF.
      GTY500697Courtesy of © TOYOTA, LICENSE AGREEMENT TMS1002
      *A for Front Side
      *B for Rear Side
      *1 Transfer Chain Case Governor Apply Gasket
      *2 O-ring
      *3 Screw

      ATF

      Toyota Genuine ATF WS

    4. Install the O-ring to the screw.
    5. Install the 2 transfer chain case governor apply gaskets and screw to the transfer front chain case.

      Torque: 7.4 N.m (75 kgf/cm, 65 in.lbf) 

  14. INSTALL TRANSFER BAFFLE VALVE SUB-ASSEMBLY 
    1. Install the transfer baffle valve sub-assembly to the transfer rear chain case assembly with the bolt.
      GTY462324Courtesy of © TOYOTA, LICENSE AGREEMENT TMS1002

      Torque: 9.8 N.m (100 kgf/cm, 87 in.lbf) 

  15. INSTALL TRANSFER CASE BEARING 
    1. Using SST and a press, install a new transfer case bearing to the transfer case sub-assembly.
      GTY509831Courtesy of © TOYOTA, LICENSE AGREEMENT TMS1002
      *1 Transfer Case Bearing
      *a Depth
      • SST: 09950-60020 
        1. 09951-00890
      • SST: 09950-70010 
        1. 09951-07150

      Standard Depth

      94.61 to 94.86 mm (3.72480 to 3.73464 in.)

  16. INSTALL TRANSFER CASE OIL SEAL 
    1. Using SST and a hammer, install a new transfer case oil seal.
      GTY516229Courtesy of © TOYOTA, LICENSE AGREEMENT TMS1002
      *1 Transfer Case Oil Seal
      *a Depth
      • SST: 09325-40010 

      Standard Depth

      2.3 to 2.7 mm (0.0906 to 0.106 in.)

    2. Apply MP grease to the lip of the transfer case oil seal.
  17. INSTALL TRANSFER EXTENSION HOUSING DUST DEFLECTOR 
    1. Using SST and a press, install a new transfer extension housing dust deflector until its surface is flush with the transfer case sub-assembly.
      GTY496150Courtesy of © TOYOTA, LICENSE AGREEMENT TMS1002
      • SST: 09950-60020 
        1. 09951-00910
      • SST: 09950-70010 
        1. 09951-07150
  18. INSTALL TRANSFER FRONT CHAIN CASE 
    1. Clean the threads of the bolts and the transfer front chain case with non-residue solvent.
    2. Apply seal packing to the transfer front chain case as shown in the illustration.
      GTY503115Courtesy of © TOYOTA, LICENSE AGREEMENT TMS1002
      *a Seal Packing
      *b Seal Width 1.0 to 1.5 mm (0.0394 to 0.0591 in.)

      Seal Packing

      Toyota Genuine Seal Packing 1281, Three Bond 1281 or equivalent

      NOTE:

      Install the parts within 5 minutes of applying seal packing. Otherwise, the seal packing must be removed and reapplied.

    3. Install and uniformly tighten the 6 bolts in several steps.
      Fig 1: Uniformly Tighten Transfer Front Chain Case Bolts In Several Steps
      GTY508733Courtesy of © TOYOTA, LICENSE AGREEMENT TMS1002

      Torque: 33.9 N.m (346 kgf/cm, 25 ft.lbf) 

      HINT: 

      Bolt length: 

      • Bolt (A): 57 mm (2.24 in.)
      • Bolt (B): 74 mm (2.91 in.)
      • Other Bolts: 45 mm (1.77 in.)
  19. INSTALL TRANSFER FRONT DRIVE CHAIN, TRANSFER DRIVE SPROCKET SUB-ASSEMBLY AND TRANSFER FRONT DRIVEN CLUTCH SLEEVE SUB-ASSEMBLY 
    1. Install the transfer front drive chain to the transfer drive sprocket sub-assembly and transfer front driven clutch sleeve sub-assembly.
    2. Install the transfer front drive chain, transfer drive sprocket sub-assembly and transfer front driven clutch sleeve sub-assembly to the transfer front chain case.
      GTY503878Courtesy of © TOYOTA, LICENSE AGREEMENT TMS1002
      *1 Transfer Front Drive Chain
      *2 Transfer Drive Sprocket Sub-assembly
      *3 Transfer Front Driven Clutch Sleeve Sub-assembly
  20. INSTALL TRANSFER REAR CHAIN CASE ASSEMBLY 
    1. Clean the threads of the bolts and the transfer rear chain case assembly with non-residue solvent.
      GTY510161Courtesy of © TOYOTA, LICENSE AGREEMENT TMS1002
      *a Seal Packing
      *b Seal Width 1.0 to 1.5 mm (0.0394 to 0.0591 in.)
    2. Apply seal packing to the transfer rear chain case assembly as shown in the illustration.

      Seal Packing

      Toyota Genuine Seal Packing 1281, Three Bond 1281 or equivalent

      NOTE:

      Install the parts within 5 minutes of applying seal packing. Otherwise, the seal packing must be removed and reapplied.

    3. Install and uniformly tighten the 10 bolts in several steps.
      Fig 2: Uniformly Tighten Transfer Rear Chain Case Assembly Bolts In Several Steps
      GTY517504Courtesy of © TOYOTA, LICENSE AGREEMENT TMS1002

      Bolt (A) 

      Torque: 56.8 N.m (579 kgf/cm, 42 ft.lbf) 

      Bolt (B), Bolt (C) and Other Bolts 

      Torque: 33.9 N.m (346 kgf/cm, 25 ft.lbf) 

      HINT: 

      Bolt length: 

      • Bolt (A): 60 mm (2.36 in.)
      • Bolt (B): 50 mm (1.97 in.)
      • Bolt (C): 109 mm (4.29 in.)
      • Other Bolts: 40 mm (1.57 in.)
  21. INSTALL FLANGE YOKE ASSEMBLY 
    1. Install the flange yoke assembly to the transfer front driven clutch sleeve sub-assembly.
    2. Using SST, hold the flange yoke assembly.
      GTY463481Courtesy of © TOYOTA, LICENSE AGREEMENT TMS1002
      *a Turn
      *b Hold
      • SST: 09213-54015 
        1. 91651-60855
      • SST: 09330-00021 
      NOTE:

      When securing SST and flange yoke assembly, it is recommended to use M8 X P1.25 bolts with a length of approximately 55 mm.

    3. Using a 30 mm deep socket wrench, install a new flange yoke nut to the transfer front driven clutch sleeve sub-assembly.

      Torque: 122.5 N.m (1249 kgf/cm, 90 ft.lbf) 

    4. Using a chisel and hammer, stake the flange yoke nut.
  22. INSTALL TRANSFER REAR OUTPUT SHAFT ASSEMBLY 
    1. Install the transfer rear output shaft assembly to the transfer rear chain case assembly.
      GTY462188Courtesy of © TOYOTA, LICENSE AGREEMENT TMS1002
  23. INSTALL TRANSFER CASE SUB-ASSEMBLY 
    1. Install the clamp to the transfer case sub-assembly with the bolt.
      GTY505950Courtesy of © TOYOTA, LICENSE AGREEMENT TMS1002
      *a Clamp

      Torque: 5.4 N.m (55 kgf/cm, 48 in.lbf) 

    2. Clean the threads of the bolts and the transfer case sub-assembly with non-residue solvent.
      GTY515559Courtesy of © TOYOTA, LICENSE AGREEMENT TMS1002
      *a Seal Packing
      *b Seal Width 1.0 to 1.5 mm (0.0394 to 0.0591 in.)
    3. Apply seal packing to the transfer case sub-assembly as shown in the illustration.

      Seal Packing

      Toyota Genuine Seal Packing 1281, Three Bond 1281 or equivalent

      NOTE:

      Install the parts within 5 minutes of applying seal packing. Otherwise, the seal packing must be removed and reapplied.

    4. Install and tighten the 8 bolts and clamp in several steps.
      Fig 3: Uniformly Tighten Transfer Case Sub-Assembly Bolts In Several Steps
      GTY510481Courtesy of © TOYOTA, LICENSE AGREEMENT TMS1002
      *a Clamp

      Torque: 33.9 N.m (346 kgf/cm, 25 ft.lbf) 

      HINT: 

      Bolt length: 

      • Bolt (A): 88 mm (3.46 in.)
      • Bolt (B): 40 mm (1.57 in.)
  24. INSTALL TRANSFER TRANSMISSION WIRE 
    1. Coat the transfer transmission wire O-ring with ATF.
      GTY505470Courtesy of © TOYOTA, LICENSE AGREEMENT TMS1002
      *a Transfer Transmission Wire O-ring
      Coat with Toyota Genuine ATF WS

      ATF

      Toyota Genuine ATF WS

    2. Install the transfer transmission wire to the transfer case sub-assembly with the bolt.
      GTY462191Courtesy of © TOYOTA, LICENSE AGREEMENT TMS1002

      Torque: 5.4 N.m (55 kgf/cm, 48 in.lbf) 

  25. INSTALL TRANSFER CONTROL SOLENOID ASSEMBLY 

    See step  1

  26. INSTALL TRANSFER CONTROL VALVE BODY ASSEMBLY 
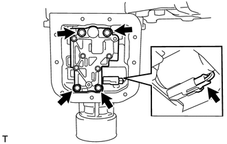
    1. Connect the transfer control solenoid assembly connector and install the transfer control valve body assembly to the transfer case sub-assembly with the 4 bolts.

      Torque: 9.8 N.m (100 kgf/cm, 87 in.lbf) 

      GTY503571Courtesy of © TOYOTA, LICENSE AGREEMENT TMS1002
  27. INSTALL TRANSFER OIL PAN SUB-ASSEMBLY 
    1. Install the transfer oil cleaner magnet to the transfer oil pan sub-assembly.
      GTY466192Courtesy of © TOYOTA, LICENSE AGREEMENT TMS1002
      *1 Transfer Oil Cleaner Magnet
    2. Clean the threads of the bolts and the transfer oil pan sub-assembly with non-residue solvent.
      GTY497805Courtesy of © TOYOTA, LICENSE AGREEMENT TMS1002
      *a Seal Packing
      *b Seal Width 3.0 to 3.5 mm (0.118 to 0.138 in.)
    3. Apply seal packing to the transfer oil pan sub-assembly as shown in the illustration.

      Seal Packing

      Toyota Genuine Seal Packing 1281, Three Bond 1281 or equivalent

      NOTE:

      Install the parts within 5 minutes of applying seal packing. Otherwise, the seal packing must be removed and reapplied.

    4. Install and uniformly tighten the 9 bolts in several steps.
      Fig 4: Locating Transfer Oil Pan Bolts
      GTY462198Courtesy of © TOYOTA, LICENSE AGREEMENT TMS1002

      Torque: 7.4 N.m (75 kgf/cm, 65 in.lbf)