LEMON Manuals: Even more car manuals for everyone: 1960-2025
Home >> Lexus >> 2017 >> ES 350 >> Repair and Diagnosis >> Engine Performance >> System >> Engine Control System (Diagnostic Codes (3 Of 3) & Circuit Tests) >> SFI System >> Circuit Tests >> EVAP System [07/2015 - ] >> Procedure
April 5, 2026: LEMON Manuals is launched! Read the announcement.

EVAP System [07/2015 - ]: Procedure

  1. CONFIRM DTC 
    1. Turn the engine switch off and wait for 10 seconds.
    2. Turn the engine switch on (IG).
    3. Turn the engine switch off and wait for 10 seconds.
    4. Connect the Techstream to the DLC3.
    5. Turn the engine switch on (IG).
    6. Turn the Techstream on.
    7. Enter the following menus: Powertrain / Engine / Trouble Codes.
    8. Confirm the DTCs and freeze frame data.

      If any EVAP system DTCs are stored, the malfunctioning area can be determined using the table below.

      GTY322312Courtesy of © TOYOTA, LICENSE AGREEMENT TMS1002
      NOTE:

      If the reference pressure difference between the first and second checks is greater than the specification, all the DTCs relating to the reference pressure (P043E, P043F, P2401, P2402 and P2419) are stored.

    Result:  NEXT

    NEXT 

    See step  2

  2. PERFORM EVAP SYSTEM CHECK (AUTOMATIC MODE) 
    NOTE:
    • The Evaporative System Check (Automatic Mode) consists of 6 steps performed automatically by the Techstream. It takes a maximum of approximately 24 minutes.
    • Do not perform the Evaporative System Check when the fuel tank is more than 90% full because the cut-off valve may be closed, making the fuel tank leak check unavailable.
    • Do not run the engine during this operation.
    • When the temperature of the fuel is 35°C (95°F) or higher, a large amount of vapor forms and any check results become inaccurate. When performing the Evaporative System Check, keep the temperature less than 35°C (95°F).
    1. Connect the Techstream to the DLC3.
    2. Turn the engine switch on (IG).
    3. Turn the Techstream on.
    4. Clear the DTCs (Refer to DTC CHECK / CLEAR [07/2015 - ] ).
    5. Enter the following menus: Powertrain / Engine / Utility / Evaporative System Check / Automatic Mode.
    6. After the Evaporative System Check is completed, check for pending DTCs by entering the following menus: Powertrain / Engine / Trouble Codes.

      HINT: 

      If no pending DTCs are displayed, perform the Confirmation Driving Pattern. After this confirmation, check for pending DTCs. If no DTCs are displayed, the EVAP system is normal.

    Result:  NEXT

    NEXT 

    See step  3

  3. PERFORM EVAP SYSTEM CHECK (MANUAL MODE) 
    GTY669756Courtesy of © TOYOTA, LICENSE AGREEMENT TMS1002
    NOTE:
    • In the Evaporative System Check (Manual Mode), the series of 6 Evaporative System Check steps are performed manually using the Techstream.
    • Do not perform the Evaporative System Check when the fuel tank is more than 90% full because the cut-off valve may be closed, making the fuel tank leak check unavailable.
    • Do not run the engine during this operation.
    • When the temperature of the fuel is 35°C (95°F) or higher, a large amount of vapor forms and any check results become inaccurate. When performing the Evaporative System Check, keep the temperature less than 35°C (95°F).
    1. Connect the Techstream to the DLC3.
    2. Turn the engine switch on (IG).
    3. Turn the Techstream on.
    4. Clear the DTCs (Refer to DTC CHECK / CLEAR [07/2015 - ] ).
    5. Enter the following menus: Powertrain / Engine / Utility / Evaporative System Check / Manual Mode.

    Result:  NEXT

    NEXT 

    See step  4

  4. PERFORM EVAP SYSTEM CHECK (STEP 1/6) 
    GTY663850Courtesy of © TOYOTA, LICENSE AGREEMENT TMS1002
    1. Check the EVAP pressure in step 1/6.
      RESULT

      DTC
      *1
      Result Suspected Trouble Area Proceed to
      - Virtually no variation in EVAP pressure Not yet determined A
      P0451 EVAP pressure fluctuates by +/-0.3 kPa(gauge) [2.25 mmHg(gauge)] or higher Canister pressure sensor signal noise B
      (P0452 or P0453)
      *2
      • EVAP pressure is below 42.11009 kPa(abs) [315.85178 mmHg(abs)] or 123.76147 kPa(abs) [928.28776 mmHg(abs)] or higher
      • EVAP pressure deviates +/-10 kPa(gauge) [75 mmHg(gauge)] from actual atmosphere pressure *3
      Canister pressure sensor or its circuit has malfunction C
      • *1: These DTCs are already present in the ECM when the vehicle arrives and are confirmed in the "Confirm DTC" procedure above.
      • *2: If the canister pressure sensor circuit has an open or short, DTC P0452 or P0453 is stored 0.5 seconds after the engine switch is turned on (IG).

      HINT: 

      *3: Canister pressure sensor standard output range is 70 to 110 kPa(abs) [525 to 825 mmHg(abs)]. This varies by weather.

    Result:  B

    See step  38

    Result:  C

    See step  12

    Result:  A

    See step  5

  5. PERFORM EVAP SYSTEM CHECK (STEP 1/6 TO 2/6) 
    GTY669934Courtesy of © TOYOTA, LICENSE AGREEMENT TMS1002
    1. Check the EVAP pressure in steps 1/6 and 2/6.
      RESULT

      DTC* Result Suspected Trouble Area Proceed to
      - Virtually no variation in EVAP pressure during step 1/6. Then decreases to reference pressure Not yet determined A
      P2402 Small difference between EVAP pressures during steps 1/6 and 2/6 Leak detection pump stuck ON B

      *: These DTCs are already present in the ECM when the vehicle arrives and are confirmed in the "Confirm DTC" procedure above.

      HINT: 

      The first reference pressure is the value determined in step 2/6.

    Result:  B

    See step  31

    Result:  A

    See step  6

  6. PERFORM EVAP SYSTEM CHECK (STEP 2/6) 
    GTY616336Courtesy of © TOYOTA, LICENSE AGREEMENT TMS1002

    HINT: 

    Make a note of the pressures checked in inspection items (A) and (B) below.

    1. Check the EVAP pressure 4 seconds after the leak detection pump is activated*1 (A).

      *1: The leak detection pump begins to operate as step 1/6 finishes and step 2/6 starts.

    2. Check the EVAP pressure again when it has stabilized. This pressure is the reference pressure (B).
      RESULT

      DTC*2 Result Suspected Trouble Area Proceed to
      - EVAP pressure in inspection item (B) is between -4.85 kPa(gauge) and -1.057 kPa(gauge) [-36.38 mmHg(gauge) and -7.929 mmHg(gauge)] Not yet determined A
      P043F and P2401 EVAP pressure in inspection item (B) is -1.057 kPa(gauge) [-7.929 mmHg(gauge)] or higher
      • Reference orifice high-flow
      • Leak detection pump stuck off
      B
      P043E EVAP pressure in inspection item (B) is less than -4.85 kPa(gauge) [-36.38 mmHg(gauge)] Reference orifice clogged C
      P2419 EVAP pressure in inspection item (A) is higher than -0.25 kPa(gauge) [-1.875 mmHg(gauge)]
      • Vent valve stuck closed
      • Leak detection pump performance deteriorates
      • Leak detection pump circuit malfunctioning (large resistance exists in the circuit)
      D

      *2: These DTCs are already present in the ECM when the vehicle arrives and are confirmed in the "Confirm DTC" procedure above.

    Result:  B

    See step  11

    Result:  C

    See step  38

    Result:  D

    See step  13

    Result:  A

    See step  7

  7. PERFORM EVAP SYSTEM CHECK (STEP 2/6 TO 3/6) 
    GTY615152Courtesy of © TOYOTA, LICENSE AGREEMENT TMS1002
    1. Check the EVAP pressure in step 3/6.
      RESULT

      DTC* Result Suspected Trouble Area Proceed to
      - EVAP pressure increases by 0.3 kPa(gauge) [2.25 mmHg(gauge)] or higher within 10 seconds of proceeding from step 2/6 to step 3/6 Not yet determined A
      P2420 No variation in EVAP pressure even after proceeding from step 2/6 to step 3/6
      • Vent valve stuck open (vent)
      • Canister (charcoal filter inside canister) clogged
      B
      P0451 No variation in EVAP pressure during steps 1/6 through 3/6
      • Canister pressure sensor output value stuck
      • Vent valve broken (valve split in two)
      • Leak detection pump performance deteriorates
      • Leak detection pump circuit malfunctioning (large resistance exists in the circuit)
      C

      *: These DTCs are already present in the ECM when the vehicle arrives and are confirmed in the "Confirm DTC" procedure above.

    Result:  B

    See step  27

    Result:  C

    See step  15

    Result:  A

    See step  8

  8. PERFORM EVAP SYSTEM CHECK (STEP 3/6) 
    GTY622960Courtesy of © TOYOTA, LICENSE AGREEMENT TMS1002
    1. Wait until the EVAP pressure change is less than 0.1 kPa(gauge) [0.75 mmHg(gauge)] for 40 seconds.
    2. Measure the EVAP pressure and record it.

      HINT: 

      A few minutes are required for the EVAP pressure to become saturated. When there is little fuel in the fuel tank, it takes up to 15 minutes.

    Result:  NEXT

    NEXT 

    See step  9

  9. PERFORM EVAP SYSTEM CHECK (STEP 4/6) 
    GTY628702Courtesy of © TOYOTA, LICENSE AGREEMENT TMS1002
    1. Check the EVAP pressure in step 4/6.
      RESULT

      DTC*1 Result Suspected Trouble Area Proceed to
      - EVAP pressure increases by 0.3 kPa(gauge) [2.25 mmHg(gauge)] or higher within 10 seconds of proceeding from step 3/6 to step 4/6 Not yet determined A
      P0441
      *2
      EVAP pressure increases by 0.3 kPa(gauge) [2.25 mmHg(gauge)] or higher within 10 seconds of proceeding from step 3/6 to step 4/6
      • Purge VSV
      • Purge VSV circuit
      • Problems in EVAP hose between purge VSV and intake air surge tank assembly
      • Problems in EVAP hose between canister and purge VSV
      • ECM
      B
      P0441 Variation in EVAP pressure is less than 0.3 kPa(gauge) [2.25 mmHg(gauge)] for 10 seconds, after proceeding from step 3/6 to step 4/6
      • Purge VSV stuck closed
      • Purge VSV circuit
      • Canister (charcoal filter inside canister) clogged
      • Problems in EVAP hose between purge VSV and intake air surge tank assembly
      • Problems in EVAP hose between canister and purge VSV
      • ECM
      C
      • *1: These DTCs are already present in the ECM when the vehicle arrives and are confirmed in the "Confirm DTC" procedure above.
      • *2: This result suggests that due to purge line blockage or purge VSV malfunction, the DTC was stored by the purge flow monitor while the engine was running, or that key-off monitor test result were nearly borderline values.

    Result:  B

    See step  22

    Result:  C

    See step  17

    Result:  A

    See step  10

  10. PERFORM EVAP SYSTEM CHECK (STEP 5/6) 
    GTY644346Courtesy of © TOYOTA, LICENSE AGREEMENT TMS1002
    1. Check the EVAP pressure in step 5/6.
    2. Compare the EVAP pressure in step 3/6 and the second reference pressure (step 5/6).
      RESULT

      DTC* Result Suspected Trouble Area Proceed to
      - EVAP pressure from step 3/6 lower than second reference pressure (step 5/6) Not yet determined (no leakage from EVAP system) A
      P0441 and P0455 EVAP pressure from step 3/6 higher than [second reference pressure (step 5/6) x 0.2]
      • Purge VSV stuck open
      • EVAP gross leak
      B
      P0456 EVAP pressure from step 3/6 higher than second reference pressure (step 5/6) EVAP small leak B

      *: These DTCs are already present in the ECM when the vehicle arrives and are confirmed in the "Confirm DTC" procedure above.

    Result:  A

    See step  43

    Result:  B

    See step  17

  11. PERFORM EVAP SYSTEM CHECK (STEP 3/6) 
    GTY635791Courtesy of © TOYOTA, LICENSE AGREEMENT TMS1002
    1. Check the EVAP pressure in step 3/6.
      RESULT

      DTC* Result Suspected Trouble Area Proceed to
      P043F EVAP pressure less than [reference pressure] measured in step 2/6 Reference orifice high-flow A
      P2401 EVAP pressure almost same as [reference pressure] measured in step 2/6 Leak detection pump stuck off B

      *: These DTCs are already present in the ECM when the vehicle arrives and are confirmed in the "Confirm DTC" procedure above.

      HINT: 

      The first reference pressure is the value determined in step 2/6.

    Result:  A

    See step  38

    Result:  B

    See step  31

  12. INSPECT CANISTER PUMP MODULE (CANISTER PRESSURE SENSOR CIRCUIT) 
    1. Check the canister pressure sensor circuit, referring to DTC P0451 canister pressure sensor circuit inspection procedure (Refer to CAUTION / NOTICE / HINT ).

    Result:  NEXT

    NEXT 

    See step  49

  13. INSPECT CANISTER PUMP MODULE (VENT VALVE OPERATION) 
    1. Turn the engine switch off.
    2. Disconnect the canister pump module connector.
      GTY635932Courtesy of © TOYOTA, LICENSE AGREEMENT TMS1002
      TEXT IN ILLUSTRATION

      *a Component without harness connected
      (Canister Pump Module)
    3. Apply the battery voltage to terminals VLVB and VGND of the canister pump module.
    4. Touch the canister pump module to confirm the vent valve operation.
      RESULT

      Condition Tester Result Suspected Trouble Area Proceed to
      Apply battery voltage to terminals VLVB and VGND Operating
      • Wire harness or connector between vent valve and ECM
      • Leak detection pump performance deteriorates
      • Leak detection pump circuit malfunctioning (large resistance exists in the circuit)
      • ECM
      A
      Not operating Vent valve B

    Result:  B

    See step  38

    Result:  A

    See step  14

  14. CHECK HARNESS AND CONNECTOR (CANISTER PUMP MODULE - ECM) 
    1. Turn the engine switch off.
    2. Disconnect the ECM connector.
    3. Disconnect the canister pump module connector.
    4. Measure the resistance according to the value(s) in the table below.

      Standard Resistance

      Tester Connection Condition Specified Condition
      A22-7 (VPMP) - P28-1 (VGND) Always Below 1 Ω
      A22-7 (VPMP) or P28-1 (VGND) - Body ground Always 10 kΩ or higher
      RESULT

      Result Suspected Trouble Area Proceed to
      OK
      • Leak detection pump performance deteriorates
      • Leak detection pump circuit malfunctioning (large resistance exists in the circuit)
      • ECM
      A
      NG Wire harness or connector between ECM and canister pump module B

    Result:  B

    See step  40

    Result:  A

    See step  15

  15. CHECK HARNESS AND CONNECTOR (CANISTER PUMP MODULE - BODY GROUND) 
    1. Disconnect the canister pump module connector.
    2. Measure the resistance according to the value(s) in the table below.
      RESULT

      Tester Connection Condition Specified Condition Suspected Trouble Area Proceed to
      P28-4 (MGND) - Body ground Always Below 1 Ω
      • Canister pump module
      • Wire harness or connector between canister pump module and ECM
      • ECM
      A
      10 kΩ or higher Wire harness or connector between canister pump module and body ground B

    Result:  B

    See step  40

    Result:  A

    See step  16

  16. CHECK HARNESS AND CONNECTOR (ECM - CANISTER PUMP MODULE) 
    1. Disconnect the canister pump module connector.
    2. Disconnect the ECM connector.
    3. Measure the resistance according to the value(s) in the table below.
      RESULT

      Tester Connection Condition Specified Condition Suspected Trouble Area Proceed to
      A22-6 (MPMP) - P28-3 (MTRB) Always Below 1 Ω
      • Canister pump module
      • ECM
      A
      10 kΩ or higher Wire harness or connector between ECM and canister pump module B

    Result:  A

    See step  45

    Result:  B

    See step  40

  17. PERFORM ACTIVE TEST USING TECHSTREAM (PURGE VSV) 
    1. Enter the following menus: Powertrain / Engine / Active Test / Activate the VSV for EVAP Control.
    2. Disconnect the fuel vapor feed hose assembly (connected to the canister) from the purge VSV.
      GTY555398Courtesy of © TOYOTA, LICENSE AGREEMENT TMS1002
      TEXT IN ILLUSTRATION

      *1 Purge VSV
      *2 Fuel Vapor Feed Hose Assembly (to Canister)
    3. Start the engine.
    4. Using the Techstream, turn off the purge VSV (Activate the VSV for Evap Control: OFF).
    5. Use your finger to confirm that the purge VSV has no suction.
    6. Using the Techstream, turn on the purge VSV (Activate the VSV for Evap Control: ON).
    7. Use your finger to confirm that the purge VSV has suction.
      RESULT

      Test Result Suspected Trouble Area Proceed to
      No suction when purge VSV turned off, and suction applied when turned on Blockage in the purge line is considered (based on result of step 9):
      • Problems with EVAP hose between canister and purge VSV
      • Canister (charcoal filter inside canister) clogged
      • ECM
      A
      Leakage is considered (based on result of step 10):
      • Fuel cap
      • Leakage from EVAP line, fuel tank, or canister
      B
      Suction applied when purge VSV turned off
      • Purge VSV stuck open
      C
      No suction when purge VSV turned on
      • Purge VSV stuck closed
      • Problems with EVAP hose between purge VSV and intake air surge tank assembly
      D

    Result:  B

    See step  20

    Result:  C

    See step  21

    Result:  D

    See step  23

    Result:  A

    See step  18

  18. INSPECT EVAP HOSE (PURGE VSV - CANISTER) 
    1. Check for blockages in the EVAP purge line between the purge VSV and canister.

      OK

      No blockages in the EVAP purge line between the purge VSV and canister.

    Result:  NG

    NG 

    See step  44

    Result:  OK

    OK 

    See step  19

  19. INSPECT CANISTER (CHARCOAL FILTER INSIDE CANISTER) 
    1. Check for filter blockage in the canister (Refer to INSPECTION [07/2015 - ] ).

      OK

      No blockages in the canister.

    Result:  OK

    OK 

    See step  47

    Result:  NG

    NG 

    See step  48

  20. CHECK FUEL CAP 
    1. Check that the fuel cap is correctly installed and confirm that the fuel cap meets OEM specifications.
    2. Tighten the fuel cap firmly (only one click sound could be heard).

      HINT: 

      If an EVAP tester is available, check the fuel cap using the tester.

      1. Remove the fuel cap and install it onto a fuel cap adapter.
      2. Connect an EVAP tester pump hose to the adapter, and pressurize the cap to 3.2 to 3.7 kPa(gauge) [24 to 27.75 mmHg(gauge)] using an EVAP tester pump.
      3. Seal the adapter and wait for 2 minutes.
      4. Check the pressure. If the pressure is 2 kPa(gauge) [15 mmHg(gauge)] or higher, the fuel cap is normal.
        RESULT

        Test Result Suspected Trouble Area Proceed to
        Fuel cap correctly installed - A
        Fuel cap loose
        • Fuel cap improperly installed
        • Defective fuel cap
        • Fuel cap does not meet OEM specifications
        B
        Defective fuel cap - B
        No fuel cap - C

    Result:  A

    See step  37

    Result:  B

    See step  35

    Result:  C

    See step  36

  21. INSPECT PURGE VSV 
    1. Turn the engine switch off.
    2. Disconnect the purge VSV connector.
      GTY575695Courtesy of © TOYOTA, LICENSE AGREEMENT TMS1002
      TEXT IN ILLUSTRATION

      *1 Fuel Vapor Feed Hose Assembly (to Canister)
      *2 Purge VSV Connector
      *3 Purge VSV
    3. Disconnect the fuel vapor feed hose assembly (connected to the canister) from the purge VSV.
    4. Start the engine.
    5. Use your finger to confirm that the purge VSV has no suction.
      RESULT

      Test Result Suspected Trouble Area Proceed to
      No suction
      • Wire harness or connector between purge VSV and ECM
      • ECM
      A
      Suction applied Purge VSV B

    Result:  A

    See step  26

    Result:  B

    See step  39

  22. INSPECT EVAP HOSE (PURGE VSV - CANISTER) 
    1. Check for blockages in the EVAP purge line between the purge VSV and canister.

      OK

      No blockages in the EVAP purge line between the purge VSV and canister.

    Result:  NG

    NG 

    See step  44

    Result:  OK

    OK 

    See step  23

  23. CHECK EVAP HOSE (PURGE VSV - INTAKE AIR SURGE TANK ASSEMBLY) 
    1. Disconnect the fuel vapor feed hose assembly (connected to the intake air surge tank assembly) from the purge VSV.
      GTY314699Courtesy of © TOYOTA, LICENSE AGREEMENT TMS1002
      TEXT IN ILLUSTRATION

      *1 Purge VSV
      *2 Fuel Vapor Feed Hose Assembly (to Intake Air Surge Tank Assembly)
    2. Start the engine.
    3. Use your finger to confirm that the hose has suction.
      RESULT

      Test Result Suspected Trouble Area Proceed to
      Suction applied EVAP hose between purge VSV and intake air surge tank assembly normal
      • Purge VSV
      • Purge VSV power source
      • Wire harness or connector between purge VSV and ECM
      A
      No suction
      • Intake air surge tank assembly port
      • EVAP hose between purge VSV and intake air surge tank assembly
      B

    Result:  B

    See step  34

    Result:  A

    See step  24

  24. INSPECT PURGE VSV 
    1. Remove the purge VSV.
    2. Apply battery voltage to the terminals of the purge VSV.
      GTY318982Courtesy of © TOYOTA, LICENSE AGREEMENT TMS1002
      TEXT IN ILLUSTRATION

      *1 Purge VSV
    3. Confirm that air flows from port E to port F.
      RESULT

      Test Result Condition Suspected Trouble Area Proceed to
      Air flows Battery voltage is applied to purge VSV terminals Purge VSV normal
      • Purge VSV power source
      • Wire harness or connector between purge VSV and ECM
      A
      No air flow Battery voltage is applied to purge VSV terminals Purge VSV B

    Result:  B

    See step  39

    Result:  A

    See step  25

  25. CHECK TERMINAL VOLTAGE (POWER SOURCE OF PURGE VSV) 
    1. Disconnect the purge VSV connector.
      GTY622658Courtesy of © TOYOTA, LICENSE AGREEMENT TMS1002
      TEXT IN ILLUSTRATION

      *a Front view of wire harness connector
      (to Purge VSV)
    2. Turn the engine switch on (IG).
    3. Measure the voltage according to the value(s) in the table below.
      RESULT

      Tester Connection Condition Specified Condition Suspected Trouble Area Proceed to
      D46-1 - Body ground Engine switch on (IG) 11 to 14 V Purge VSV power source normal
      • Wire harness or connector between purge VSV and ECM
      A
      Other than result above Wire harness or connectors between purge VSV and battery B

    Result:  B

    See step  40

    Result:  A

    See step  26

  26. CHECK HARNESS AND CONNECTOR (PURGE VSV - ECM) 
    1. Disconnect the ECM connector.
    2. Disconnect the purge VSV connector.
    3. Measure the resistance according to the value(s) in the table below.

      Standard Resistance

      Tester Connection Condition Specified Condition
      D46-2 - D23-48 (PRG) Always Below 1 Ω
      D46-2 or D23-48 (PRG) - Body ground Always 10 kΩ or higher

    Result:  OK

    OK 

    See step  47

    Result:  NG

    NG 

    See step  40

  27. INSPECT CANISTER PUMP MODULE (POWER SOURCE FOR VENT VALVE) 
    1. Turn the engine switch off.
      GTY636190Courtesy of © TOYOTA, LICENSE AGREEMENT TMS1002
      TEXT IN ILLUSTRATION

      *a Front view of wire harness connector
      (to Canister Pump Module)
      - -
    2. Disconnect the canister pump module connector.
    3. Turn the engine switch on (IG).
    4. Measure the voltage according to the value(s) in the table below.
      RESULT

      Tester Connection Condition Specified Condition Suspected Trouble Area Proceed to
      P28-5 (VLVB) - Body ground Engine switch on (IG) 11 to 14 V
      • Wire harness or connector between vent valve and ECM
      • Vent valve
      • Canister (charcoal filter inside canister) clogged
      • ECM
      A
      Below 3 V
      • Power source wire harness of vent valve
      B

    Result:  B

    See step  40

    Result:  A

    See step  28

  28. INSPECT CANISTER PUMP MODULE (VENT VALVE OPERATION) 
    1. Turn the engine switch off.
    2. Disconnect the canister pump module connector.
      GTY635951Courtesy of © TOYOTA, LICENSE AGREEMENT TMS1002
      TEXT IN ILLUSTRATION

      *a Component without harness connected
      (Canister Pump Module)
    3. Apply the battery voltage to terminals VLVB and VGND of the canister pump module.
    4. Touch the canister pump module to confirm the vent valve operation.
      RESULT

      Condition Tester Result Suspected Trouble Area Proceed to
      Apply battery voltage to terminals VLVB and VGND Operating
      • Wire harness or connector between vent valve and ECM
      • Canister (charcoal filter inside canister) clogged
      • ECM
      A
      Not operating
      • Vent valve
      B

    Result:  B

    See step  38

    Result:  A

    See step  29

  29. CHECK HARNESS AND CONNECTOR (CANISTER PUMP MODULE - ECM) 
    1. Turn the engine switch off.
    2. Disconnect the canister pump module connector.
    3. Disconnect the ECM connector.
    4. Measure the resistance according to the value(s) in the table below.
      RESULT

      Tester Connection Condition Test Result Suspected Trouble Area Proceed to
      P28-1 (VGND) - A22-7 (VPMP) Always Below 1 Ω
      • Canister (charcoal filter inside canister) clogged
      • ECM
      A
      10 kΩ or higher Wire harness or connector between ECM and canister pump module B

    Result:  B

    See step  40

    Result:  A

    See step  30

  30. INSPECT CANISTER (CHARCOAL FILTER INSIDE CANISTER) 
    1. Check for filter blockage in the canister (Refer to INSPECTION [07/2015 - ] ).

      OK

      No blockages in the canister.

    Result:  OK

    OK 

    See step  47

    Result:  NG

    NG 

    See step  48

  31. CHECK TERMINAL VOLTAGE (CANISTER PUMP MODULE) 
    1. Turn the engine switch off.
    2. Disconnect the canister pump module connector.
      GTY667756Courtesy of © TOYOTA, LICENSE AGREEMENT TMS1002
      TEXT IN ILLUSTRATION

      *a Front view of wire harness connector
      (to Canister Pump Module)
      - -
    3. Turn the engine switch on (IG).
    4. Measure the voltage according to the value(s) in the table below.
      RESULT

      Tester Connection Condition Test Result Suspected Trouble Area Proceed to
      P28-3 (MTRB) - Body ground Engine switch on (IG) 9 to 14 V
      • Wire harness or connector between leak detection pump and body ground
      • Leak detection pump
      A
      Below 3 V
      • Wire harness or connector between leak detection pump and ECM
      • ECM
      B

    Result:  B

    See step  33

    Result:  A

    See step  32

  32. CHECK HARNESS AND CONNECTOR (CANISTER PUMP MODULE - BODY GROUND) 
    1. Turn the engine switch off.
    2. Disconnect the canister pump module connector.
    3. Measure the resistance according to the value(s) in the table below.
      RESULT

      Tester Connection Condition Specified Condition Suspected Trouble Area Proceed to
      P28-4 (MGND) - Body ground Always Below 1 Ω Leak detection pump A
      10 kΩ or higher Wire harness or connector between canister pump module and body ground B

    Result:  A

    See step  38

    Result:  B

    See step  40

  33. CHECK HARNESS AND CONNECTOR (ECM - CANISTER PUMP MODULE) 
    1. Turn the engine switch off.
    2. Disconnect the ECM connector.
    3. Disconnect the canister pump module connector.
    4. Measure the resistance according to the value(s) in the table below.

      Standard Resistance

      Tester Connection Condition Specified Condition
      A22-6 (MPMP) - P28-3 (MTRB) Always Below 1 Ω
      A22-6 (MPMP) or P28-3 (MTRB) - Body ground Always 10 kΩ or higher
      RESULT

      Result Suspected Trouble Area Proceed to
      OK ECM A
      NG Wire harness or connector between ECM and canister pump module B

    Result:  A

    See step  47

    Result:  B

    See step  40

  34. INSPECT INTAKE AIR SURGE TANK ASSEMBLY (EVAP PURGE PORT) 
    1. Stop the engine.
    2. Disconnect the EVAP hose from the intake air surge tank assembly.
    3. Start the engine.
    4. Use your finger to confirm that the port of the intake air surge tank assembly has suction.
      RESULT

      Tester Connection Suspected Trouble Area Proceed to
      Suction applied EVAP hose between intake air surge tank assembly and purge VSV A
      No suction Intake air surge tank assembly B

    Result:  A

    See step  41

    Result:  B

    See step  42

  35. CORRECTLY REINSTALL OR REPLACE FUEL CAP 

    HINT: 

    • When reinstalling the fuel cap, tighten it firmly (only one click sound could be head).
    • When replacing the fuel cap, use a fuel cap that meets OEM specifications, and install it firmly.

    Result:  NEXT

    NEXT 

    See step  49

  36. REPLACE FUEL CAP 

    HINT: 

    When installing the fuel cap, tighten it firmly (only one click sound could be head).

    Result:  NEXT

    NEXT 

    See step  49

  37. LOCATE EVAP LEAK PART 
    1. Disconnect the vent hose.
      GTY375114Courtesy of © TOYOTA, LICENSE AGREEMENT TMS1002
      TEXT IN ILLUSTRATION

      *1 Fuel Tank *2 Canister
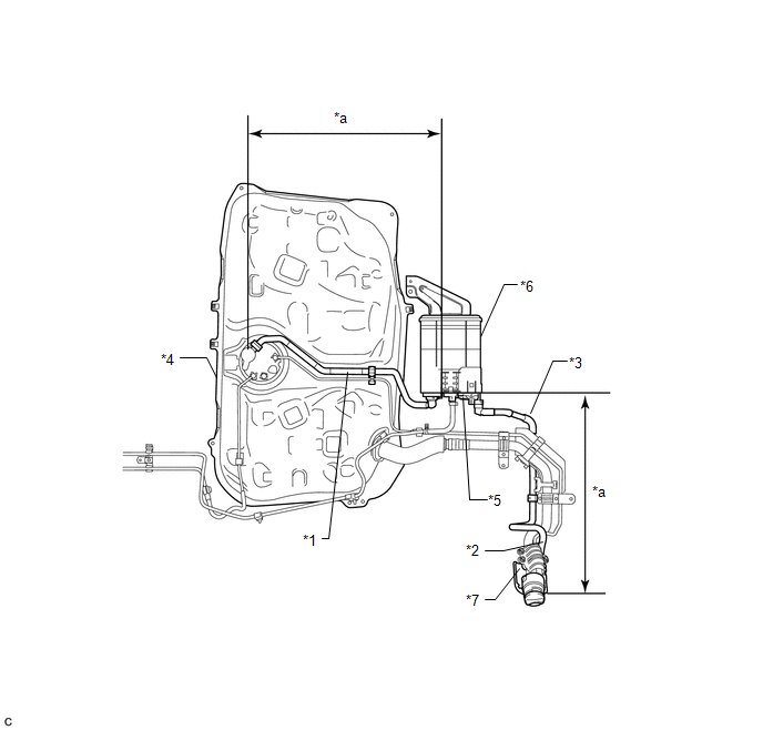
      *3 Canister Filter *4 Fuel Cap
      *5 Canister Pump Module - -
      *a Disconnect the vent hose here - -
    2. Connect the EVAP pressure tester tool to the canister pump module with the adapter.
      GTY373412Courtesy of © TOYOTA, LICENSE AGREEMENT TMS1002
      TEXT IN ILLUSTRATION

      *1 Canister Pump Module *2 Adapter
      *3 EVAP Pressure Tester Tool - -
    3. Pressurize the EVAP system to 3.2 to 3.7 kPa(gauge) [24 to 28 mmHg(gauge)].
    4. Apply soapy water to the piping and connecting parts of the EVAP system.
    5. Look for areas where bubbles appear. This indicates the leak point.
    6. Repair or replace the leak point.

      HINT: 

      Disconnect the hose between the canister and fuel tank from the canister. Block the canister side and conduct an inspection. In this way, the fuel tank can be excluded as an area suspected of causing fuel leaks.

    Result:  NEXT

    NEXT 

    See step  49

  38. REPLACE CANISTER PUMP MODULE 
    1. Replace the canister pump module (Refer to REMOVAL [07/2015 - ] ).
      NOTE:
      • When replacing canister pump module, check the canister pump module interior, canister interior and related pipes for water, fuel and other liquids. If liquids are present, check for disconnections and/or cracks in the following: 1) the pipe from the air inlet port to the canister pump module; 2) the canister filter; and 3) the fuel tank vent hose. If liquids are present in canister interior, replace canister and canister pump module together.
      • Check for filter blockage in the canister. If the charcoal filter inside the canister is clogged, replace canister and canister pump module together.
      • Check for filter blockage in the canister filter. if the canister filter has blockages, replace the canister filter.
      GTY563950Courtesy of © TOYOTA, LICENSE AGREEMENT TMS1002
      TEXT IN ILLUSTRATION

      *1 Fuel Tank Vent Hose *2 Air Inlet Port
      *3 Vent Hose *4 Fuel Tank
      *5 Canister Pump Module *6 Canister
      *7 Canister Filter - -
      *a Inspection Area
      (check for disconnection and/or cracks)
      - -

    Result:  NEXT

    NEXT 

    See step  49

  39. REPLACE PURGE VSV 
    1. Replace the purge VSV (Refer to REMOVAL [07/2015 - ] ).

    Result:  NEXT

    NEXT 

    See step  49

  40. REPAIR OR REPLACE HARNESS OR CONNECTOR 

    Result:  NEXT

    NEXT 

    See step  49

  41. REPAIR OR REPLACE EVAP PURGE LINE (INTAKE AIR SURGE TANK ASSEMBLY - PURGE VSV) 

    Result:  NEXT

    NEXT 

    See step  49

  42. INSPECT INTAKE AIR SURGE TANK ASSEMBLY (EVAP PURGE PORT) 
    1. Check that the EVAP purge port of the intake air surge tank assembly is not clogged. If necessary, replace the intake air surge tank assembly (Refer to REMOVAL [07/2015 - ] ).

    Result:  NEXT

    NEXT 

    See step  49

  43. REPAIR OR REPLACE PARTS AND COMPONENTS INDICATED BY OUTPUT DTCS 
    1. Repair the malfunctioning areas indicated by the DTCs that had been confirmed when the vehicle was brought in.

    Result:  NEXT

    NEXT 

    See step  49

  44. REPAIR OR REPLACE EVAP PURGE LINE (PURGE VSV - CANISTER) 

    Result:  NEXT

    NEXT 

    See step  49

  45. REPLACE CANISTER PUMP MODULE 
    1. Replace the canister pump module (Refer to REMOVAL [07/2015 - ] ).
      NOTE:
      • When replacing canister pump module, check the canister pump module interior, canister interior and related pipes for water, fuel and other liquids. If liquids are present, check for disconnections and/or cracks in the following: 1) the pipe from the air inlet port to the canister pump module; 2) the canister filter; and 3) the fuel tank vent hose. If liquids are present in canister interior, replace canister and canister pump module together.
      • Check for filter blockage in the canister. If the charcoal filter inside the canister is clogged, replace canister and canister pump module together.
      • Check for filter blockage in the canister filter. If the canister filter has blockages, replace the canister filter.
      GTY563950Courtesy of © TOYOTA, LICENSE AGREEMENT TMS1002
      TEXT IN ILLUSTRATION

      *1 Fuel Tank Vent Hose *2 Air Inlet Port
      *3 Vent Hose *4 Fuel Tank
      *5 Canister Pump Module *6 Canister
      *7 Canister Filter - -
      *a Inspection Area
      (check for disconnection and/or cracks)
      - -

    Result:  NEXT

    NEXT 

    See step  46

  46. PERFORM EVAP SYSTEM CHECK (AUTOMATIC MODE) 
    NOTE:
    • The Evaporative System Check (Automatic Mode) consists of 6 steps performed automatically by the Techstream. It takes a maximum of approximately 24 minutes.
    • Do not perform the Evaporative System Check when the fuel tank is more than 90% full because the cut-off valve may be closed, making the fuel tank leak check unavailable.
    • Do not run the engine in this step.
    • When the temperature of the fuel is 35°C (95°F) or more, a large amount of vapor forms and any check results become inaccurate. When performing an Evaporative System Check, keep the fuel temperature below 35°C (95°F).
    1. Connect the Techstream to the DLC3.
    2. Turn the engine switch on (IG).
    3. Turn the Techstream on.
    4. Clear the DTCs (Refer to DTC CHECK / CLEAR [07/2015 - ] ).
    5. Enter the following menus: Powertrain / Engine / Utility / Evaporative System Check / Automatic Mode.
    6. After the Evaporative System Check is completed, check for pending DTCs by entering the following menus: Powertrain / Engine / Trouble Codes.
      Result Proceed to
      EVAP system DTCs are output A
      DTC is not output
      (Pending DTC is not output)
      B

    Result:  B

    END 

    Result:  A

    See step  47

  47. REPLACE ECM 
    1. Replace the ECM (Refer to REMOVAL [07/2015 - ] ).

    Result:  NEXT

    NEXT 

    See step  49

  48. REPLACE CANISTER 
    1. Replace the canister (Refer to REMOVAL [07/2015 - ] ).
      NOTE:
      • When replacing the canister, check the canister pump module interior and related pipes for water, fuel and other liquids. If liquids are present, check for disconnections and/or cracks in the following: 1) the pipe from the air inlet port to the canister pump module; 2) the canister filter; and 3) the fuel tank vent hose.
      • Check for filter blockage in the canister filter. If the canister filter has blockages, replace the canister filter.
      GTY563950Courtesy of © TOYOTA, LICENSE AGREEMENT TMS1002
      TEXT IN ILLUSTRATION

      *1 Fuel Tank Vent Hose *2 Air Inlet Port
      *3 Vent Hose *4 Fuel Tank
      *5 Canister Pump Module *6 Canister
      *7 Canister Filter - -
      *a Inspection Area
      (check for disconnection and/or cracks)
      - -

    Result:  NEXT

    NEXT 

    See step  49

  49. PERFORM EVAP SYSTEM CHECK (AUTOMATIC MODE) 
    NOTE:
    • The Evaporative System Check (Automatic Mode) consists of 6 steps performed automatically by the Techstream. It takes a maximum of approximately 24 minutes.
    • Do not perform the Evaporative System Check when the fuel tank is more than 90% full because the cut-off valve may be closed, making the fuel tank leak check unavailable.
    • Do not run the engine in this step.
    • When the temperature of the fuel is 35°C (95°F) or more, a large amount of vapor forms and any check results become inaccurate. When performing an Evaporative System Check, keep the fuel temperature below 35°C (95°F).
    1. Connect the Techstream to the DLC3.
    2. Turn the engine switch on (IG).
    3. Turn the Techstream on.
    4. Clear the DTCs (Refer to DTC CHECK / CLEAR [07/2015 - ] ).
    5. Enter the following menus: Powertrain / Engine / Utility / Evaporative System Check / Automatic Mode.
    6. After the Evaporative System Check is completed, check for pending DTCs by entering the following menus: Powertrain / Engine / Trouble Codes.

      HINT: 

      If no pending DTCs are found, the repair has been successfully completed.

    Result:  NEXT

    NEXT 

    END