LEMON Manuals: Even more car manuals for everyone: 1960-2025
Home >> Lexus >> 2017 >> GX 460 Base >> Repair and Diagnosis >> Engine Performance >> System >> Engine Control System (Service Information) >> Mass Air Flow Meter >> Inspection [08/2015 - ] >> Procedure
April 5, 2026: LEMON Manuals is launched! Read the announcement.

Inspection [08/2015 - ]: Procedure

  1. INSPECT MASS AIR FLOW METER ASSEMBLY 
    1. Check the output voltage.
      TEXT IN ILLUSTRATION

      *a Component without harness connected
      (Mass Air Flow Meter)
      Air
      GTY1095335Courtesy of © TOYOTA, LICENSE AGREEMENT TMS1002
      1. Connect the positive (+) lead to terminal 1 (+B) and the negative (-) lead to terminal 2 (E2).
        NOTE:

        While using the battery during inspection, do not bring the positive and negative tester probes too close to each other as a short circuit may occur.

      2. Using a voltmeter, connect the positive (+) tester probe to terminal 3 (VG) and the negative (-) tester probe to terminal 2 (E2).
      3. Blow air into the mass air flow meter assembly and check that the voltage fluctuates.

        OK

        The voltage changes.

        If the result is not as specified, replace the mass air flow meter assembly.

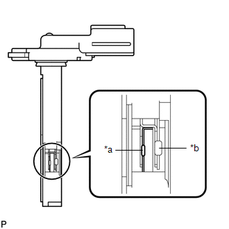
    2. Perform a visual check for any foreign matter on the platinum hot wire (heater) and intake air temperature sensor (thermistor) of the mass air flow meter assembly shown in the illustration.
      GTY1093928Courtesy of © TOYOTA, LICENSE AGREEMENT TMS1002

      OK

      There is no foreign matter.

      TEXT IN ILLUSTRATION

      *a Platinum Hot Wire (Heater)
      *b Intake Air Temperature Sensor (Thermistor)

      If the result is not as specified, replace the mass air flow meter assembly.

    3. Clean the mass air flow meter assembly.
      GTY1091308Courtesy of © TOYOTA, LICENSE AGREEMENT TMS1002
      TEXT IN ILLUSTRATION

      *a Air Blow Gun
      *b 10 mm (0.394 in.)
      *c Airflow Hole
      NOTE:
      • Do not contact the intake mass air flow meter assembly with the nozzle of the air blow gun.
      • Do not insert the nozzle of the air blow gun into the airflow hole.
      1. Using an air blow gun, clean the hole of the mass air flow meter assembly by applying approximately 10 intermittent bursts of air to the airflow hole at a pressure of approximately 392 to 981 kPa (4.0 to 10.0kgf/cm2 , 57 to 142 psi).

        HINT: 

        After performing cleaning, check the intake air temperature sensor (thermistor) resistance.

        GTY1093739Courtesy of © TOYOTA, LICENSE AGREEMENT TMS1002
        TEXT IN ILLUSTRATION

        *a Air Blow Duration
        *b 3 to 6 Seconds
        *c 1 Second
        *d Air Blowing
        *e Air Stopped
    4. Check the intake air temperature sensor (thermistor) resistance.
      TEXT IN ILLUSTRATION

      *a Component without harness connected
      (Mass Air Flow Meter Assembly)
      GTY1097535Courtesy of © TOYOTA, LICENSE AGREEMENT TMS1002
      1. Measure the resistance according to the value(s) in the table below.

        Standard Resistance

        Tester Connection Condition Specified Condition
        4 (THA) - 5 (E2) Always 0.48 to 17.7 kΩ

        If the result is not as specified, replace the mass air flow meter assembly.