LEMON Manuals: Even more car manuals for everyone: 1960-2025
Home >> Lexus >> 2017 >> LS 460 Base, RWD >> Repair and Diagnosis >> External Pages >> Different variant/trim >> Section 5 (Transfer Case - Service Information) >> Transfer Assembly >> Disassembly [09/2015 - ] >> Procedure
April 5, 2026: LEMON Manuals is launched! Read the announcement.

Disassembly [09/2015 - ]: Procedure

WARNING: This page is about a different variant/trim than selected.
  1. REMOVE DYNAMIC DAMPER 
    1. GTY262815Courtesy of © TOYOTA, LICENSE AGREEMENT TMS1002

      Remove the bolt, 2 washers and dynamic damper from the rear transfer case.

  2. REMOVE TRANSFER CASE PLUG 
    1. GTY275962Courtesy of © TOYOTA, LICENSE AGREEMENT TMS1002

      Using a 6 mm hexagon socket wrench, remove the 2 case plugs and 2 O-rings from the front transfer case.

  3. REMOVE FILLER PLUG 
    1. GTY257316Courtesy of © TOYOTA, LICENSE AGREEMENT TMS1002

      Using a 10 mm hexagon socket wrench, remove the filler plug and gasket from the rear transfer case.

  4. REMOVE TRANSFER DRAIN PLUG 
    1. GTY257315Courtesy of © TOYOTA, LICENSE AGREEMENT TMS1002

      Using a 10 mm hexagon socket wrench, remove the drain plug and O-ring from the front transfer case.

  5. REMOVE TRANSFER CASE BREATHER PLUG 
    1. GTY136389Courtesy of © TOYOTA, LICENSE AGREEMENT TMS1002

      Remove the breather plug from the front transfer case.

  6. REMOVE NO. 2 TRANSFER CASE PLUG 
    1. GTY262817Courtesy of © TOYOTA, LICENSE AGREEMENT TMS1002

      Using a 17 mm straight hexagon wrench, remove the case plug and gasket from the rear transfer case.

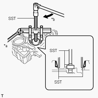
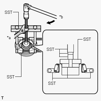
  7. REMOVE OUTPUT SHAFT COMPANION FLANGE SUB-ASSEMBLY 
    1. GTY624478Courtesy of © TOYOTA, LICENSE AGREEMENT TMS1002

      Using SST, hold the companion flange in place.

      • SST: 09213-58014 
      • SST: 09330-00021 

      HINT: 

      Use bolts of size M8 x P1.25 with a length of approximately 55 mm (2.16 in.) or equivalent to secure the companion flange.

    2. GTY677510Courtesy of © TOYOTA, LICENSE AGREEMENT TMS1002

      Remove the companion flange bolt and companion flange from the transfer assembly.

      TEXT IN ILLUSTRATION

      *a Hold
      *b Turn
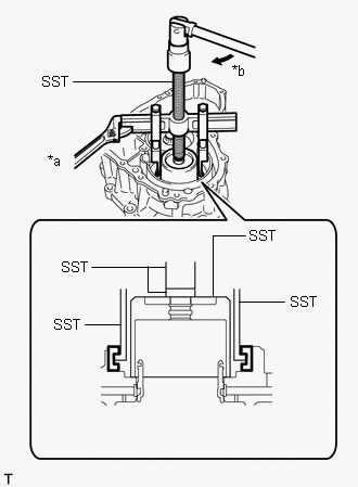
  8. REMOVE DRIVE PINION COMPANION FLANGE SUB-ASSEMBLY 
    1. GTY121126Courtesy of © TOYOTA, LICENSE AGREEMENT TMS1002

      Using SST and a hammer, loosen the staked part of the transfer output shaft nut.

      • SST: 09930-00010 
      NOTE:
      • Completely loosen the staked part of the transfer output shaft nut.
      • Do not damage the threads of the No. 1 differential case.
      • Use SST with the tapered surface facing the No. 1 differential case.
      • Do not grind the end of SST with a grinder or other tool.
    2. GTY273360Courtesy of © TOYOTA, LICENSE AGREEMENT TMS1002

      Using SST, hold the companion flange in place.

      • SST: 09330-00021 
      • SST: 09950-30012 
        • 09955-03040
      TEXT IN ILLUSTRATION

      *a Hold
      *b Turn
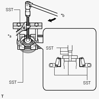
    3. Using a 30 mm socket wrench, remove the transfer output shaft nut.
    4. GTY268734Courtesy of © TOYOTA, LICENSE AGREEMENT TMS1002

      Using SST, remove the companion flange.

      • SST: 09950-30012 
        • 09951-03010
        • 09953-03010
        • 09954-03010
        • 09955-03040
      TEXT IN ILLUSTRATION

      *a Hold
      *b Turn
  9. REMOVE TRANSFER EXTENSION HOUSING OIL SEAL 
    1. GTY135111Courtesy of © TOYOTA, LICENSE AGREEMENT TMS1002

      Using SST, remove the oil seal.

      • SST: 09308-00010 
      NOTE:

      Be careful not to damage the surface of the transfer extension housing that contacts the oil seal.

  10. REMOVE NO. 1 DIFFERENTIAL CASE HOLE SNAP RING 
    1. GTY127859Courtesy of © TOYOTA, LICENSE AGREEMENT TMS1002

      Using needle-nose pliers, remove the snap ring from the extension housing.

  11. REMOVE TRANSFER EXTENSION HOUSING 
    1. GTY262820Courtesy of © TOYOTA, LICENSE AGREEMENT TMS1002

      Remove the 11 bolts and bracket.

    2. GTY127860Courtesy of © TOYOTA, LICENSE AGREEMENT TMS1002

      Using an oil pan seal cutter, remove the extension housing.

      NOTE:

      Be careful not to damage the contact surface of the extension housing or rear transfer case.

  12. REMOVE NO. 1 TRANSFER THRUST BEARING RACE 
    1. GTY287279Courtesy of © TOYOTA, LICENSE AGREEMENT TMS1002

      Using a screwdriver, remove the bearing race from the extension housing.

      TEXT IN ILLUSTRATION

      *1 Protective Tape

      HINT: 

      Tape the screwdriver tip before use.

      NOTE:

      Be careful not to damage the surface which contacts the bearing race.

  13. REMOVE TRANSFER OUTPUT SHAFT CYLINDRICAL ROLLER BEARING 
    1. GTY143330Courtesy of © TOYOTA, LICENSE AGREEMENT TMS1002

      Using SST and a press, remove the bearing (outer race) from the extension housing.

      • SST: 09950-60010 
        • 09951-00460
      • SST: 09950-70010 
        • 09951-07100

      HINT: 

      The bearing (inner race) is removed from the No. 1 differential case sub-assembly.

  14. REMOVE TRANSFER OUTPUT SHAFT WASHER 
    1. GTY262830Courtesy of © TOYOTA, LICENSE AGREEMENT TMS1002

      Remove the 2 shaft washers from the No. 1 differential case.

  15. REMOVE DIFFERENTIAL CASE NEEDLE ROLLER BEARING 
    1. GTY262831Courtesy of © TOYOTA, LICENSE AGREEMENT TMS1002

      Remove the bearing from the No. 1 differential case.

  16. REMOVE NO. 2 TRANSFER THRUST BEARING RACE 
    1. GTY262832Courtesy of © TOYOTA, LICENSE AGREEMENT TMS1002

      Remove the bearing race from the No. 1 differential case.

  17. REMOVE TRANSFER OUTPUT SHAFT SHIM 
    1. GTY257946Courtesy of © TOYOTA, LICENSE AGREEMENT TMS1002

      Remove the shim from the No. 1 differential case.

  18. REMOVE NO. 1 DIFFERENTIAL CASE SUB-ASSEMBLY 
    1. Remove the No. 1 differential case from the rear transfer case.
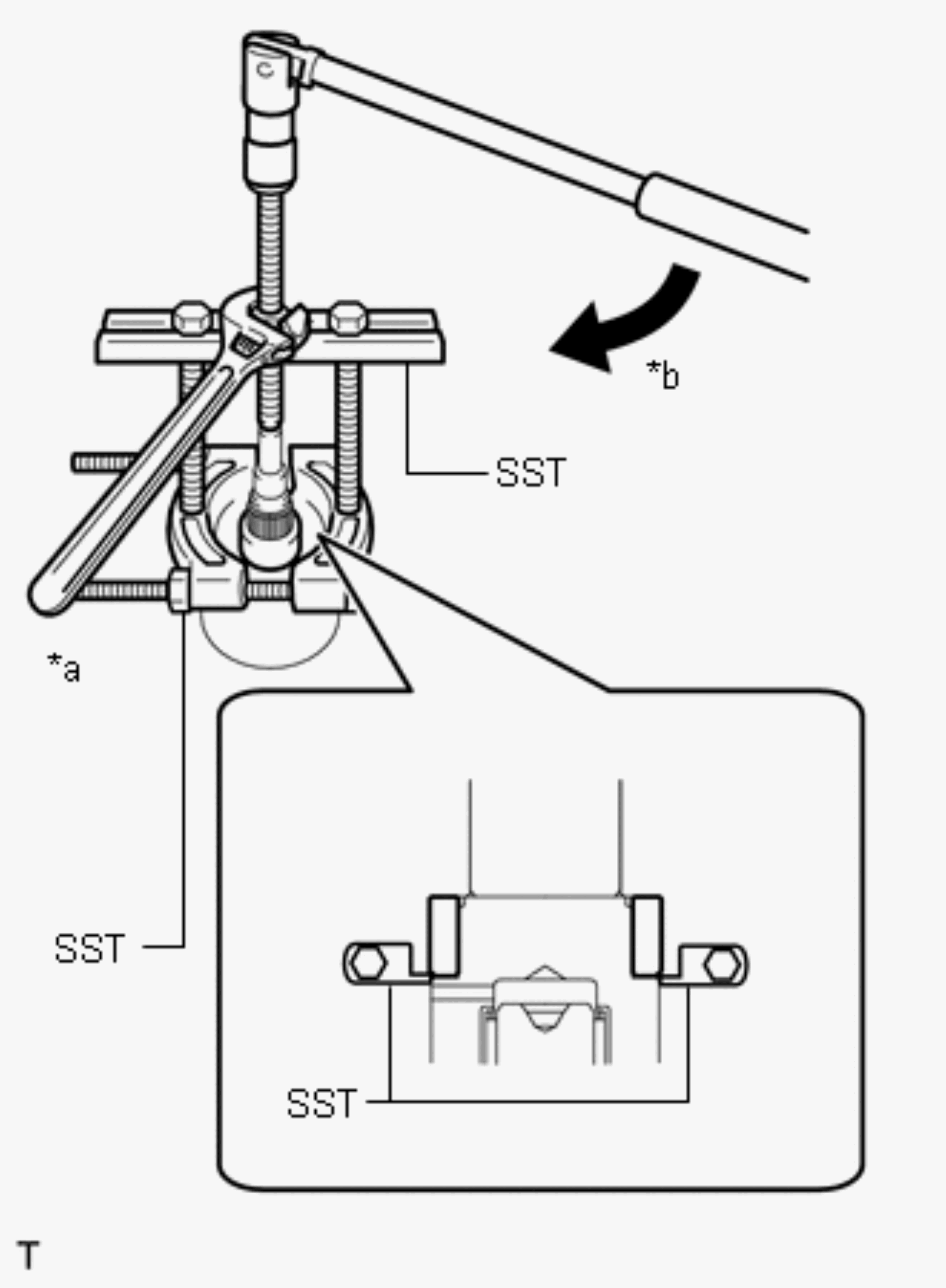
  19. REMOVE TRANSFER OUTPUT SHAFT CYLINDRICAL ROLLER BEARING 
    1. GTY673513Courtesy of © TOYOTA, LICENSE AGREEMENT TMS1002

      Using SST, remove the bearing (inner race) from the No. 1 differential case.

      • SST: 09950-00020 
      • SST: 09950-00030 
      TEXT IN ILLUSTRATION

      *a Hold
      *b Turn
  20. REMOVE BREATHER OIL DEFLECTOR 
    1. GTY283534Courtesy of © TOYOTA, LICENSE AGREEMENT TMS1002

      Remove the 2 bolts and oil deflector.

  21. REMOVE TRANSFER INPUT GEAR STOPPER SHAFT SNAP RING 
    1. GTY262833Courtesy of © TOYOTA, LICENSE AGREEMENT TMS1002

      Using a snap ring expander, remove the snap ring from the input shaft.

  22. REMOVE TRANSFER INPUT GEAR STOPPER 
    1. GTY262834Courtesy of © TOYOTA, LICENSE AGREEMENT TMS1002

      Remove the gear stopper from the input shaft.

  23. REMOVE REAR TRANSFER CASE 
    1. GTY262755Courtesy of © TOYOTA, LICENSE AGREEMENT TMS1002

      Remove the 7 bolts and rear transfer case.

  24. REMOVE TRANSFER IDLER GEAR ASSEMBLY 
    1. GTY262757Courtesy of © TOYOTA, LICENSE AGREEMENT TMS1002

      Remove the idler gear from the front transfer case.

  25. REMOVE TRANSFER OIL PUMP DRIVE SHAFT 
    1. GTY283515Courtesy of © TOYOTA, LICENSE AGREEMENT TMS1002

      Remove the oil pump drive shaft from the front transfer case.

  26. REMOVE TRANSFER COUNTER GEAR ASSEMBLY 
    1. GTY283443Courtesy of © TOYOTA, LICENSE AGREEMENT TMS1002

      Remove the counter gear from the front transfer case.

  27. REMOVE TRANSFER FRONT DRIVE GEAR ASSEMBLY 
    1. GTY262444Courtesy of © TOYOTA, LICENSE AGREEMENT TMS1002

      Remove the drive gear from the front transfer case.

  28. REMOVE TRANSFER FRONT DRIVE GEAR PIN 
    1. GTY262442Courtesy of © TOYOTA, LICENSE AGREEMENT TMS1002

      Remove the drive gear pin from the front transfer case.

  29. REMOVE TRANSFER INPUT SHAFT 
    1. GTY283480Courtesy of © TOYOTA, LICENSE AGREEMENT TMS1002

      Remove the input shaft from the drive gear.

  30. REMOVE TRANSFER OIL SEAL RING 
    1. GTY283482Courtesy of © TOYOTA, LICENSE AGREEMENT TMS1002

      Remove the oil seal ring from the input shaft.

  31. REMOVE DRIVE PINION COMPANION FLANGE OIL SEAL 
    1. GTY661986Courtesy of © TOYOTA, LICENSE AGREEMENT TMS1002

      Using a screwdriver and hammer, tap out the oil seal from the companion flange.

      TEXT IN ILLUSTRATION

      *1 Protective Tape

      HINT: 

      Tape the screwdriver tip before use.

  32. REMOVE TRANSFER IDLER GEAR BEARING 
    1. GTY671894Courtesy of © TOYOTA, LICENSE AGREEMENT TMS1002

      for Front Transfer Case Side:

      Using SST, remove the idler gear bearing (inner race) from the idler gear.

      • SST: 09950-40011 
        • 09951-04020
        • 09952-04010
        • 09953-04030
        • 09954-04010
        • 09955-04021
        • 09957-04010
        • 09958-04011
      • SST: 09950-60010 
        • 09951-00420
        • 09951-00540
        • 09952-06010
      TEXT IN ILLUSTRATION

      *a Hold
      *b Turn
    2. GTY669890Courtesy of © TOYOTA, LICENSE AGREEMENT TMS1002

      for Rear Transfer Case Side:

      Using SST, remove the idler gear bearing (inner race) from the idler gear.

      • SST: 09950-40011 
        • 09951-04020
        • 09952-04010
        • 09953-04030
        • 09954-04010
        • 09955-04021
        • 09957-04010
        • 09958-04011
      • SST: 09950-60010 
        • 09951-00440
        • 09951-00540
        • 09952-06010
      TEXT IN ILLUSTRATION

      *a Hold
      *b Turn
  33. REMOVE TRANSFER COUNTER GEAR BEARING 
    1. GTY627429Courtesy of © TOYOTA, LICENSE AGREEMENT TMS1002

      for Front Transfer Case Side:

      Using SST, remove the counter gear bearing (inner race) from the counter gear.

      • SST: 09950-00020 
      • SST: 09950-00030 
      • SST: 09950-40011 
        • 09957-04010
      • SST: 09950-60010 
        • 09951-00280
        • 09951-00440
        • 09952-06010
      TEXT IN ILLUSTRATION

      *a Hold
      *b Turn
    2. GTY681381Courtesy of © TOYOTA, LICENSE AGREEMENT TMS1002

      for Rear Transfer Case Side:

      Using SST, remove the counter gear bearing (inner race) from the counter gear.

      • SST: 09950-00020 
      • SST: 09950-00030 
      • SST: 09950-40011 
        • 09957-04010
      • SST: 09950-60010 
        • 09951-00360
        • 09951-00500
        • 09952-06010
      TEXT IN ILLUSTRATION

      *a Hold
      *b Turn
  34. REMOVE TRANSFER OIL SEPARATOR 
    1. GTY265404Courtesy of © TOYOTA, LICENSE AGREEMENT TMS1002

      Remove the 3 bolts and oil separator from the front transfer case.

  35. REMOVE NO. 1 TRANSFER OIL STRAINER 
    1. GTY265405Courtesy of © TOYOTA, LICENSE AGREEMENT TMS1002

      Remove the oil strainer from the front transfer case.

  36. REMOVE TRANSFER OIL COOLER RELIEF VALVE 
    1. GTY647124Courtesy of © TOYOTA, LICENSE AGREEMENT TMS1002

      Remove the bolt, relief valve plate and relief valve compression spring from the front transfer case.

      NOTE:

      Be careful to prevent the relief valve compression spring from jumping out.

    2. GTY129858Courtesy of © TOYOTA, LICENSE AGREEMENT TMS1002

      Using a magnet hand, remove the relief valve from the front transfer case.

  37. REMOVE TRANSFER OUTPUT SHAFT COMPANION FLANGE OIL SEAL 
    1. GTY255640Courtesy of © TOYOTA, LICENSE AGREEMENT TMS1002

      Using a screwdriver and hammer, tap out the oil seal from the front transfer case.

      TEXT IN ILLUSTRATION

      *1 Protective Tape
      NOTE:

      Be careful not to damage the surface which contacts the oil seal.

  38. REMOVE TRANSFER IDLER GEAR BEARING 
    1. GTY663952Courtesy of © TOYOTA, LICENSE AGREEMENT TMS1002

      for Front Transfer Case Side:

      Using SST, remove the idler gear bearing (outer race) from the front transfer case.

      • SST: 09950-40011 
        • 09951-04020
        • 09952-04010
        • 09953-04030
        • 09954-04010
        • 09955-04071
        • 09957-04010
      • SST: 09950-60010 
        • 09951-00290
      TEXT IN ILLUSTRATION

      *a Hold
      *b Turn
    2. GTY667659Courtesy of © TOYOTA, LICENSE AGREEMENT TMS1002

      for Rear Transfer Case Side:

      Using SST, remove the idler gear bearing (outer race) from the rear transfer case.

      • SST: 09950-40011 
        • 09951-04020
        • 09952-04010
        • 09953-04030
        • 09954-04010
        • 09955-04071
        • 09957-04010
      • SST: 09950-60010 
        • 09951-00380
      TEXT IN ILLUSTRATION

      *a Hold
      *b Turn
    3. Remove the idler gear shim from the rear transfer case.
  39. REMOVE TRANSFER OIL PUMP PLATE SUB-ASSEMBLY 
    1. Using an air gun, gradually apply air and remove the transfer oil pump plate from the front transfer case.
    2. Remove the transfer oil pump plate pin from the transfer oil pump plate.
    3. Remove the drive rotor and driven rotor from the front transfer case.
  40. REMOVE TRANSFER COUNTER GEAR BEARING 
    1. GTY276364Courtesy of © TOYOTA, LICENSE AGREEMENT TMS1002

      for Front Transfer Case Side:

      Using SST, remove the bearing (outer race) from the front transfer case.

      • SST: 09612-65014 
        • 09612-01020
      TEXT IN ILLUSTRATION

      *a Hold
      *b Turn
    2. GTY274997Courtesy of © TOYOTA, LICENSE AGREEMENT TMS1002

      for Rear Transfer Case Side:

      Using SST, remove the bearing (outer race) from the rear transfer case.

      • SST: 09950-40011 
        • 09951-04020
        • 09952-04010
        • 09953-04030
        • 09954-04010
        • 09955-04071
        • 09957-04010
      • SST: 09950-60010 
        • 09951-00420
      TEXT IN ILLUSTRATION

      *a Hold
      *b Turn
    3. Remove the counter gear shim from the rear transfer case.
  41. REMOVE FORWARD CLUTCH DRAM OIL SEAL RING 
    1. GTY265408Courtesy of © TOYOTA, LICENSE AGREEMENT TMS1002

      Remove the oil seal ring from the sleeve.

  42. REMOVE TRANSFER FRONT CASE OIL SEAL 
    1. GTY259009Courtesy of © TOYOTA, LICENSE AGREEMENT TMS1002

      Using a screwdriver, pry out the oil seal from the front transfer case.

      TEXT IN ILLUSTRATION

      *1 Protective Tape
      NOTE:

      Be careful not to damage the surface which contacts the oil seal.

      HINT: 

      Tape the screwdriver tip before use.

  43. REMOVE TRANSFER FRONT DRIVE GEAR CYLINDRICAL ROLLER BEARING (for Front Transfer Case Side) 
    1. GTY637784Courtesy of © TOYOTA, LICENSE AGREEMENT TMS1002

      Using a screwdriver, remove the bearing rollers and roller cage.

      TEXT IN ILLUSTRATION

      *1 Roller
      *2 Roller Cage
    2. GTY262622Courtesy of © TOYOTA, LICENSE AGREEMENT TMS1002

      Remove the drive gear bearing and race from the front transfer case.

    3. GTY676916Courtesy of © TOYOTA, LICENSE AGREEMENT TMS1002

      Using SST, remove the bearing from the front transfer case.

      • SST: 09649-17010 
      • SST: 09950-40011 
        • 09951-04010
        • 09952-04010
        • 09953-04020
        • 09954-04010
        • 09955-04041
        • 09957-04010
      TEXT IN ILLUSTRATION

      *a Hold
      *b Turn
  44. REMOVE TRANSFER OUTPUT SHAFT CYLINDRICAL ROLLER BEARING (for Rear Transfer Case Side) 
    1. GTY265409Courtesy of © TOYOTA, LICENSE AGREEMENT TMS1002

      Using needle-nose pliers, remove the snap ring from the rear transfer case.

    2. GTY661061Courtesy of © TOYOTA, LICENSE AGREEMENT TMS1002

      Using SST and a press, remove the bearing from the rear transfer case.

      • SST: 09950-60010 
        • 09951-00540
        • 09951-00650
        • 09952-06010
      • SST: 09950-70010 
        • 09951-07100
      NOTE:

      Be careful of the straight pins when placing the case on the press.