LEMON Manuals: Even more car manuals for everyone: 1960-2025
Home >> Lexus >> 2017 >> RC F >> Repair and Diagnosis >> Brakes >> Traction Control >> Vehicle Stability Control System - Diagnostic Codes (3 Of 5) >> Vehicle Stability Control System >> DTC C1415: Rear Speed Sensor RH Circuit Output; DTC C1416: Rear Speed Sensor LH Circuit Output [11/2017 - 03/2019] >> Procedure
April 5, 2026: LEMON Manuals is launched! Read the announcement.

DTC C1415: Rear Speed Sensor RH Circuit Output; DTC C1416: Rear Speed Sensor LH Circuit Output [11/2017 - 03/2019]: Procedure

  1. CHECK HARNESS AND CONNECTOR (MOMENTARY INTERRUPTION) 
    1. Using the Techstream, check for any momentary interruption in the wire harness and connector corresponding to a DTC.

      Refer to CHECK FOR INTERMITTENT PROBLEMS [11/2017 - 03/2019]

      Chassis > ABS/VSC/TRAC > Data List 

      Tester Display Measurement Item Range Normal Condition Diagnostic Note
      RR Speed Open Rear speed sensor RH open detection Error or Normal Error: Momentary interruption
      Normal: Normal
      -
      RL Speed Open Rear speed sensor LH open detection Error or Normal Error: Momentary interruption
      Normal: Normal
      -

      Chassis > ABS/VSC/TRAC > Data List 

      Tester Display
      RR Speed Open
      RL Speed Open

      OK

      Normal (There are no momentary interruptions.)

      HINT: 

      Perform the above inspection before removing the sensor and connector.

      Result

      Proceed to
      OK
      NG

    Result: 

    NG 

    See step  4

    Result: 

    OK 

    See step  2

  2. READ VALUE USING TECHSTREAM (REAR SPEED SENSOR) 
    1. Select the Data List using the Techstream.

      Refer to DATA LIST / ACTIVE TEST [11/2017 - 03/2019]

      Chassis > ABS/VSC/TRAC > Data List 

      Tester Display Measurement Item Range Normal Condition Diagnostic Note
      RR Wheel Speed Rear wheel speed sensor RH reading Min.: 0 km/h (0 mph), Max.: 326.4 km/h (203 mph) Vehicle stopped: 0 km/h (0 mph) When driving at constant speed: No large fluctuations
      RL Wheel Speed Rear wheel speed sensor LH reading Min.: 0 km/h (0 mph), Max.: 326.4 km/h (203 mph) Vehicle stopped: 0 km/h (0 mph) When driving at constant speed: No large fluctuations

      Chassis > ABS/VSC/TRAC > Data List 

      Tester Display
      RR Wheel Speed
      RL Wheel Speed
    2. Check the speed value output from the speed sensor displayed on the Techstream.

      HINT: 

      Factors that affect the indicated vehicle speed include tire size, tire inflation, and tire wear. The speed indicated on the speedometer has an allowable margin of error. This can be tested using a speedometer tester (calibrated chassis dynamometer). For details about testing and the margin of error, see the reference chart.

      Refer to ON-VEHICLE INSPECTION [11/2017 - 03/2019]

      OK

      The speed value output from the speed sensor displayed on the Techstream is similar to the speed indicated on the speedometer.

      Result

      Proceed to
      OK
      NG

    Result: 

    NG 

    See step  4

    Result: 

    OK 

    See step  3

  3. RECONFIRM DTC 
    1. Turn the engine switch off.
    2. Clear the DTCs.

      Refer to DTC CHECK / CLEAR [11/2017 - 03/2019]

      Chassis > ABS/VSC/TRAC > Clear DTCs 

    3. Turn the engine switch off.
    4. Start the engine.
    5. Perform a road test.
    6. Check if the same DTC is output.

      Refer to DTC CHECK / CLEAR [11/2017 - 03/2019]

      Chassis > ABS/VSC/TRAC > Trouble Codes 

      Result

      Result Proceed to
      DTCs C1415 and C1416 are not output. A
      DTCs C1415 and/or C1416 are output. B

      HINT: 

      If troubleshooting has been carried out according to Problem Symptoms Table, refer back to the table and proceed to the next step before replacing parts.

      Refer to PROBLEM SYMPTOMS TABLE [11/2017 - 03/2019]

    Result: 

    USE SIMULATION METHOD TO CHECK. Refer to  HOW TO PROCEED WITH TROUBLESHOOTING [11/2017 - 03/2019] 

    Result: 

    REPLACE BRAKE ACTUATOR ASSEMBLY. Refer to  REMOVAL [11/2017 - 01/2023] 

  4. CHECK REAR SPEED SENSOR INSTALLATION 
    1. Turn the engine switch off.
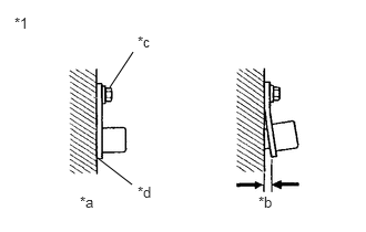
      GTY453396Courtesy of © TOYOTA, LICENSE AGREEMENT TMS1002
      *1 Rear Speed Sensor
      *a Correct
      *b Incorrect
      *c 8.5 Nm
      *d No clearance
    2. Check the speed sensor installation.

      OK

      There is no clearance between the sensor and rear axle carrier.

      The installation bolt is tightened properly.

      Torque 

      8.5 N*m (87 kgf*cm, 75 in.*lbf)

      Result

      Proceed to
      OK
      NG

    Result: 

    NG 

    INSTALL REAR SPEED SENSOR CORRECTLY. Refer to  INSTALLATION [09/2014 - 01/2023] 

    Result: 

    OK 

    See step  5

  5. CHECK REAR SPEED SENSOR AND SENSOR ROTOR 
    1. Remove the rear speed sensor and the component with the sensor rotor.

      for Speed Sensor: Refer to REMOVAL [09/2014 - 01/2023]

      for Sensor Rotor: Refer to REMOVAL [10/2015 - 03/2019]

    2. Check the speed sensor tip and speed sensor rotor.

      OK

      No scratches, oil, or foreign matter on the sensor tip and rotor.

      NOTE:
      • If no damage to the speed sensor tip is found during this inspection, do not replace the speed sensor.

        If there are any ferrous metal filings stuck to the rotor, this will result in a malfunction, so confirm that the rotor is not contaminated with foreign matter before replacing the sensor.

      • Check the speed sensor signal after cleaning or replacement.

        Refer to TEST MODE PROCEDURE [11/2017 - 03/2019]

      Result

      Proceed to
      OK
      NG

    Result: 

    NG 

    CLEAN OR REPLACE REAR SPEED SENSOR OR COMPONENT WITH SENSOR ROTOR 

    Result: 

    OK 

    See step  6

  6. CHECK HARNESS AND CONNECTOR (BRAKE ACTUATOR ASSEMBLY - REAR SPEED SENSOR) 
    1. Reinstall the rear speed sensor and the component with the sensor rotor.

      for Speed Sensor: Refer to INSTALLATION [09/2014 - 01/2023]

      for Sensor Rotor: Refer to INSTALLATION [10/2015 - 03/2019]

    2. Make sure that there is no looseness at the locking part and the connecting part of the connector.
    3. Disconnect the A86 skid control ECU (brake actuator assembly) connector.
    4. Disconnect the T16 or U24 rear speed sensor connector.
    5. Measure the resistance according to the value(s) in the table below.

      Standard Resistance

      FOR RH

      Tester Connection Condition Specified Condition
      A86-16 (RR+) - T16-1 (RR+) Always Below 1 Ω
      A86-16 (RR+) or T16-1 (RR+) - Body ground Always 10 kΩ or higher
      A86-15 (RR-) - T16-2 (RR-) Always Below 1 Ω
      A86-15 (RR-) or T16-2 (RR-) - Body ground Always 10 kΩ or higher
      FOR LH

      Tester Connection Condition Specified Condition
      A86-29 (RL+) - U24-1 (RL+) Always Below 1 Ω
      A86-29 (RL+) or U24-1 (RL+) - Body ground Always 10 kΩ or higher
      A86-28 (RL-) - U24-2 (RL-) Always Below 1 Ω
      A86-28 (RL-) or U24-2 (RL-) - Body ground Always 10 kΩ or higher

      Result

      Proceed to
      OK
      NG

    Result: 

    NG 

    REPAIR OR REPLACE HARNESS OR CONNECTOR 

    Result: 

    OK 

    See step  7

  7. INSPECT BRAKE ACTUATOR ASSEMBLY (SENSOR POWER SUPPLY OUTPUT) 
    1. Reconnect the A86 skid control ECU (brake actuator assembly) connector.
      GTY835995Courtesy of © TOYOTA, LICENSE AGREEMENT TMS1002
      *A for RH
      *B for LH
      *a Front view of wire harness connector
      (to Rear Speed Sensor)
    2. Turn the engine switch on (IG).
    3. Measure the voltage according to the value(s) in the table below.

      Standard Voltage

      FOR RH

      Tester Connection Condition Specified Condition
      T16-1 (RR+) - Body ground Engine switch on (IG) 8 to 14 V
      FOR LH

      Tester Connection Condition Specified Condition
      U24-1 (RL+) - Body ground Engine switch on (IG) 8 to 14 V
      NOTE:

      Check the speed sensor signal after replacement.

      Refer to TEST MODE PROCEDURE [11/2017 - 03/2019]

      HINT: 

      If troubleshooting has been carried out according to Problem Symptoms Table, refer back to the table and proceed to the next step before replacing parts.

      Refer to PROBLEM SYMPTOMS TABLE [11/2017 - 03/2019]

      Result

      Proceed to
      OK
      NG

    Result: 

    OK 

    REPLACE REAR SPEED SENSOR. Refer to  REMOVAL [09/2014 - 01/2023] 

    Result: 

    NG 

    REPLACE BRAKE ACTUATOR ASSEMBLY. Refer to  REMOVAL [11/2017 - 01/2023]