LEMON Manuals: Even more car manuals for everyone: 1960-2025
Home >> Lexus >> 2017 >> RX 350 Base, AWD >> Repair and Diagnosis >> Electrical >> Charging Systems >> Battery / Charging System - Service Information >> Generator >> Reassembly [09/2015 - 12/2017] >> Procedure
April 5, 2026: LEMON Manuals is launched! Read the announcement.

Reassembly [09/2015 - 12/2017]: Procedure

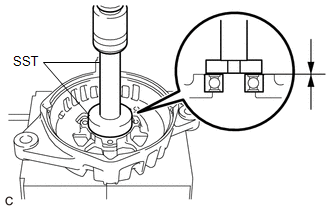
  1. INSTALL GENERATOR DRIVE END FRAME BEARING 
    1. Using SST and a press, install a new generator drive end frame bearing.
      • SST: 09950-60010 
        1. 09951-00470
      • SST: 09950-70010 
        1. 09951-07100
      GTY948103Courtesy of © TOYOTA, LICENSE AGREEMENT TMS1002
    2. Fit the tabs of the retainer plate into the cutouts of the generator drive end frame to install the retainer plate.
      GTY947800Courtesy of © TOYOTA, LICENSE AGREEMENT TMS1002
      *a Tab
      *b Cutout
    3. Using a T20 "TORX" socket wrench, install the 4 screws.

      Torque: 3.5 N.m (36 kgf/cm, 31 in.lbf) 

  2. INSTALL GENERATOR ROTOR ASSEMBLY 
    1. Place the generator drive end frame on the generator pulley with clutch.
    2. Install the generator rotor assembly to the generator drive end frame.
      GTY948189Courtesy of © TOYOTA, LICENSE AGREEMENT TMS1002
      *1 Generator Rotor Assembly
      *2 Generator Drive End Frame
    3. Install the generator coil assembly with the 4 bolts.

      Torque: 5.0 N.m (51 kgf/cm, 44 in.lbf) 

      GTY948316Courtesy of © TOYOTA, LICENSE AGREEMENT TMS1002
  3. INSTALL GENERATOR REGULATOR ASSEMBLY 
    1. While pushing the 2 brushes into the generator regulator assembly, insert a 1.0 mm (0.0394 in.) pin into the generator regulator assembly as shown in the illustration.
      GTY960484Courtesy of © TOYOTA, LICENSE AGREEMENT TMS1002
      *a Pin (1.0 mm)
    2. Push down the generator regulator assembly cover and secure the 2 brushes as shown in the illustration.
      GTY960496Courtesy of © TOYOTA, LICENSE AGREEMENT TMS1002
      *a Pin (1.0 mm)
      Brush
      Generator Regulator Assembly Cover
      Push down
      Pull out
    3. Pull out the pin from the generator regulator assembly.
    4. Install the generator regulator assembly to the generator coil assembly with the 2 bolts and stud bolt.

      Torque: 4.3 N.m (44 kgf/cm, 38 in.lbf) 

      GTY947905Courtesy of © TOYOTA, LICENSE AGREEMENT TMS1002
      *a Bolt
      *b Stud Bolt
    5. Push in the generator regulator assembly cover as shown in the illustration.
      GTY947953Courtesy of © TOYOTA, LICENSE AGREEMENT TMS1002
      Push in
  4. INSTALL GENERATOR REAR END COVER 
    1. Install the generator rear end cover to the generator assembly with the 2 nuts.

      Torque: 3.3 N.m (34 kgf/cm, 29 in.lbf) 

      GTY948056Courtesy of © TOYOTA, LICENSE AGREEMENT TMS1002
  5. INSTALL GENERATOR PULLEY WITH CLUTCH 
    1. Secure the generator assembly in a vise between aluminum plates.
    2. Temporarily install the generator pulley with clutch to the rotor shaft.
    3. Fit SST to the generator pulley with clutch.
      GTY947718Courtesy of © TOYOTA, LICENSE AGREEMENT TMS1002
      *1 Generator Pulley with Clutch
      • SST: 09820-30010 
    4. Fit a T50 "TORX" socket wrench into the rotor shaft end.
      GTY948313Courtesy of © TOYOTA, LICENSE AGREEMENT TMS1002
      *a Rotor Shaft
      *b T50 "TORX" Socket Wrench
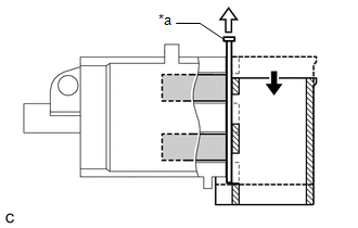
    5. Tighten the generator pulley with clutch by turning SST as shown in the illustration.

      Specified tightening torque 

      Torque: 78.5 N.m (800 kgf/cm, 58 ft.lbf) 

      NOTE:
      • Check that the generator assembly is secured in the vise tightly.
      • Hold the T50 "TORX" socket wrench tightly during the operation.

      HINT: 

      • Calculate the torque wrench reading when changing the fulcrum length of the torque wrench.

        Refer to PRECAUTION [09/2015 - 12/2017]

      • When using a 17 mm union nut wrench (fulcrum length of 30 mm (1.18 in.)) + torque wrench (fulcrum length of 400 mm (1.312 ft.)): 73 N.m (744 kgf/cm, 54 ft.lbf)
      GTY947935Courtesy of © TOYOTA, LICENSE AGREEMENT TMS1002
      *a Torque Wrench Fulcrum Length
      *b T50 "TORX" Socket Wrench
      *c Turn
      *d Hold
    6. Remove SST and the T50 "TORX" socket wrench from the generator pulley with clutch.
    7. Check that the generator pulley with clutch rotates smoothly.
    8. Remove the generator assembly from the vise.
  6. INSTALL GENERATOR PULLEY CAP 
    1. Install a new generator pulley cap to the generator pulley with clutch.