LEMON Manuals: Even more car manuals for everyone: 1960-2025
Home >> Lexus >> 2018 >> LC 500 >> Repair and Diagnosis >> External Pages >> Different car >> Section 142 (LEXUS ENFORM System - Diagnostics - Introduction) >> LEXUS ENFORM System >> System Diagram [09/2020 - ] >> System Diagram [09/2020 - ]
April 5, 2026: LEMON Manuals is launched! Read the announcement.

System Diagram [09/2020 - ]

WARNING: This page does not describe the selected car, but rather 27 other vehicles, including the 2024 Lexus IS 500, 2024 Lexus IS 350, 2024 Lexus IS 300, 2023 Lexus IS 500, and 2023 Lexus IS 350. However, it is still accessible from the selected car via links, so may be relevant.

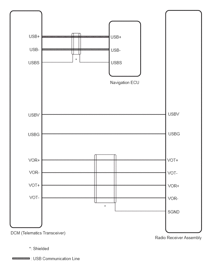
w/ Navigation System 

Fig 1: Lexus Enform System Diagram (w/ Navigation System)
GTY778405Courtesy of © TOYOTA, LICENSE AGREEMENT TMS1002

w/o Navigation System 

Fig 2: Lexus Enform System Diagram (W/O Navigation System) [10/2017 - 09/2020]
GTY960239Courtesy of © TOYOTA, LICENSE AGREEMENT TMS1002