LEMON Manuals: Even more car manuals for everyone: 1960-2025
Home >> Lexus >> 2019 >> GS 350 Base, AWD >> Repair and Diagnosis >> Transmission >> Transfer Case >> Transfer Case - Service Information >> Transfer Assembly >> Reassembly [09/2014 - ] >> Procedure
April 5, 2026: LEMON Manuals is launched! Read the announcement.

Reassembly [09/2014 - ]: Procedure

  1. INSTALL TRANSFER CONTROL SOLENOID ASSEMBLY 
    1. Install the transfer control solenoid assembly and solenoid lock plate to the transfer control valve body assembly with the bolt.

      Torque: 6.4 N*m (65 kgf*cm, 57 in.*lbf) 

      GTY668938Courtesy of © TOYOTA, LICENSE AGREEMENT TMS1002
      TEXT IN ILLUSTRATION

      *1 Transfer Control Solenoid Assembly
      *2 Solenoid Lock Plate
      *a Cutout

      HINT: 

      Install the solenoid lock plate into the cutout on the transfer control solenoid assembly.

  2. INSTALL TRANSFER DRIVE SPROCKET BEARING 
    1. Using SST and a press, install a new transfer drive sprocket bearing to the transfer drive sprocket sub-assembly.
      • SST: 09316-20011 
      • SST: 09950-60010 
        1. 09951-00640
      • SST: 09950-70010 
        1. 09951-07100
      GTY624012Courtesy of © TOYOTA, LICENSE AGREEMENT TMS1002
      TEXT IN ILLUSTRATION

      *1 Transfer Drive Sprocket Bearing
    2. Using SST and a press, install a new transfer drive sprocket bearing to the transfer drive sprocket sub-assembly.
      • SST: 09316-60011 
        1. 09316-00011
      GTY631657Courtesy of © TOYOTA, LICENSE AGREEMENT TMS1002
      TEXT IN ILLUSTRATION

      *1 Transfer Drive Sprocket Bearing
      *a Shield Facing Upward
      NOTE:

      Install the transfer drive sprocket bearing with the shield facing upward.

  3. INSTALL TRANSFER DRIVEN SPROCKET BEARING 
    1. Using SST and a press, install a new transfer driven sprocket bearing to the transfer front drive clutch sleeve sub-assembly.
      • SST: 09316-20011 
      • SST: 09950-60010 
        1. 09951-00640
      • SST: 09950-70010 
        1. 09951-07100
      GTY636790Courtesy of © TOYOTA, LICENSE AGREEMENT TMS1002
      TEXT IN ILLUSTRATION

      *1 Transfer Driven Sprocket Bearing
    2. Using SST and a press, install a new transfer driven sprocket bearing to the transfer front drive clutch sleeve sub-assembly.
      • SST: 09316-60011 
        1. 09316-00011
        2. 09316-00041
      GTY645517Courtesy of © TOYOTA, LICENSE AGREEMENT TMS1002
      TEXT IN ILLUSTRATION

      *1 Transfer Driven Sprocket Bearing
  4. INSTALL TRANSFER CENTER SUPPORT SEAL RING 
    1. Coat the 2 transfer center support seal rings with ATF.

      ATF

      Toyota Genuine ATF WS

      GTY106927Courtesy of © TOYOTA, LICENSE AGREEMENT TMS1002
    2. Compress the 2 transfer center support seal rings as shown in the illustration and install them into the grooves on the transfer center support assembly.
      NOTE:
      • Do not expand the ring ends excessively.
      • If any ring is damaged or deformed, replace it with a new one.
  5. INSTALL TRANSFER CENTER SUPPORT ASSEMBLY 
    1. Install the transfer center support assembly to the transfer rear chain case assembly with the 5 bolts.
      GTY470809Courtesy of © TOYOTA, LICENSE AGREEMENT TMS1002

      Torque: 26 N*m (260 kgf*cm, 19 ft.*lbf) 

    2. Coat 2 new O-rings with ATF.

      ATF

      Toyota Genuine ATF WS

    3. Install the 2 O-rings to the screws.
    4. Install the 2 screws to the transfer rear chain case assembly.

      Torque: 7.4 N*m (75 kgf*cm, 65 in.*lbf) 

  6. INSTALL TRANSFER DIRECT CLUTCH PISTON O-RING 
    1. Coat 2 new transfer direct clutch piston O-rings with ATF.

      ATF

      Toyota Genuine ATF WS

      GTY620213Courtesy of © TOYOTA, LICENSE AGREEMENT TMS1002
      TEXT IN ILLUSTRATION

      *1 Transfer Direct Clutch Piston O-ring
    2. Install the 2 transfer direct clutch piston O-rings to the center differential clutch piston.
      O-RING SIZE:

      Installation position Inner diameter
      mm (in.)
      Thickness
      mm (in.)
      Inner 56.45 to 57.45
      (2.223 to 2.261)
      2.54 to 2.70
      (0.100 to 0.106)
      Outer 116.20 to 117.80
      (4.575 to 4.637)
      3.0 to 3.2
      (0.119 to 0.125)
  7. INSTALL CENTER DIFFERENTIAL CLUTCH PISTON 
    1. Install the center differential clutch piston to the transfer direct clutch drum sub-assembly.
      GTY102977Courtesy of © TOYOTA, LICENSE AGREEMENT TMS1002
      NOTE:

      Do not damage the transfer direct clutch piston O-ring.

  8. INSTALL TRANSFER DIRECT CLUTCH RETURN SPRING ASSEMBLY 
    1. Install the transfer direct clutch return spring assembly to the transfer direct clutch drum sub-assembly.
      GTY463420Courtesy of © TOYOTA, LICENSE AGREEMENT TMS1002
  9. INSTALL CENTER DIFFERENTIAL CLUTCH PRESSURE BALANCER 
    1. Coat the rubber on the center differential clutch pressure balancer with ATF.

      ATF

      Toyota Genuine ATF WS

      GTY618573Courtesy of © TOYOTA, LICENSE AGREEMENT TMS1002
      TEXT IN ILLUSTRATION

      *a Rubber
    2. Install the center differential clutch pressure balancer to the transfer direct clutch drum sub-assembly.
    3. Place SST on the center differential clutch pressure balancer, and compress the transfer direct clutch return spring assembly with a press.
      • SST: 09350-30020 
        1. 09350-07040
      GTY654292Courtesy of © TOYOTA, LICENSE AGREEMENT TMS1002
      TEXT IN ILLUSTRATION

      *1 Transfer Direct Clutch Return Spring Snap Ring
    4. Using SST, install the transfer direct clutch return spring snap ring.
      • SST: 09350-30020 
        1. 09350-07040
        2. 09350-07070
  10. INSTALL CENTER DIFFERENTIAL CLUTCH DISC SET 
    1. Install the 2 center differential clutch disc flanges and center differential clutch disc set to the transfer direct clutch drum sub-assembly.
      GTY667272Courtesy of © TOYOTA, LICENSE AGREEMENT TMS1002
      TEXT IN ILLUSTRATION

      *1 Center Differential Clutch Disc Flange (No. 1)
      *2 Center Differential Clutch Disc Set (Discs)
      *3 Center Differential Clutch Disc Set (Plates)
      *4 Center Differential Clutch Disc Flange (No. 2)

      Install in the following order

      *1 - *2 - *3 - *2 - *3 - *2 - *3 - *2 -*3 - *2 - *4

      NOTE:

      Before assembling new discs, soak them in ATF for at least 15 minutes.

      ATF

      Toyota Genuine ATF WS

    2. Using a screwdriver with its tip taped, install the transfer direct clutch flange snap ring to the transfer direct clutch drum sub-assembly.
      GTY657144Courtesy of © TOYOTA, LICENSE AGREEMENT TMS1002
      TEXT IN ILLUSTRATION

      *1 Protective Tape
    3. Install the transfer direct clutch drum sub-assembly to the transfer center support assembly.
      GTY651229Courtesy of © TOYOTA, LICENSE AGREEMENT TMS1002
      TEXT IN ILLUSTRATION

      *1 Transfer Direct Clutch Drum Sub-assembly
      *2 Transfer Center Support Assembly
    4. Set the dial indicator perpendicular to the center differential clutch disc flange (No. 1).
      GTY675668Courtesy of © TOYOTA, LICENSE AGREEMENT TMS1002
      TEXT IN ILLUSTRATION

      *1 Center Differential Clutch Disc Flange (No. 1)
      *2 Center Differential Clutch Pressure Balancer
      *3 Center Differential Clutch Piston
      *a Oil Hole
    5. Apply air (200 kPa, 2.0 kgf/cm2 , 19 psi) at the oil hole as shown in the illustration. Measure the pack clearance.

      Standard Clearance

      0.40 to 0.80 mm (0.0158 to 0.0314 in.)

      HINT: 

      • Check that the center differential clutch piston moves smoothly.
      • Perform the measurement at 2 or 3 points and take the average.
    6. If the clearance is not within the specified range, select another center differential clutch disc flange (No. 1).
      GTY403664Courtesy of © TOYOTA, LICENSE AGREEMENT TMS1002
      TEXT IN ILLUSTRATION

      *1 Center Differential Clutch Disc Flange (No. 1)
      FLANGE THICKNESS:

      Mark Thickness mm (in.)
      90 2.95 to 3.05 (0.117 to 0.120)
      91 3.15 to 3.25 (0.125 to 0.127)
      92 3.35 to 3.45 (0.132 to 0.135)
    7. Remove the transfer direct clutch drum sub-assembly from the transfer center support assembly.
      GTY651229Courtesy of © TOYOTA, LICENSE AGREEMENT TMS1002
      TEXT IN ILLUSTRATION

      *1 Transfer Direct Clutch Drum Sub-assembly
      *2 Transfer Center Support Assembly
  11. INSTALL TRANSFER REAR OUTPUT SHAFT BEARING 
    1. Attach the 2 guides to install the transfer rear output shaft bearing to the center differential carrier assembly.
      GTY399080Courtesy of © TOYOTA, LICENSE AGREEMENT TMS1002
  12. INSTALL TRANSFER REAR OUTPUT SHAFT ASSEMBLY AND CENTER DIFFERENTIAL CARRIER ASSEMBLY 
    1. Install the transfer rear output shaft assembly and center differential carrier assembly to the transfer direct clutch drum sub-assembly.
      GTY680880Courtesy of © TOYOTA, LICENSE AGREEMENT TMS1002
      TEXT IN ILLUSTRATION

      *1 Transfer Rear Output Shaft Assembly
      *2 Center Differential Carrier Assembly
      *3 Transfer Direct Clutch Drum Sub-assembly
  13. INSTALL TRANSFER CHAIN CASE OIL SEAL 
    1. Using SST and a hammer, install a new transfer chain case oil seal.
      • SST: 09316-60011 
        1. 09316-00011
        2. 09316-00071
      GTY671155Courtesy of © TOYOTA, LICENSE AGREEMENT TMS1002

      Oil seal drive in depth

      5.6 to 6.2 mm (0.221 to 0.244 in.)

    2. Apply MP grease to the transfer chain case oil seal lip.
  14. INSTALL TRANSFER CHAIN CASE GOVERNOR APPLY GASKET 
    1. Coat 2 new transfer chain case governor apply gaskets with ATF.

      ATF

      Toyota Genuine ATF WS

      GTY466478Courtesy of © TOYOTA, LICENSE AGREEMENT TMS1002
    2. Install the 2 transfer chain case governor apply gaskets to the transfer rear chain case assembly.
    3. Coat a new O-ring and 2 new transfer chain case governor apply gaskets with ATF.

      ATF

      Toyota Genuine ATF WS

      GTY636502Courtesy of © TOYOTA, LICENSE AGREEMENT TMS1002
      TEXT IN ILLUSTRATION

      *A for Front Side
      *B for Rear Side
      *1 Transfer Chain Case Governor Apply Gasket
      *2 O-ring
      *3 Screw
    4. Install the O-ring to the screw.
    5. Install the 2 transfer chain case governor apply gaskets and screw to the transfer front chain case.

      Torque: 7.4 N*m (75 kgf*cm, 65 in.*lbf) 

  15. INSTALL TRANSFER BAFFLE VALVE SUB-ASSEMBLY 
    1. Install the transfer baffle valve sub-assembly to the transfer rear chain case assembly with the bolt.
      GTY462324Courtesy of © TOYOTA, LICENSE AGREEMENT TMS1002

      Torque: 9.8 N*m (100 kgf*cm, 87 in.*lbf) 

  16. INSTALL TRANSFER CASE BEARING 
    1. Using SST and a press, install a new transfer case bearing to the transfer case sub-assembly.
      • SST: 09950-60020 
        1. 09951-00890
      • SST: 09950-70010 
        1. 09951-07150
      GTY646464Courtesy of © TOYOTA, LICENSE AGREEMENT TMS1002

      Bearing drive in depth

      94.61 to 94.86 mm (3.725 to 3.734 in.)

  17. INSTALL TRANSFER CASE OIL SEAL 
    1. Using SST and a hammer, install a new transfer case oil seal.
      • SST: 09325-40010 
      GTY641667Courtesy of © TOYOTA, LICENSE AGREEMENT TMS1002

      Oil Seal Drive in Depth

      2.3 to 2.7 mm (0.091 to 0.106 in.)

    2. Apply MP grease to the transfer case oil seal lip.
  18. INSTALL TRANSFER EXTENSION HOUSING DUST DEFLECTOR 
    1. Using SST and a press, install a new transfer extension housing dust deflector to the transfer case sub-assembly.
      • SST: 09950-60020 
        1. 09951-00910
      • SST: 09950-70010 
        1. 09951-07150
      GTY654091Courtesy of © TOYOTA, LICENSE AGREEMENT TMS1002
  19. INSTALL TRANSFER FRONT CHAIN CASE 
    1. Clean the threads of the bolts and the transfer front chain case with non-residue solvent.
      GTY630796Courtesy of © TOYOTA, LICENSE AGREEMENT TMS1002
      TEXT IN ILLUSTRATION

      *1 Seal Packing
      *a Seal Width 1.0 to 1.5 mm (0.04 to 0.06 in.)
    2. Apply seal packing to the transfer front chain case as shown in the illustration.

      Seal packing

      Toyota Genuine Seal Packing 1281, Three Bond 1281 or equivalent

      NOTE:

      Reassemble the parts within 5 minutes of applying fresh FIPG material. Otherwise, the packing (FIPG) material must be removed and reapplied.

    3. Temporarily install the 6 bolts in several steps, and then tighten them to the specified torque.
      GTY632561Courtesy of © TOYOTA, LICENSE AGREEMENT TMS1002

      Torque: 34 N*m (345 kgf*cm, 25 ft.*lbf) 

      HINT: 

      Bolt length: 

      • Bolt A: 57 mm (2.244 in.)
      • Bolt B: 74 mm (2.913 in.)
      • Other Bolts: 45 mm (1.771 in.)
  20. INSTALL TRANSFER FRONT DRIVE CHAIN, TRANSFER DRIVE SPROCKET SUB-ASSEMBLY AND TRANSFER FRONT DRIVE CLUTCH SLEEVE SUB-ASSEMBLY 
    1. Install the transfer front drive chain to the transfer drive sprocket sub-assembly and transfer front drive clutch sleeve sub-assembly.
    2. Install the transfer front drive chain, transfer drive sprocket sub-assembly and transfer front drive clutch sleeve sub-assembly.
      GTY462193Courtesy of © TOYOTA, LICENSE AGREEMENT TMS1002
  21. INSTALL TRANSFER REAR CHAIN CASE ASSEMBLY 
    1. Clean the threads of the bolts and the transfer rear chain case assembly with non-residue solvent.
      GTY400703Courtesy of © TOYOTA, LICENSE AGREEMENT TMS1002
      TEXT IN ILLUSTRATION

      *1 Seal Packing
      *a Seal Width 1.0 to 1.5 mm (0.04 to 0.06 in.)
    2. Apply seal packing to the transfer rear chain case assembly as shown in the illustration.

      Seal packing

      Toyota Genuine Seal Packing 1281, Three Bond 1281 or equivalent

      NOTE:

      Reassemble the parts within 5 minutes of applying fresh FIPG material. Otherwise, the packing (FIPG) material must be removed and reapplied.

    3. Temporarily install the 10 bolts in several steps, and then tighten them to the specified torque.
      GTY683047Courtesy of © TOYOTA, LICENSE AGREEMENT TMS1002

      Bolt A 

      Torque: 57 N*m (579 kgf*cm, 42 ft.*lbf) 

      Bolt B, Bolt C and Other Bolts 

      Torque: 34 N*m (345 kgf*cm, 25 ft.*lbf) 

      HINT: 

      Bolt length: 

      • Bolt A: 60 mm (2.362 in.)
      • Bolt B: 50 mm (1.969 in.)
      • Bolt C: 109 mm (4.291 in.)
      • Other Bolts: 40 mm (1.574 in.)
  22. INSTALL FLANGE YOKE ASSEMBLY 
    1. Install the flange yoke assembly.
    2. Using SST, hold the flange yoke assembly.
      • SST: 09213-54015 
        1. 91651-60855
      • SST: 09330-00021 
      GTY412175Courtesy of © TOYOTA, LICENSE AGREEMENT TMS1002
      TEXT IN ILLUSTRATION

      *a Turn
      *b Hold
    3. Using a 30 mm deep socket wrench, install a new flange yoke nut.

      Torque: 123 N*m (1249 kgf*cm, 90 ft.*lbf) 

    4. Using a chisel and hammer, stake the flange yoke nut.
  23. INSTALL TRANSFER REAR OUTPUT SHAFT ASSEMBLY 
    1. Install the transfer rear output shaft assembly.
      GTY462188Courtesy of © TOYOTA, LICENSE AGREEMENT TMS1002
  24. INSTALL TRANSFER CASE SUB-ASSEMBLY 
    1. Install the clamp to the transfer case sub-assembly with the bolt.

      Torque: 5.4 N*m (55 kgf*cm, 48 in.*lbf) 

      GTY680662Courtesy of © TOYOTA, LICENSE AGREEMENT TMS1002
      TEXT IN ILLUSTRATION

      *1 Clamp
    2. Clean the threads of the bolts and the transfer case sub-assembly with non-residue solvent.
      GTY614197Courtesy of © TOYOTA, LICENSE AGREEMENT TMS1002
      TEXT IN ILLUSTRATION

      *1 Seal Packing
      *a Seal Width 1.0 to 1.5 mm (0.04 to 0.06 in.)
    3. Apply seal packing to the transfer case sub-assembly as shown in the illustration.

      Seal packing

      Toyota Genuine Seal Packing 1281, Three Bond 1281 or equivalent

      NOTE:

      Reassemble the parts within 5 minutes of applying fresh FIPG material. Otherwise, the packing (FIPG) material must be removed and reapplied.

    4. Temporarily install the 8 bolts and clamp in several steps, and then tighten them to the specified torque.

      Torque: 34 N*m (345 kgf*cm, 25 ft.*lbf) 

      GTY672927Courtesy of © TOYOTA, LICENSE AGREEMENT TMS1002
      TEXT IN ILLUSTRATION

      *1 Clamp

      HINT: 

      Bolt length: 

      • Bolt A: 88 mm (3.465 in.)
      • Bolt B: 40 mm (1.574 in.)
  25. INSTALL TRANSFER CONTROL VALVE BODY ASSEMBLY 
    1. Coat the transfer transmission wire O-ring with ATF.

      ATF

      Toyota Genuine ATF WS

      GTY658484Courtesy of © TOYOTA, LICENSE AGREEMENT TMS1002
      TEXT IN ILLUSTRATION

      *1 Transfer Transmission Wire O-ring
      Coat with Toyota Genuine ATF WS
    2. Install the transfer transmission wire with the bolt.
      GTY462191Courtesy of © TOYOTA, LICENSE AGREEMENT TMS1002

      Torque: 5.4 N*m (55 kgf*cm, 48 in.*lbf) 

    3. Connect the connector to the transfer control solenoid assembly.
      GTY683502Courtesy of © TOYOTA, LICENSE AGREEMENT TMS1002
      TEXT IN ILLUSTRATION

      *1 Connector
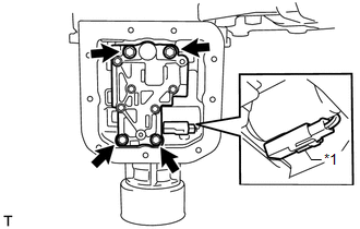
    4. Install the transfer control valve body assembly with the 4 bolts.

      Torque: 9.8 N*m (100 kgf*cm, 87 in.*lbf) 

  26. INSTALL TRANSFER OIL PAN SUB-ASSEMBLY 
    1. Install the transfer oil cleaner magnet to the transfer oil pan sub-assembly.
      GTY655836Courtesy of © TOYOTA, LICENSE AGREEMENT TMS1002
      TEXT IN ILLUSTRATION

      *1 Transfer Oil Cleaner Magnet
    2. Clean the threads of the bolts and the transfer oil pan sub-assembly with non-residue solvent.
      GTY667206Courtesy of © TOYOTA, LICENSE AGREEMENT TMS1002
      TEXT IN ILLUSTRATION

      *1 Seal Packing
      *a Seal Width 3.0 to 3.5 mm (0.12 to 0.14 in.)
    3. Apply seal packing to the transfer oil pan sub-assembly as shown in the illustration.

      Seal packing

      Toyota Genuine Seal Packing 1281, Three Bond 1281 or equivalent

      NOTE:

      Reassemble the parts within 5 minutes of applying fresh FIPG material. Otherwise, the packing (FIPG) material must be removed and reapplied.

    4. Temporarily install the 9 bolts in several steps, and then tighten them to the specified torque.
      GTY462198Courtesy of © TOYOTA, LICENSE AGREEMENT TMS1002

      Torque: 7.4 N*m (75 kgf*cm, 65 in.*lbf)