LEMON Manuals: Even more car manuals for everyone: 1960-2025
Home >> Lexus >> 2019 >> LC 500 >> Repair and Diagnosis >> Engine Performance >> System >> Engine Control System - Diagnostic Codes (Coupe) (1 Of 7) >> SFI System >> DTC P0102: Mass Air Flow Circuit Low; DTC P0103: Mass Air Flow Circuit High; DTC P010C: Mass or Volume Air Flow "A" Circuit Low Input; DTC P010D: Mass or Volume Air Flow "A" Circuit High Input [03/2017 - 09/2018] >> Description
April 5, 2026: LEMON Manuals is launched! Read the announcement.

DTC P0102: Mass Air Flow Circuit Low; DTC P0103: Mass Air Flow Circuit High; DTC P010C: Mass or Volume Air Flow "A" Circuit Low Input; DTC P010D: Mass or Volume Air Flow "A" Circuit High Input [03/2017 - 09/2018]: Description

The mass air flow meter sub-assembly is a sensor that measures the intake air volume using the following built-in components:

Intake air flows past the temperature sensor (before heater), the heater, and then the temperature sensor (after heater) of the silicon chip sensor in the by-pass duct. As the intake air is warmed up when it is exposed to the heater, the temperature of the intake air as it flows past the temperature sensor (after heater) is higher than when it flows past the temperature sensor (before heater). The difference in temperature of the intake air at each temperature sensor varies depending on the velocity of the intake air that flows past the silicon chip sensor. The temperature sensor bridge circuit detects the difference in temperature and the control circuit converts it into a pulse signal and outputs it to the ECM. When the temperature detected by the temperature sensor (before heater) is higher than that detected by the temperature sensor (after heater), backflow of the intake air is detected.

The ECM calculates the intake air volume based on the pulse signal received from the mass air flow meter sub-assembly, and uses it to determine the fuel injection duration necessary for an optimal air-fuel ratio.

The heater control bridge circuit has a temperature sensor and power transistor, and maintains the heater temperature at a specific temperature.

HINT: 

When DTCs is stored, the ECM enters fail-safe mode. During fail-safe mode, the ECM calculates the fuel injection duration based on the engine speed and throttle valve angle. Fail-safe mode continues until a pass condition is detected.

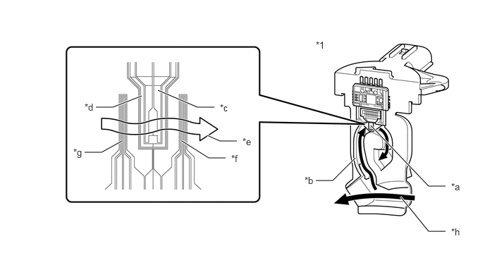
GTY832033Courtesy of © TOYOTA, LICENSE AGREEMENT TMS1002
*1 mass air flow meter sub-assembly Sub-assembly - -
*a Silicon Chip Sensor *b By-pass Duct
*c Heater *d Heater Thermistor
*e Intake Air *f Temperature Sensor (After Heater)
*g Temperature Sensor (Before Heater) *h Intake Air Thermistor 1
*h Air Flow - -
DTC No. Detection Item DTC Detection Condition Trouble Area MIL Memory
P0102 Mass Air Flow Circuit Low The mass air flow meter sub-assembly output frequency is less than 0.1 kHz for 3 seconds
(1 trip detection logic)
  • Open or short in mass air flow meter sub-assembly (bank 1) circuit
  • mass air flow meter sub-assembly (bank 1)
  • ECM
Comes on DTC stored
P0103 Mass Air Flow Circuit High The mass air flow meter sub-assembly output frequency is higher than 9.8 kHz for 3 seconds.
(1 trip detection logic)
  • Open or short in mass air flow meter sub-assembly (bank 1) circuit
  • mass air flow meter sub-assembly (bank 1)
  • ECM
Comes on DTC stored
P010C Mass or Volume Air Flow "A" Circuit Low Input The mass air flow meter sub-assembly output frequency is less than 0.1 kHz for 3 seconds
(1 trip detection logic)
  • Open or short in mass air flow meter sub-assembly (bank 2) circuit
  • mass air flow meter sub-assembly (bank 2)
  • ECM
Comes on DTC stored
P010D Mass or Volume Air Flow "A" Circuit High Input The mass air flow meter sub-assembly output frequency is higher than 9.8 kHz for 3 seconds.
(1 trip detection logic)
  • Open or short in mass air flow meter sub-assembly (bank2) circuit
  • mass air flow meter sub-assembly (bank2)
  • ECM
Comes on DTC stored