LEMON Manuals: Even more car manuals for everyone: 1960-2025
Home >> Lexus >> 2019 >> LS 500h AWD >> Repair and Diagnosis >> Steering >> Power Steering >> Dynamic Rear Steering System - Diagnostics - Introduction >> Dynamic Rear Steering System >> System Diagram [10/2017 - 10/2020] >> System Diagram [10/2017 - 10/2020]
April 5, 2026: LEMON Manuals is launched! Read the announcement.

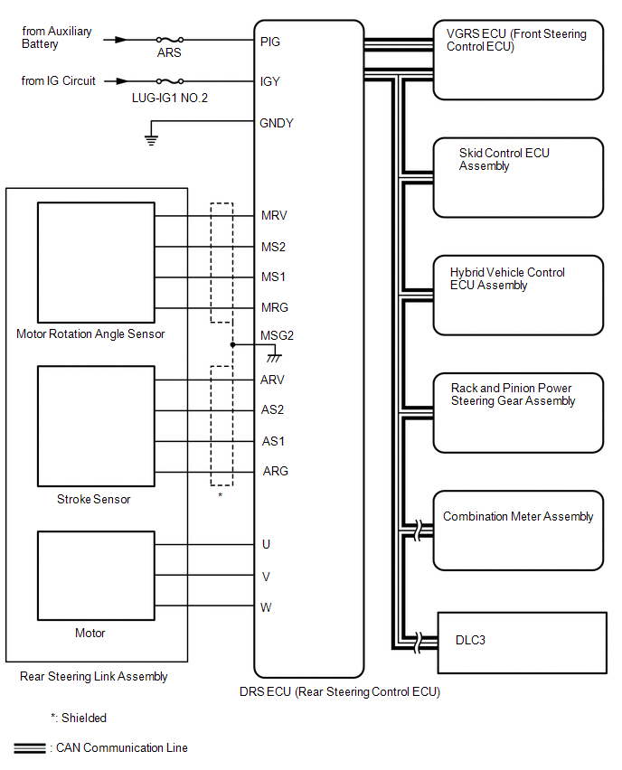
System Diagram [10/2017 - 10/2020]

GTY784128Courtesy of © TOYOTA, LICENSE AGREEMENT TMS1002