LEMON Manuals: Even more car manuals for everyone: 1960-2025
Home >> Lexus >> 2019 >> NX 300 Base, AWD >> Repair and Diagnosis >> Transmission >> Transfer Case >> Transfer Case - Service Information >> Transfer Assembly >> Disassembly [09/2015 - 09/2016] >> Procedure
April 5, 2026: LEMON Manuals is launched! Read the announcement.

Disassembly [09/2015 - 09/2016]: Procedure

  1. REMOVE TRANSFER AND TRANSAXLE SETTING STUD BOLT 
    1. Using 2 nuts, remove the 4 transfer and transaxle setting stud bolts.
      GTY364403Courtesy of © TOYOTA, LICENSE AGREEMENT TMS1002
  2. SECURE TRANSFER ASSEMBLY 
    GTY380666Courtesy of © TOYOTA, LICENSE AGREEMENT TMS1002
    1. Secure the transfer assembly to the overhaul attachment.
  3. REMOVE TRANSFER CASE STRAIGHT PIN 
    GTY380664Courtesy of © TOYOTA, LICENSE AGREEMENT TMS1002
    1. Remove the 2 transfer case straight pins.
  4. REMOVE NO. 1 TRANSFER CASE PLUG 
    GTY365921Courtesy of © TOYOTA, LICENSE AGREEMENT TMS1002
    1. Remove the No. 1 transfer case plug and gasket.
  5. REMOVE TRANSFER DRAIN PLUG 
    GTY380676Courtesy of © TOYOTA, LICENSE AGREEMENT TMS1002
    1. Using a 10 mm socket hexagon wrench, remove the transfer drain plug and gasket.
  6. REMOVE NO. 2 TRANSFER CASE PLUG 
    GTY380674Courtesy of © TOYOTA, LICENSE AGREEMENT TMS1002
    1. Using a 10 mm socket hexagon wrench, remove the No. 2 transfer case plug (filler plug) and gasket.
  7. REMOVE TRANSFER CASE BREATHER PLUG 
    GTY374011Courtesy of © TOYOTA, LICENSE AGREEMENT TMS1002
    1. Using a chisel and hammer, slightly pry out the transfer case breather plug.
    2. Using a screwdriver, lightly pry up and remove the transfer case breather plug.
  8. REMOVE TRANSFER CASE OIL SEAL 
    GTY365734Courtesy of © TOYOTA, LICENSE AGREEMENT TMS1002
    *1 Transfer Case Oil Seal
    1. Using SST, remove the transfer case oil seal from the transfer case.
      • SST: 09308-00010 
      NOTE:
      • Do not scratch the press-fitting surface of the transfer case oil seal.
      • Wear or damage to the front drive shaft oil seal RH (for Inside) on the transmission side will cause transfer oil leakage.

        If it is worn or damaged, replace the front drive shaft oil seal RH (for Inside).

        Refer to REPLACEMENT [10/2014 - ]

  9. REMOVE TRANSFER CASE OIL SEAL RH 
    1. Using SST, remove the transfer case oil seal RH from the No. 1 transfer case cover.
      • SST: 09308-00010 
      NOTE:

      Do not scratch the press-fitting surface of the transfer case oil seal RH.

      GTY511180Courtesy of © TOYOTA, LICENSE AGREEMENT TMS1002
      *1 Transfer Case Oil Seal RH
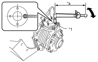
  10. INSPECT TOTAL PRELOAD 
    1. Install the double nut to the transfer output shaft stud bolt and set the torque wrench into place.

      HINT: 

      Adjust the double nut until the torque wrench is straight.

      GTY955799Courtesy of © TOYOTA, LICENSE AGREEMENT TMS1002
      *1 Nut
      *a Torque Wrench Fulcrum Length
    2. Using a torque wrench, check the total preload (starting torque) with the teeth of the drive pinion and ring gear in contact.

      Total preload (starting torque) 

      Torque: 0.87 N.m (2.85 N.m (8.88 kgf/cm, 29.06 kgf/cm, 7.71 in.lbf) 25.22 in.lbf) 

      HINT: 

      • When using a torque wrench after changing its effective length, determine the reading of the torque wrench.
        FORMULA T'=T X L2/(L1+L2)

        T' Reading of torque wrench (N.m (kgf/cm, ft.lbf))
        T Driven pinion preload (N.m (kgf/cm, ft.lbf))
        L1 Distance from center of transfer output shaft to center of stud bolt (cm (in.))
        L2 Length of torque wrench (cm (in.))
        GTY883823Courtesy of © TOYOTA, LICENSE AGREEMENT TMS1002
      • Distance from center of transfer output shaft to center of stud bolt (effective length of 38.9 mm) when using a torque wrench (effective length of 160 mm): 0.70 to 2.30 N.m (8 to 23 kgf/cm, 7 to 20 in.lbf)
  11. INSPECT RING GEAR BACKLASH 
    GTY366884Courtesy of © TOYOTA, LICENSE AGREEMENT TMS1002
    1. Insert a dial indicator through the No. 2 transfer case plug hole, and set it perpendicular to the edge of a ring gear tooth.

      If the backlash is not within the specified range, adjust the backlash or repair as necessary.

    2. While securing the transfer output shaft by hand, rotate the transfer ring gear mounting case forward and backward by hand and measure the backlash of the ring gear and driven pinion.

      Standard backlash

      0.10 to 0.20 mm (0.00394 to 0.00787 in.)

      NOTE:

      Measure the ring gear at 3 or more locations.

  12. REMOVE NO. 1 TRANSFER CASE COVER 
    1. Remove the 8 bolts.
      GTY365932Courtesy of © TOYOTA, LICENSE AGREEMENT TMS1002
    2. Using a brass bar and hammer, remove the No. 1 transfer case cover from the transfer case.
      GTY381949Courtesy of © TOYOTA, LICENSE AGREEMENT TMS1002
      NOTE:
      • Put the brass bar against the rib of the No. 1 transfer case cover.
      • When removing the No. 1 transfer case cover, be careful not to scratch the installation surface.

      HINT: 

      To prevent the No. 1 transfer case cover from falling, leave 2 of the bolts screwed in by 5 or 6 threads.

  13. REMOVE TRANSFER RING GEAR 
    GTY381940Courtesy of © TOYOTA, LICENSE AGREEMENT TMS1002
    1. Remove the transfer ring gear from the transfer case.
  14. REMOVE TRANSFER CASE STRAIGHT PIN 
    GTY365891Courtesy of © TOYOTA, LICENSE AGREEMENT TMS1002
    1. Remove the 2 transfer case straight pins from the transfer case.
  15. INSPECT DRIVEN PINION PRELOAD 
    1. Install the double nut to the transfer output shaft stud bolt and set the torque wrench into place.

      HINT: 

      Adjust the double nut until the torque wrench is straight.

      GTY955749Courtesy of © TOYOTA, LICENSE AGREEMENT TMS1002
      *1 Nut
      *a Torque Wrench Fulcrum Length
    2. Using a torque wrench, check the driven pinion preload (starting torque) of the driven pinion.

      Driven pinion preload (starting torque) 

      Torque: 0.39 N.m (2.21 N.m (3.98 kgf/cm, 22.53 kgf/cm, 3.46 in.lbf) 19.55 in.lbf) 

      HINT: 

      • When using a torque wrench after changing its effective length, determine the reading of the torque wrench.
        FORMULA T'=T X L2/(L1+L2)

        T' Reading of torque wrench (N.m (kgf/cm, ft.lbf))
        T Driven pinion preload (N.m (kgf/cm, ft.lbf))
        L1 Distance from center of transfer output shaft to center of stud bolt (cm (in.))
        L2 Length of torque wrench (cm (in.))
        GTY883823Courtesy of © TOYOTA, LICENSE AGREEMENT TMS1002
      • Distance from center of transfer output shaft to center of stud bolt (effective length of 38.9 mm) when using a torque wrench (effective length of 160 mm): 0.32 to 1.78 N.m (4 to 18 kgf/cm, 3 to 15 in.lbf)
  16. REMOVE REAR TRANSFER OUTPUT SHAFT SUB-ASSEMBLY 
    GTY381939Courtesy of © TOYOTA, LICENSE AGREEMENT TMS1002
    1. Remove the 5 bolts and rear transfer output shaft sub-assembly from the transfer case.
    2. Mount the rear transfer output shaft sub-assembly in a vise between aluminum plates.
      NOTE:

      Do not overtighten the vise.

    3. Using SST and a hammer, unstake the transfer gear nut.
      GTY373597Courtesy of © TOYOTA, LICENSE AGREEMENT TMS1002
      • SST: 09930-00010 
      NOTE:
      • Be sure to use SST with the tapered surface facing the shaft.
      • Do not grind the tip of SST with a grinder or other device.
      • Completely loosen the staked part of the transfer gear nut when removing it.
      • Do not damage the threads of the output shaft sub-assembly.
    4. Using a 30 mm socket wrench, remove the transfer gear nut.
  17. REMOVE TRANSFER DRIVEN PINION 
    1. w/o Washer:
      1. Using SST and a press, remove the transfer driven pinion from the rear transfer output shaft sub-assembly.
        GTY366199Courtesy of © TOYOTA, LICENSE AGREEMENT TMS1002
        • SST: 09950-00020 
        • SST: 09950-60010 
          1. 09951-00240
        • SST: 09950-70010 
          1. 09951-07100
        NOTE:

        Support the transfer bearing assembly as shown in the illustration to avoid placing stress on the outer race.

    2. w/ Washer:
      1. Using SST and a press, remove the transfer driven pinion and washer from the rear transfer output shaft sub-assembly.
        • SST: 09950-00020 
        • SST: 09950-60010 
          1. 09951-00240
        • SST: 09950-70010 
          1. 09951-07100
        GTY366199Courtesy of © TOYOTA, LICENSE AGREEMENT TMS1002
        NOTE:

        Support the transfer bearing assembly as shown in the illustration to avoid placing stress on the outer race.

  18. REMOVE REAR TRANSFER OUTPUT SHAFT DUST DEFLECTOR 
    1. Using SST and a press, remove the rear transfer output shaft dust deflector from the rear transfer output shaft sub-assembly.
      • SST: 09950-00020 
      GTY367359Courtesy of © TOYOTA, LICENSE AGREEMENT TMS1002
  19. REMOVE TRANSFER BEARING ASSEMBLY 
    GTY217595Courtesy of © TOYOTA, LICENSE AGREEMENT TMS1002
    1. Using SST and a press, remove the transfer bearing assembly from the transfer driven pinion.
      • SST: 09950-00020 
      • SST: 09950-60010 
        1. 09951-00410
      • SST: 09950-70010 
        1. 09951-07100
      NOTE:

      Support the front transfer driven pinion bearing as shown in the illustration to avoid placing stress on the outer race.

    2. Remove the O-ring from the transfer bearing assembly.
      GTY210981Courtesy of © TOYOTA, LICENSE AGREEMENT TMS1002
  20. REMOVE TRANSFER OUTPUT SHAFT WASHER 
    GTY384712Courtesy of © TOYOTA, LICENSE AGREEMENT TMS1002
    1. Remove the transfer output shaft washer from the transfer driven pinion.
  21. REMOVE RING GEAR MOUNTING CASE BEARING RH 
    GTY368654Courtesy of © TOYOTA, LICENSE AGREEMENT TMS1002
    *a Turn
    *b Hold
    1. Using SST, remove the ring gear mounting case bearing RH (inner race) from the transfer ring gear mounting case.
      • SST: 09950-40011 
        1. 09951-04010
        2. 09952-04010
        3. 09953-04030
        4. 09954-04010
        5. 09955-04061
        6. 09957-04010
        7. 09958-04011
      • SST: 09950-60010 
        1. 09951-00540
      NOTE:
      • Apply a lubricant to the threads and end of SST.
      • Do not deform the cage of the ring gear mounting case bearing RH (inner race) (when reusing the bearing).
      • Place identification marks on the left and right ring gear mounting case bearings to distinguish them (backside, teeth side). Then store them separately (when reusing the bearings).
    2. Using SST and a hammer, remove the No. 2 transfer ring gear mounting case washer and ring gear mounting case bearing RH (outer race) from the No. 1 transfer case cover.
      GTY366797Courtesy of © TOYOTA, LICENSE AGREEMENT TMS1002
      *1 No. 2 Transfer Ring Gear Mounting Case Washer
      *2 Ring Gear Mounting Case Bearing RH (Outer Race)
      • SST: 09310-35010 
  22. REMOVE RING GEAR MOUNTING CASE BEARING LH 
    GTY380473Courtesy of © TOYOTA, LICENSE AGREEMENT TMS1002
    *a Turn
    *b Hold
    1. Using SST, remove the ring gear mounting case bearing LH (inner race) from the transfer ring gear mounting case.
      • SST: 09950-00020 
      • SST: 09950-00030 
      NOTE:
      • Apply a lubricant to the threads and end of SST.
      • Do not deform the cage of the ring gear mounting case bearing LH (inner race) (when reusing the bearing).
      • Place identification marks on the left and right ring gear mounting case bearings to distinguish them (backside, teeth side). Then store them separately (when reusing the bearings).
    2. Using SST and a hammer, remove the No. 1 ring gear mounting case washer and ring gear mounting case bearing LH (outer race) from the transfer case.
      • SST: 09636-20010 
      GTY366837Courtesy of © TOYOTA, LICENSE AGREEMENT TMS1002
      *1 No. 1 Ring Gear Mounting Case Washer
      *2 Ring Gear Mounting Case Bearing LH (Outer Race)
  23. REMOVE SHAFT SNAP RING 
    GTY381252Courtesy of © TOYOTA, LICENSE AGREEMENT TMS1002
    1. Using a snap ring expander, remove the shaft snap ring.
  24. REMOVE TRANSFER RING GEAR MOUNTING CASE 
    GTY372930Courtesy of © TOYOTA, LICENSE AGREEMENT TMS1002
    1. Using SST and a press, remove the transfer ring gear mounting case from the transfer ring gear.
      • SST: 09950-60010 
        1. 09951-00400
  25. REMOVE BREATHER OIL DEFLECTOR 
    GTY380708Courtesy of © TOYOTA, LICENSE AGREEMENT TMS1002
    1. Remove the 2 bolts and breather oil deflector from the transfer case.