LEMON Manuals: Even more car manuals for everyone: 1960-2025
Home >> Lexus >> 2019 >> NX 300 Base, AWD >> Repair and Diagnosis >> Transmission >> Transfer Case >> Transfer Case - Service Information >> Transfer Assembly >> Reassembly [09/2015 - 09/2016] >> Procedure
April 5, 2026: LEMON Manuals is launched! Read the announcement.

Reassembly [09/2015 - 09/2016]: Procedure

  1. INSTALL BREATHER OIL DEFLECTOR 
    GTY380708Courtesy of © TOYOTA, LICENSE AGREEMENT TMS1002
    1. Install a new breather oil deflector to the transfer case with the 2 bolts.

      Torque: 6.5 N.m (66 kgf/cm, 58 in.lbf) 

  2. INSTALL TRANSFER RING GEAR MOUNTING CASE 
    GTY376516Courtesy of © TOYOTA, LICENSE AGREEMENT TMS1002
    1. Using SST and a press, press the transfer ring gear mounting case into the transfer ring gear.
      • SST: 09316-12010 
      • SST: 09950-60010 
        1. 09951-00560
      NOTE:

      Do not put stress on the teeth of the transfer ring gear.

  3. INSTALL SHAFT SNAP RING 
    GTY381252Courtesy of © TOYOTA, LICENSE AGREEMENT TMS1002
    1. Using a snap ring expander, install a new shaft snap ring.
  4. INSTALL RING GEAR MOUNTING CASE BEARING RH 
    1. Install a new No. 2 transfer ring gear mounting case washer to the No. 1 transfer case cover.
      GTY369177Courtesy of © TOYOTA, LICENSE AGREEMENT TMS1002
      *1 No. 2 Transfer Ring Gear Mounting Case Washer
      *2 Ring Gear Mounting Case Bearing RH (Outer Race)

      HINT: 

      Install a No. 2 transfer ring gear mounting case washer with the same thickness as the one before the disassembly.

    2. Using SST and a press, press the ring gear mounting case bearing RH (outer race) into the No. 1 transfer case cover.
      • SST: 09950-60020 
        1. 09951-00750
        2. 09952-06010
      • SST: 09950-70010 
        1. 09951-07150
      • SST: 09951-00850 
      NOTE:
      • Press in the ring gear mounting case bearing RH (outer race) and No. 2 transfer ring gear mounting case washer until they fit to the edge.
      • Do not put stress on the rolling contact surface of the ring gear mounting case bearing RH (outer race).
    3. Using SST and a press, press the ring gear mounting case bearing RH (inner race) into the transfer ring gear mounting case.
      GTY383568Courtesy of © TOYOTA, LICENSE AGREEMENT TMS1002
      • SST: 09950-60010 
        1. 09951-00440
        2. 09951-00650
      NOTE:

      Do not deform the ring gear mounting case bearing RH (inner race) cage.

      HINT: 

      When reusing the ring gear mounting case bearing RH, coat the ring gear mounting case bearing RH with Toyota Genuine Differential gear oil LT API GL-5 or equivalent.

  5. INSTALL RING GEAR MOUNTING CASE BEARING LH 
    1. Install a new No. 1 ring gear mounting case washer to the transfer case.
      GTY380156Courtesy of © TOYOTA, LICENSE AGREEMENT TMS1002
      *1 No. 1 Ring Gear Mounting Case Washer
      *2 Ring Gear Mounting Case Bearing LH (Outer Race)

      HINT: 

      Install a No. 1 ring gear mounting case washer with the same thickness as the one before the disassembly.

    2. Using SST and a press, press the ring gear mounting case bearing LH (outer race) into the transfer case.
      • SST: 09950-60010 
        1. 09951-00570
        2. 09951-00650
        3. 09952-06010
      • SST: 09950-70010 
        1. 09951-07150
      NOTE:
      • Press in the ring gear mounting case bearing LH (outer race) and No. 1 ring gear mounting case washer until they fit to the edge.
      • Do not put stress on the rolling contact surface of the ring gear mounting case bearing LH (outer race).
    3. Using SST and a press, press the ring gear mounting case bearing LH (inner race) into the transfer ring gear mounting case.
      GTY381472Courtesy of © TOYOTA, LICENSE AGREEMENT TMS1002
      • SST: 09336-16010 
      • SST: 09950-60010 
        1. 09951-00560
      NOTE:

      Do not deform the ring gear mounting case bearing LH (inner race) cage.

      HINT: 

      When reusing the ring gear mounting case bearing LH, coat the ring gear mounting case bearing LH with Toyota Genuine Differential gear oil LT API GL-5 or equivalent.

  6. INSTALL TRANSFER OUTPUT SHAFT WASHER 
    GTY384712Courtesy of © TOYOTA, LICENSE AGREEMENT TMS1002
    1. Install the transfer output shaft washer to the transfer driven pinion.
  7. INSTALL TRANSFER BEARING ASSEMBLY 
    1. w/o Washer:
      GTY443424Courtesy of © TOYOTA, LICENSE AGREEMENT TMS1002
      1. Using SST and a press, press the transfer bearing assembly into the transfer driven pinion.
        • SST: 09950-60010 
          1. 09951-00440
          2. 09951-00550
        • SST: 09950-70010 
          1. 09951-07150
        NOTE:

        Do not apply stress to any parts of the transfer bearing assembly inner race or transfer driven pinion other than the flat surfaces.

    2. w/ Washer:
      NOTE:
      • The transfer bearing assembly service kit consists of a transfer bearing assembly and washer.
      • The supplied washer is used in the transfer driven pinion installation procedure.
      GTY443424Courtesy of © TOYOTA, LICENSE AGREEMENT TMS1002
      1. Using SST and a press, press the transfer bearing assembly into the transfer driven pinion.
        • SST: 09950-60010 
          1. 09951-00440
          2. 09951-00550
        • SST: 09950-70010 
          1. 09951-07150
        NOTE:

        Do not apply stress to any parts of the transfer bearing assembly inner race or transfer driven pinion other than the flat surfaces.

  8. INSTALL REAR TRANSFER OUTPUT SHAFT DUST DEFLECTOR 
    1. Using SST and a press, press a new rear transfer output shaft dust deflector into the rear transfer output shaft sub-assembly.
      • SST: 09316-12010 
      • SST: 09950-60010 
        1. 09951-00570
      GTY536259Courtesy of © TOYOTA, LICENSE AGREEMENT TMS1002
      NOTE:

      The rear transfer output shaft dust deflector should be installed completely.

  9. INSTALL TRANSFER DRIVEN PINION 
    1. w/o Washer:
      1. Using SST and a press, press the rear transfer output shaft sub-assembly into the transfer driven pinion.
        GTY362906Courtesy of © TOYOTA, LICENSE AGREEMENT TMS1002
        • SST: 09506-30012 
        • SST: 09950-60020 
          1. 09951-00680
        NOTE:

        Do not apply stress to any parts of the transfer output shaft flange or transfer driven pinion other than the flat surfaces.

      2. Secure the rear transfer output shaft sub-assembly in a vise between aluminum plates.
        GTY361058Courtesy of © TOYOTA, LICENSE AGREEMENT TMS1002
        NOTE:

        Do not overtighten the vise.

      3. Using a 30 mm socket wrench, install a new transfer gear nut to the rear transfer output shaft sub-assembly.

        Torque: 360 N.m (3671 kgf/cm, 266 ft.lbf) 

    2. GTY580324Courtesy of © TOYOTA, LICENSE AGREEMENT TMS1002
      *1 Washer

      w/ Washer:

      NOTE:

      The transfer bearing assembly service kit consists of a transfer bearing assembly and washer.

      1. Install the washer to the rear transfer output shaft sub-assembly as shown in the illustration.
        NOTE:

        Install the washer in the correct direction.

      2. Using SST and a press, press the transfer driven pinion into the rear transfer output shaft sub-assembly.
        • SST: 09527-2001109608-04031 
        GTY605410Courtesy of © TOYOTA, LICENSE AGREEMENT TMS1002
        *1 Washer
        NOTE:

        Do not apply stress to any parts of the transfer output shaft flange or transfer driven pinion other than the flat surfaces.

      3. Secure the rear transfer output shaft sub-assembly in a vise between aluminum plates.
        GTY361058Courtesy of © TOYOTA, LICENSE AGREEMENT TMS1002
        NOTE:

        Do not overtighten the vise.

      4. Using a 30 mm socket wrench, temporarily tighten a new transfer gear nut to the rear transfer output shaft sub-assembly.
      5. Using a dial indicator, measure the runout at the rear transfer output shaft sub-assembly flange.
        GTY554695Courtesy of © TOYOTA, LICENSE AGREEMENT TMS1002
        *a 30 mm (1.18 in.)

        Maximum runout

        0.064 mm (0.00252 in.)

        If the runout is more than the maximum, remove and reinstall the rear transfer output shaft sub-assembly.

      6. Using a dial indicator, measure the runout at the inner side of the rear transfer output shaft sub-assembly flange.
        GTY566613Courtesy of © TOYOTA, LICENSE AGREEMENT TMS1002

        Maximum runout

        0.063 mm (0.00248 in.)

        If the runout is more than the maximum, remove and reinstall the rear transfer output shaft sub-assembly.

      7. Using a 30 mm socket wrench, fully tighten the transfer gear nut to the rear transfer output shaft sub-assembly.

        Torque: 360 N.m (3671 kgf/cm, 266 ft.lbf) 

  10. INSTALL REAR TRANSFER OUTPUT SHAFT SUB-ASSEMBLY 
    1. Install a new O-ring to the transfer bearing assembly.
      GTY366629Courtesy of © TOYOTA, LICENSE AGREEMENT TMS1002
      *1 O-ring
      NOTE:
      • Do not scratch or twist the O-ring.
      • Firmly install the O-ring into the groove of the transfer bearing assembly.
    2. Install the rear transfer output shaft sub-assembly to the transfer case with the 5 bolts.

      Torque: 38 N.m (387 kgf/cm, 28 ft.lbf) 

      NOTE:

      Do not scratch or twist the O-ring.

      GTY381939Courtesy of © TOYOTA, LICENSE AGREEMENT TMS1002
  11. INSPECT DRIVEN PINION PRELOAD 
    1. Install the double nut to the transfer output shaft stud bolt and set the torque wrench into place.

      HINT: 

      Adjust the double nut until the torque wrench is straight.

      GTY955750Courtesy of © TOYOTA, LICENSE AGREEMENT TMS1002
      *1 Nut
      *a Torque Wrench Fulcrum Length
    2. Using a torque wrench, check the driven pinion preload (starting torque) of the driven pinion.

      Driven pinion preload (starting torque) 

      Torque: 0.39 N.m (2.21 N.m (3.98 kgf/cm, 22.53 kgf/cm, 3.46 in.lbf) 19.55 in.lbf) 

      NOTE:

      Measure the preload after rotating the bearing several times in the forward and backward directions to make sure the bearing is operating correctly.

      HINT: 

      • When using a torque wrench after changing its effective length, determine the reading of the torque wrench.
        FORMULA T'=T X L2/(L1+L2)

        T' Reading of torque wrench (N.m (kgf/cm, ft.lbf))
        T Driven pinion preload (N.m (kgf/cm, ft.lbf))
        L1 Distance from center of transfer output shaft to center of stud bolt (cm (in.))
        L2 Length of torque wrench (cm (in.))
        GTY883823Courtesy of © TOYOTA, LICENSE AGREEMENT TMS1002
      • Distance from center of transfer output shaft to center of stud bolt (effective length of 38.9 mm) when using a torque wrench (effective length of 160 mm): 0.32 to 1.78 N.m (4 to 18 kgf/cm, 3 to 15 in.lbf)
  12. INSTALL TRANSFER RING GEAR 
    GTY221220Courtesy of © TOYOTA, LICENSE AGREEMENT TMS1002
    1. Uniformly apply a light coat of Prussian Blue on both sides of the transfer ring gear teeth.
    2. GTY381940Courtesy of © TOYOTA, LICENSE AGREEMENT TMS1002

      Install the transfer ring gear to the transfer case.

  13. INSTALL NO. 1 TRANSFER CASE COVER 
    GTY365932Courtesy of © TOYOTA, LICENSE AGREEMENT TMS1002
    1. Install the No. 1 transfer case cover to the transfer case with the 8 bolts.

      Torque: 47 N.m (479 kgf/cm, 35 ft.lbf) 

  14. ADJUST RING GEAR BACKLASH 
    1. Insert a dial indicator into the No. 2 transfer case plug hole, and place it perpendicular to the edge of a transfer ring gear tooth.
      GTY366884Courtesy of © TOYOTA, LICENSE AGREEMENT TMS1002
    2. While securing the rear transfer output shaft sub-assembly by hand, rotate the transfer ring gear mounting case forward and backward by hand and measure the backlash of the transfer ring gear and transfer driven pinion.

      Standard backlash

      0.10 to 0.20 mm (0.00394 to 0.00787 in.)

      NOTE:

      Measure the ring gear at 3 or more locations.

    3. If the result is not within the specified range, select a No. 1 ring gear mounting case washer (for backlash adjustment) and a No. 2 transfer ring gear mounting case washer (for preload adjustment) from the table below and reinstall them to bring the result within the specified range.

      HINT: 

      • If the backlash is small, select a thick washer for the No. 1 ring gear mounting case washer (for backlash adjustment) and a thin washer for the No. 2 transfer ring gear mounting case washer (for preload adjustment).
      • If the backlash is large, select a thin washer for the No. 1 ring gear mounting case washer (for backlash adjustment) and a thick washer for the No. 2 transfer ring gear mounting case washer (for preload adjustment).

      No. 1 Ring Gear Mounting Case Washer (for backlash adjustment)

      Part No. Thickness Identifying Mark Part No. Thickness Identifying Mark
      36265-42010 1.96 to 1.98 mm (0.0772 to 0.0779 in.) A0 36265-42210 2.36 to 2.38 mm (0.0930 to 0.0937 in.) C0
      36265-42020 1.98 to 2.00 mm (0.0780 to 0.0787 in.) A1 36265-42220 2.38 to 2.40 mm (0.0938 to 0.0944 in.) C1
      36265-42030 2.00 to 2.02 mm (0.0788 to 0.0795 in.) A2 36265-42230 2.40 to 2.42 mm (0.0945 to 0.0952 in.) C2
      36265-42040 2.02 to 2.04 mm (0.0796 to 0.0803 in.) A3 36265-42240 2.42 to 2.44 mm (0.0953 to 0.0960 in.) C3
      36265-42050 2.04 to 2.06 mm (0.0804 to 0.0811 in.) A4 36265-42250 2.44 to 2.46 mm (0.0961 to 0.0968 in.) C4
      36265-42060 2.06 to 2.08 mm (0.0812 to 0.0818 in.) A5 36265-42260 2.46 to 2.48 mm (0.0969 to 0.0976 in.) C5
      36265-42070 2.08 to 2.10 mm (0.0819 to 0.0826 in.) A6 36265-42270 2.48 to 2.50 mm (0.0977 to 0.0984 in.) C6
      36265-42080 2.10 to 2.12 mm (0.0827 to 0.0834 in.) A7 36265-42280 2.50 to 2.52 mm (0.0985 to 0.0992 in.) C7
      36265-42090 2.12 to 2.14 mm (0.0835 to 0.0842 in.) A8 36265-42290 2.52 to 2.54 mm (0.0993 to 0.0999 in.) C8
      36265-42100 2.14 to 2.16 mm (0.0843 to 0.0850 in.) A9 36265-42300 2.54 to 2.56 mm (0.1000 to 0.1007 in.) C9
      36265-42110 2.16 to 2.18 mm (0.0851 to 0.0858 in.) B0 36265-42310 2.56 to 2.58 mm (0.1008 to 0.1015 in.) D0
      36265-42120 2.18 to 2.20 mm (0.0859 to 0.0866 in.) B1 36265-42320 2.58 to 2.60 mm (0.1016 to 0.1023 in.) D1
      36265-42130 2.20 to 2.22 mm (0.0867 to 0.0874 in.) B2 36265-42330 2.60 to 2.62 mm (0.1024 to 0.1031 in.) D2
      36265-42140 2.22 to 2.24 mm (0.0875 to 0.0881 in.) B3 36265-42340 2.62 to 2.64 mm (0.1032 to 0.1039 in.) D3
      36265-42150 2.24 to 2.26 mm (0.0882 to 0.0889 in.) B4 36265-42350 2.64 to 2.66 mm (0.1040 to 0.1047 in.) D4
      36265-42160 2.26 to 2.28 mm (0.0890 to 0.0897 in.) B5 36265-42360 2.66 to 2.68 mm (0.1048 to 0.1055 in.) D5
      36265-42170 2.28 to 2.30 mm (0.0898 to 0.0905 in.) B6 36265-42370 2.68 to 2.70 mm (0.1056 to 0.1062 in.) D6
      36265-42180 2.30 to 2.32 mm (0.0906 to 0.0913 in.) B7 36265-42380 2.70 to 2.72 mm (0.1063 to 0.1070 in.) D7
      36265-42190 2.32 to 2.34 mm (0.0914 to 0.0921 in.) B8 36265-42390 2.72 to 2.74 mm (0.1071 to 0.1078 in.) D8
      36265-42200 2.34 to 2.36 mm (0.0922 to 0.0929 in.) B9 36265-42400 2.74 to 2.76 mm (0.1079 to 0.1086 in.) D9

      No. 2 Transfer Ring Gear Mounting Case Washer (for preload adjustment)

      Part No. Thickness Identifying Mark Part No. Thickness Identifying Mark
      36266-52010 1.17 to 1.19 mm (0.0461 to 0.0468 in.) A0 36266-52230 1.61 to 1.63 mm (0.0634 to 0.0641 in.) C2
      36266-52020 1.19 to 1.21 mm (0.0469 to 0.0476 in.) A1 36266-52240 1.63 to 1.65 mm (0.0642 to 0.0649 in.) C3
      36266-52030 1.21 to 1.23 mm (0.0477 to 0.0484 in.) A2 36266-52250 1.65 to 1.67 mm (0.0650 to 0.0657 in.) C4
      36266-52040 1.23 to 1.25 mm (0.0485 to 0.0492 in.) A3 36266-52260 1.67 to 1.69 mm (0.0658 to 0.0665 in.) C5
      36266-52050 1.25 to 1.27 mm (0.0493 to 0.0499 in.) A4 36266-52270 1.69 to 1.71 mm (0.0666 to 0.0673 in.) C6
      36266-52060 1.27 to 1.29 mm (0.0500 to 0.0507 in.) A5 36266-52280 1.71 to 1.73 mm (0.0674 to 0.0681 in.) C7
      36266-52070 1.29 to 1.31 mm (0.0508 to 0.0515 in.) A6 36266-52290 1.73 to 1.75 mm (0.0682 to 0.0688 in.) C8
      36266-52080 1.31 to 1.33 mm (0.0516 to 0.0523 in.) A7 36266-52300 1.75 to 1.77 mm (0.0689 to 0.0696 in.) C9
      36266-52090 1.33 to 1.35 mm (0.0524 to 0.0531 in.) A8 36266-52310 1.77 to 1.79 mm (0.0697 to 0.0704 in.) D0
      36266-52100 1.35 to 1.37 mm (0.0532 to 0.0539 in.) A9 36266-52320 1.79 to 1.81 mm (0.0705 to 0.0712 in.) D1
      36266-52110 1.37 to 1.39 mm (0.0540 to 0.0547 in.) B0 36266-52330 1.81 to 1.83 mm (0.0713 to 0.0720 in.) D2
      36266-52120 1.39 to 1.41 mm (0.0548 to 0.0555 in.) B1 36266-52340 1.83 to 1.85 mm (0.0721 to 0.0728 in.) D3
      36266-52130 1.41 to 1.43 mm (0.0556 to 0.0562 in.) B2 36266-52350 1.85 to 1.87 mm (0.0729 to 0.0736 in.) D4
      36266-52140 1.43 to 1.45 mm (0.0563 to 0.0570 in.) B3 36266-52360 1.87 to 1.89 mm (0.0737 to 0.0744 in.) D5
      36266-52150 1.45 to 1.47 mm (0.0571 to 0.0578 in.) B4 36266-52370 1.89 to 1.91 mm (0.0745 to 0.0751 in.) D6
      36266-52160 1.47 to 1.49 mm (0.0579 to 0.0586 in.) B5 36266-52380 1.91 to 1.93 mm (0.0752 to 0.0759 in.) D7
      36266-52170 1.49 to 1.51 mm (0.0587 to 0.0594 in.) B6 36266-52390 1.93 to 1.95 mm (0.0760 to 0.0767 in.) D8
      36266-52180 1.51 to 1.53 mm (0.0595 to 0.0602 in.) B7 36266-52400 1.95 to 1.97 mm (0.0768 to 0.0775 in.) D9
      36266-52190 1.53 to 1.55 mm (0.0603 to 0.0610 in.) B8 36266-52410 1.97 to 1.99 mm (0.0776 to 0.0783 in.) E0
      36266-52200 1.55 to 1.57 mm (0.0611 to 0.0618 in.) B9 36266-52420 1.99 to 2.01 mm (0.0784 to 0.0791 in.) E1
      36266-52210 1.57 to 1.59 mm (0.0619 to 0.0625 in.) C0 36266-52430 2.01 to 2.03 mm (0.0792 to 0.0799 in.) E2
      36266-52220 1.59 to 1.61 mm (0.0626 to 0.0633 in.) C1 - - -
  15. ADJUST TOTAL PRELOAD 
    1. Install the double nut to the transfer output shaft stud bolt and set the torque wrench into place.

      HINT: 

      Adjust the double nut until the torque wrench is straight.

      GTY955560Courtesy of © TOYOTA, LICENSE AGREEMENT TMS1002
      *1 Nut
      *a Torque Wrench Fulcrum Length
    2. Using a torque wrench, measure the total preload (starting torque) with the teeth of the driven pinion and ring gear in contact.

      Total preload (starting torque)

      Item Specified Condition
      New bearing (with anti-rust oil) Driven pinion preload + 0.31 to 0.81 N.m (3.17 to 8.25 kgf/cm, 2.75 to 7.16 in.lbf)
      Reused bearing (when coated with gear oil) Driven pinion preload + 0.48 to 0.64 N.m (4.90 to 6.52 kgf/cm, 4.25 to 5.66 in.lbf)
      NOTE:

      Measure the preload after rotating the bearing several times in the forward and backward directions to make sure the bearing is operating correctly.

      HINT: 

      • When using a torque wrench after changing its effective length, determine the reading of the torque wrench.
        FORMULA T'=T X L2/(L1+L2)

        T' Reading of torque wrench (N.m (kgf/cm, ft.lbf))
        T Driven pinion preload (N.m (kgf/cm, ft.lbf))
        L1 Distance from center of transfer output shaft to center of stud bolt (cm (in.))
        L2 Length of torque wrench (cm (in.))
        GTY883823Courtesy of © TOYOTA, LICENSE AGREEMENT TMS1002
      • Distance from center of transfer output shaft to center of stud bolt (effective length of 33.9 mm) when using a torque wrench (effective length of 160 mm): 0.25 to 0.66 N.m (3 to 6 kgf/cm, 3 to 5 in.lbf)
      • Distance from center of transfer output shaft to center of stud bolt (effective length of 33.9 mm) when using a torque wrench (effective length of 160 mm): 0.39 to 0.52 N.m (4 to 5 kgf/cm, 4 to 4 in.lbf)
    3. If the result is not within the specified range, select a No. 2 transfer ring gear mounting case washer (for preload adjustment) from the table below and reinstall it to bring the result within the specified range.

      HINT: 

      • If the preload is small, select a thick washer for the No. 2 transfer ring gear mounting case washer (for preload adjustment).
      • If the preload is large, select a thin washer for the No. 2 transfer ring gear mounting case washer (for preload adjustment).

      No. 2 Transfer Ring Gear Mounting Case Washer (for preload adjustment)

      Part No. Thickness Identifying Mark Part No. Thickness Identifying Mark
      36266-52010 1.17 to 1.19 mm (0.0461 to 0.0468 in.) A0 36266-52230 1.61 to 1.63 mm (0.0634 to 0.0641 in.) C2
      36266-52020 1.19 to 1.21 mm (0.0469 to 0.0476 in.) A1 36266-52240 1.63 to 1.65 mm (0.0642 to 0.0649 in.) C3
      36266-52030 1.21 to 1.23 mm (0.0477 to 0.0484 in.) A2 36266-52250 1.65 to 1.67 mm (0.0650 to 0.0657 in.) C4
      36266-52040 1.23 to 1.25 mm (0.0485 to 0.0492 in.) A3 36266-52260 1.67 to 1.69 mm (0.0658 to 0.0665 in.) C5
      36266-52050 1.25 to 1.27 mm (0.0493 to 0.0499 in.) A4 36266-52270 1.69 to 1.71 mm (0.0666 to 0.0673 in.) C6
      36266-52060 1.27 to 1.29 mm (0.0500 to 0.0507 in.) A5 36266-52280 1.71 to 1.73 mm (0.0674 to 0.0681 in.) C7
      36266-52070 1.29 to 1.31 mm (0.0508 to 0.0515 in.) A6 36266-52290 1.73 to 1.75 mm (0.0682 to 0.0688 in.) C8
      36266-52080 1.31 to 1.33 mm (0.0516 to 0.0523 in.) A7 36266-52300 1.75 to 1.77 mm (0.0689 to 0.0696 in.) C9
      36266-52090 1.33 to 1.35 mm (0.0524 to 0.0531 in.) A8 36266-52310 1.77 to 1.79 mm (0.0697 to 0.0704 in.) D0
      36266-52100 1.35 to 1.37 mm (0.0532 to 0.0539 in.) A9 36266-52320 1.79 to 1.81 mm (0.0705 to 0.0712 in.) D1
      36266-52110 1.37 to 1.39 mm (0.0540 to 0.0547 in.) B0 36266-52330 1.81 to 1.83 mm (0.0713 to 0.0720 in.) D2
      36266-52120 1.39 to 1.41 mm (0.0548 to 0.0555 in.) B1 36266-52340 1.83 to 1.85 mm (0.0721 to 0.0728 in.) D3
      36266-52130 1.41 to 1.43 mm (0.0556 to 0.0562 in.) B2 36266-52350 1.85 to 1.87 mm (0.0729 to 0.0736 in.) D4
      36266-52140 1.43 to 1.45 mm (0.0563 to 0.0570 in.) B3 36266-52360 1.87 to 1.89 mm (0.0737 to 0.0744 in.) D5
      36266-52150 1.45 to 1.47 mm (0.0571 to 0.0578 in.) B4 36266-52370 1.89 to 1.91 mm (0.0745 to 0.0751 in.) D6
      36266-52160 1.47 to 1.49 mm (0.0579 to 0.0586 in.) B5 36266-52380 1.91 to 1.93 mm (0.0752 to 0.0759 in.) D7
      36266-52170 1.49 to 1.51 mm (0.0587 to 0.0594 in.) B6 36266-52390 1.93 to 1.95 mm (0.0760 to 0.0767 in.) D8
      36266-52180 1.51 to 1.53 mm (0.0595 to 0.0602 in.) B7 36266-52400 1.95 to 1.97 mm (0.0768 to 0.0775 in.) D9
      36266-52190 1.53 to 1.55 mm (0.0603 to 0.0610 in.) B8 36266-52410 1.97 to 1.99 mm (0.0776 to 0.0783 in.) E0
      36266-52200 1.55 to 1.57 mm (0.0611 to 0.0618 in.) B9 36266-52420 1.99 to 2.01 mm (0.0784 to 0.0791 in.) E1
      36266-52210 1.57 to 1.59 mm (0.0619 to 0.0625 in.) C0 36266-52430 2.01 to 2.03 mm (0.0792 to 0.0799 in.) E2
      36266-52220 1.59 to 1.61 mm (0.0626 to 0.0633 in.) C1 - - -
  16. ADJUST TOOTH CONTACT BETWEEN RING GEAR AND DRIVE PINION 
    1. Rotate the transfer output shaft sub-assembly several times in the forward and backward directions.
    2. Remove the transfer ring gear and check the tooth contact.
      GTY371195Courtesy of © TOYOTA, LICENSE AGREEMENT TMS1002
      *a Proper Contact *b Heel Contact
      *c Face Contact *d Select an adjusting washer that will shift the drive pinion closer to the ring gear (*b, *c)
      *e Toe Contact *f Flank Contact
      *g Select an adjusting washer that will shift the drive pinion away from to the ring gear (*e, *f) - -
      NOTE:
      • Check the tooth contact at 4 or more locations on the transfer ring gear.
      • When replacing washers (adjusting the backlash, preload or tooth contact pattern), reapply a coat of Prussian Blue.

      HINT: 

      The Prussian Blue pattern indicates the tooth contact points.

    3. In instances of face contact or flank contact, perform the following procedure.
      1. Move and adjust the transfer ring gear using the No. 2 transfer ring gear mounting case washer (for preload adjustment) and the No. 1 ring gear mounting case washer (for backlash adjustment).
    4. In instances of heel contact or toe contact, perform the following procedure.
      1. Select a transfer output shaft washer (for tooth contact adjustment) from the table below, and move and adjust the transfer driven pinion.

        Transfer Output Shaft Washer (for tooth contact adjustment)

        Part No. Thickness Identifying Mark Part No. Thickness Identifying Mark
        36275-52010 1.01 to 1.03 mm (0.0398 to 0.0405 in.) 01 36275-52150 1.29 to 1.31 mm (0.0508 to 0.0515 in.) 15
        36275-52020 1.03 to 1.05 mm (0.0406 to 0.0413 in.) 02 36275-52160 1.31 to 1.33 mm (0.0516 to 0.0523 in.) 16
        36275-52030 1.05 to 1.07 mm (0.0414 to 0.0421 in.) 03 36275-52170 1.33 to 1.35 mm (0.0524 to 0.0531 in.) 17
        36275-52040 1.07 to 1.09 mm (0.0422 to 0.0429 in.) 04 36275-52180 1.35 to 1.37 mm (0.0532 to 0.0539 in.) 18
        36275-52050 1.09 to 1.11 mm (0.0430 to 0.0437 in.) 05 36275-52190 1.37 to 1.39 mm (0.0540 to 0.0547 in.) 19
        36275-52060 1.11 to 1.13 mm (0.0438 to 0.0444 in.) 06 36275-52200 1.39 to 1.41 mm (0.0548 to 0.0555 in.) 20
        36275-52070 1.13 to 1.15 mm (0.0445 to 0.0452 in.) 07 36275-52210 1.41 to 1.43 mm (0.0556 to 0.0562 in.) 21
        36275-52080 1.15 to 1.17 mm (0.0453 to 0.0460 in.) 08 36275-52220 1.43 to 1.45 mm (0.0563 to 0.0570 in.) 22
        36275-52090 1.17 to 1.19 mm (0.0461 to 0.0468 in.) 09 36275-52230 1.45 to 1.47 mm (0.0571 to 0.0578 in.) 23
        36275-52100 1.19 to 1.21 mm (0.0469 to 0.0476 in.) 10 36275-52240 1.47 to 1.49 mm (0.0579 to 0.0586 in.) 24
        36275-52110 1.21 to 1.23 mm (0.0477 to 0.0484 in.) 11 36275-52250 1.49 to 1.51 mm (0.0587 to 0.0594 in.) 25
        36275-52120 1.23 to 1.25 mm (0.0485 to 0.0492 in.) 12 36275-52260 1.51 to 1.53 mm (0.0595 to 0.0602 in.) 26
        36275-52130 1.25 to 1.27 mm (0.0493 to 0.0499 in.) 13 36275-52270 1.53 to 1.55 mm (0.0603 to 0.0610 in.) 27
        36275-52140 1.27 to 1.29 mm (0.0500 to 0.0507 in.) 14 36275-52280 1.55 to 1.57 mm (0.0611 to 0.0618 in.) 28
    5. If the tooth contact has been adjusted, recheck the backlash, preload and tooth contact pattern.
  17. REMOVE NO. 1 TRANSFER CASE COVER 
    1. Remove the 8 bolts and No. 1 transfer case cover from the transfer case.
      GTY365932Courtesy of © TOYOTA, LICENSE AGREEMENT TMS1002
  18. REMOVE TRANSFER RING GEAR 
    1. Remove the transfer ring gear from the transfer case.
      GTY381940Courtesy of © TOYOTA, LICENSE AGREEMENT TMS1002
  19. REMOVE REAR TRANSFER OUTPUT SHAFT SUB-ASSEMBLY 
    GTY381939Courtesy of © TOYOTA, LICENSE AGREEMENT TMS1002
    1. Remove the 5 bolts and rear transfer output shaft sub-assembly from the transfer case.
  20. INSTALL TRANSFER CASE STRAIGHT PIN 
    1. Using a plastic-faced hammer, install straight pins to the locations shown in the illustration.
      GTY373887Courtesy of © TOYOTA, LICENSE AGREEMENT TMS1002

      Drive in depth (A)

      10.8 to 11.8 mm (0.426 to 0.464 in.)

      Drive in depth (B)

      6.5 to 7.5 mm (0.256 to 0.295 in.)

  21. INSTALL REAR TRANSFER OUTPUT SHAFT SUB-ASSEMBLY 
    1. Secure the rear transfer output shaft sub-assembly in a vise between aluminum plates.
      GTY365894Courtesy of © TOYOTA, LICENSE AGREEMENT TMS1002
      NOTE:

      Do not overtighten the vise.

    2. Using a chisel and hammer, stake the transfer gear nut.
      NOTE:

      Fully stake the transfer gear nut along the entire groove.

    3. Install the rear transfer output shaft sub-assembly to the transfer case with the 5 bolts.
      GTY381939Courtesy of © TOYOTA, LICENSE AGREEMENT TMS1002

      Torque: 38 N.m (387 kgf/cm, 28 ft.lbf) 

      NOTE:

      Do not scratch, twist or break the O-ring.

  22. INSTALL TRANSFER RING GEAR 
    1. Install the transfer ring gear to the transfer case.
      GTY381940Courtesy of © TOYOTA, LICENSE AGREEMENT TMS1002
  23. INSTALL NO. 1 TRANSFER CASE COVER 
    1. Using a scraper, clean the seal packing from the transfer case and No. 1 transfer case cover and remove any oil using a cleaning solvent.
      NOTE:

      Do not scratch the installation area.

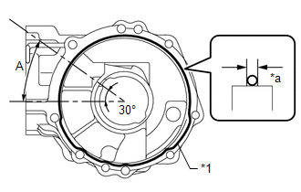
    2. Apply seal packing to the transfer case as shown in the illustration.
      GTY376495Courtesy of © TOYOTA, LICENSE AGREEMENT TMS1002
      *1 Seal Packing
      *a Seal Width 2.0 to 3.0 mm (0.0788 to 0.118 in.)

      Seal packing

      Toyota Genuine Seal Packing 1281, Three Bond 1281 or equivalent

      NOTE:
      • Install the cover to the case within 10 minutes of application.
      • Start the application from inside the area marked A.
      • Overlap the seal packing at least 10 mm (0.394 in.) at the beginning and the end of application.
    3. Install the No. 1 transfer case cover with the 8 bolts.
      GTY365932Courtesy of © TOYOTA, LICENSE AGREEMENT TMS1002

      Torque: 47 N.m (479 kgf/cm, 35 ft.lbf) 

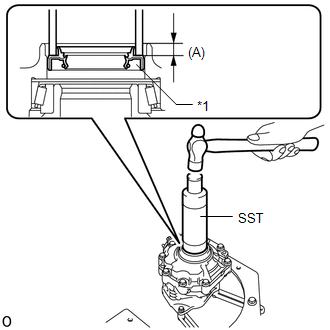
  24. INSTALL TRANSFER CASE OIL SEAL 
    1. Coat the lip of a new transfer case oil seal with MP grease.
    2. Using SST and a hammer, tap in a new transfer case oil seal as shown in the illustration.
      • SST: 09316-60011 
        1. 09316-00011
      GTY383592Courtesy of © TOYOTA, LICENSE AGREEMENT TMS1002
      *1 Transfer Case Oil Seal

      Drive in depth (A)

      9.5 to 10.5 mm (0.375 to 0.413 in.)

      NOTE:
      • Tap the transfer case oil seal uniformly so that the transfer case oil seal is straight.
      • Do not tap the transfer case oil seal in too far.
  25. INSTALL TRANSFER CASE OIL SEAL RH 
    1. Coat the lip of a new transfer case oil seal RH with MP grease.
    2. Using SST and a hammer, tap in a new transfer case oil seal RH as shown in the illustration.
      • SST: 09316-60011 
        1. 09316-00011

      Drive in depth (A)

      7.5 to 8.5 mm (0.296 to 0.334 in.)

      GTY516147Courtesy of © TOYOTA, LICENSE AGREEMENT TMS1002
      *1 Transfer Case Oil Seal RH
      NOTE:
      • Tap the transfer case oil seal RH uniformly so that the transfer case oil seal RH is straight.
      • Do not tap the transfer case oil seal RH in too far.
  26. INSTALL TRANSFER CASE BREATHER PLUG 
    GTY530942Courtesy of © TOYOTA, LICENSE AGREEMENT TMS1002
    1. Using SST, tap in a new transfer case breather plug until it meets the transfer case.
      • SST: 09612-10093 
        1. 09612-10061
  27. INSTALL NO. 2 TRANSFER CASE PLUG 
    GTY380674Courtesy of © TOYOTA, LICENSE AGREEMENT TMS1002
    1. Using a 10 mm socket hexagon wrench, install a new gasket and the No. 2 transfer case plug (filler plug).

      Torque: 39 N.m (398 kgf/cm, 29 ft.lbf) 

  28. INSTALL TRANSFER DRAIN PLUG 
    GTY380676Courtesy of © TOYOTA, LICENSE AGREEMENT TMS1002
    1. Using a 10 mm socket hexagon wrench, install a new gasket and the transfer drain plug.

      Torque: 39 N.m (398 kgf/cm, 29 ft.lbf) 

  29. INSTALL NO. 1 TRANSFER CASE PLUG 
    1. Install a new gasket and the No. 1 transfer case plug.

      Torque: 49 N.m (500 kgf/cm, 36 ft.lbf) 

      GTY365921Courtesy of © TOYOTA, LICENSE AGREEMENT TMS1002
  30. REMOVE TRANSFER ASSEMBLY 
    1. Remove the transfer assembly from the overhaul attachment.
      GTY380666Courtesy of © TOYOTA, LICENSE AGREEMENT TMS1002
  31. INSTALL TRANSFER AND TRANSAXLE SETTING STUD BOLT 
    1. Clean the bolt holes.
    2. Using 2 nuts, install the 4 stud bolts in the locations shown in the illustration.
      GTY453581Courtesy of © TOYOTA, LICENSE AGREEMENT TMS1002
      *a Transfer Side
      *b Sealant

      Torque: 39.2 N.m (400 kgf/cm, 29 ft.lbf) 

      NOTE:

      Install the shorter threaded part of each stud bolt to the transfer side.