LEMON Manuals: Even more car manuals for everyone: 1960-2025
Home >> Lexus >> 2020 >> ES 350 Luxury >> Repair and Diagnosis >> External Pages >> Different car >> Section 95 (Dynamic Torque Control AWD System - Diagnostics - Introduction) >> Dynamic Torque Control AWD System >> System Diagram [08/2020 - ] >> System Diagram [08/2020 - ]
April 5, 2026: LEMON Manuals is launched! Read the announcement.

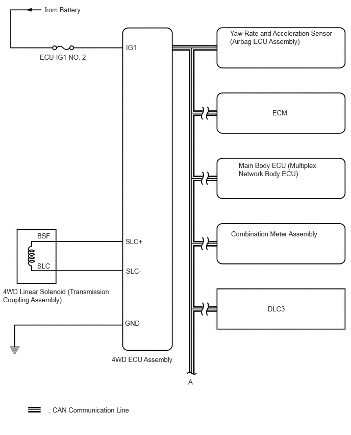
System Diagram [08/2020 - ]

WARNING: This page is about a different car, the 2024 Lexus ES 250, 2023 Lexus ES 250, 2022 Lexus ES 250, and 2021 Lexus ES 250. However, it is still accessible from the selected car via links, so may be relevant.
GTY957572Courtesy of © TOYOTA, LICENSE AGREEMENT TMS1002
GTY957635Courtesy of © TOYOTA, LICENSE AGREEMENT TMS1002