LEMON Manuals: Even more car manuals for everyone: 1960-2025
Home >> Lexus >> 2020 >> UX 200 F Sport >> Repair and Diagnosis (Single Page) >> External Pages >> Different car >> Section 5 (Smart Access System W/ Push-Button Start (Start Function) (Diagnostics - Introduction) (1 Of 2) (Hybrid)) >> SMART ACCESS SYSTEM WITH PUSH-BUTTON START (for Start Function, HV Model) >> System Diagram [08/2021 - 07/2022] >> System Diagram [08/2021 - 07/2022]
April 5, 2026: LEMON Manuals is launched! Read the announcement.

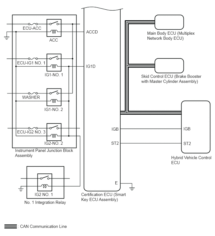
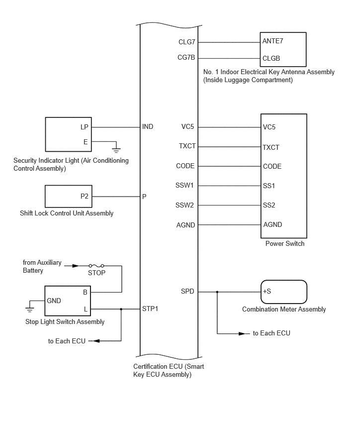
System Diagram [08/2021 - 07/2022]

WARNING: This page does not describe the selected car, but rather 6 other vehicles, including the 2024 Lexus UX 250h, 2023 Lexus UX 250h, 2022 Lexus UX 250h, 2021 Lexus UX 250h, and 2020 Lexus UX 250h. However, it is still accessible from the selected car via links, so may be relevant.
  1. SMART ACCESS SYSTEM WITH PUSH-BUTTON START (for Start Function, HV Model) 
    GTY1087533Courtesy of © TOYOTA, LICENSE AGREEMENT TMS1002
    GTY1087722Courtesy of © TOYOTA, LICENSE AGREEMENT TMS1002
    GTY838260Courtesy of © TOYOTA, LICENSE AGREEMENT TMS1002
  2. SMART ACCESS SYSTEM WITH PUSH-BUTTON START (for Entry Function, HV Model) 

    Refer to SYSTEM DIAGRAM [08/2021 - 07/2022]