LEMON Manuals: Even more car manuals for everyone: 1960-2025
Home >> Lexus >> 2020 >> UX 250h Base >> Repair and Diagnosis >> Hybrid/Electric Powertrain >> Testing and Diagnosis >> Motor Generator Control System (Diagnostics - Introduction) >> Motor Generator Control System >> System Diagram [10/2018 - ] >> System Diagram [10/2018 - ]
April 5, 2026: LEMON Manuals is launched! Read the announcement.

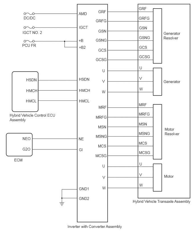
System Diagram [10/2018 - ]

GTY806137Courtesy of © TOYOTA, LICENSE AGREEMENT TMS1002