LEMON Manuals: Even more car manuals for everyone: 1960-2025
Home >> Lexus >> 2021 >> IS 350 RWD >> Repair and Diagnosis >> External Pages >> Different variant/trim >> Section 2 (Transfer Case - Service Information) >> Transfer Assembly >> Disassembly [04/2013 - ] >> Procedure
April 5, 2026: LEMON Manuals is launched! Read the announcement.

Disassembly [04/2013 - ]: Procedure

WARNING: This page is about a different variant/trim than selected.
  1. REMOVE TRANSFER OIL PAN SUB-ASSEMBLY 
    1. Remove the 9 bolts.
      GTY462198Courtesy of © TOYOTA, LICENSE AGREEMENT TMS1002
    2. Insert the blade of an oil pan seal cutter between the transfer oil pan sub-assembly and transfer case sub-assembly. Cut through the sealer and remove the transfer oil pan sub-assembly.
      GTY418312Courtesy of © TOYOTA, LICENSE AGREEMENT TMS1002
      NOTE:

      Do not damage the contact surface of the transfer oil pan sub-assembly.

    3. Remove the transfer oil cleaner magnet from the transfer oil pan sub-assembly.
      NOTE:
      • Clean the inside of the transfer oil pan sub-assembly thoroughly, removing all metal shavings, sludge and any other foreign objects.
      • Remove any metal shavings from the transfer oil cleaner magnet.
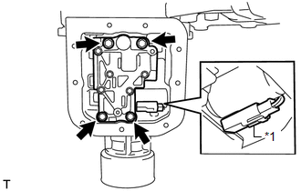
  2. REMOVE TRANSFER CONTROL VALVE BODY ASSEMBLY 
    1. Remove the 4 bolts and transfer control valve body assembly.
    2. Disconnect the connector from the transfer control solenoid assembly.
      GTY459220Courtesy of © TOYOTA, LICENSE AGREEMENT TMS1002
      *1 Connector
  3. REMOVE TRANSFER CONTROL SOLENOID ASSEMBLY 

    See step  9 [04/2013 - 08/2015], or see step  9 [08/2015 - ]

  4. REMOVE TRANSFER TRANSMISSION WIRE 
    1. Remove the bolt and transfer transmission wire.
      GTY462191Courtesy of © TOYOTA, LICENSE AGREEMENT TMS1002
  5. REMOVE TRANSFER EXTENSION HOUSING DUST DEFLECTOR 
    1. Using SST, remove the transfer extension housing dust deflector.
      GTY460115Courtesy of © TOYOTA, LICENSE AGREEMENT TMS1002
      *a Turn
      *b Hold
      • SST: 09950-40011 
        1. 09951-04010
        2. 09952-04010
        3. 09953-04020
        4. 09954-04010
        5. 09955-04051
        6. 09958-04011
      NOTE:

      Apply molybdenum grease to the threads and tip of SST center bolt before use.

  6. REMOVE TRANSFER CASE SUB-ASSEMBLY 
    1. Remove the 8 bolts and clamp.
      GTY460041Courtesy of © TOYOTA, LICENSE AGREEMENT TMS1002
      *1 Clamp
    2. Using a plastic-faced hammer, tap the transfer case sub-assembly to remove it.
      GTY101647Courtesy of © TOYOTA, LICENSE AGREEMENT TMS1002
    3. Remove the bolt and clamp.
      GTY469866Courtesy of © TOYOTA, LICENSE AGREEMENT TMS1002
      *1 Clamp
  7. REMOVE TRANSFER REAR OUTPUT SHAFT ASSEMBLY 
    1. Remove the transfer rear output shaft assembly.
      GTY462188Courtesy of © TOYOTA, LICENSE AGREEMENT TMS1002
  8. REMOVE FLANGE YOKE ASSEMBLY 
    1. Using SST and a hammer, release the staked part of the flange yoke nut.
      GTY457901Courtesy of © TOYOTA, LICENSE AGREEMENT TMS1002
      • SST: 09930-00010 
      NOTE:
      • Be sure to use SST with the tapered surface facing the shaft.
      • Do not grind the tip of SST with a grinder, etc.
      • Completely loosen the staked part of the flange yoke nut when removing it.
      • Do not damage the threads of the transfer drive sprocket.
    2. Install the 30 mm socket wrench, extension bar and SST to the flange yoke assembly in the order shown in the illustration.
      GTY467437Courtesy of © TOYOTA, LICENSE AGREEMENT TMS1002
      *1 Flange Yoke Assembly
      • SST: 09213-54015 
        1. 91651-60855
      NOTE:

      When securing SST and flange yoke assembly, it in recommended to use M8 X P1.25 bolts with a length of approximately 55 mm.

    3. Using SST, hold the flange yoke assembly.
      GTY466335Courtesy of © TOYOTA, LICENSE AGREEMENT TMS1002
      *a Turn
      *b Hold
      • SST: 09330-00021 
    4. Using a 30 mm socket wrench, remove the flange yoke nut.
    5. Remove the flange yoke assembly.
  9. REMOVE TRANSFER REAR CHAIN CASE ASSEMBLY 
    1. Remove the 10 bolts.
      GTY106751Courtesy of © TOYOTA, LICENSE AGREEMENT TMS1002
    2. Tap the 3 protrusions of the transfer rear chain case assembly gently with a brass bar and hammer to loosen, and remove it.
      GTY402897Courtesy of © TOYOTA, LICENSE AGREEMENT TMS1002
      NOTE:

      Do not damage the transfer rear chain case assembly.

  10. REMOVE TRANSFER FRONT DRIVE CHAIN, TRANSFER DRIVE SPROCKET SUB-ASSEMBLY AND TRANSFER FRONT DRIVE CLUTCH SLEEVE SUB-ASSEMBLY 
    1. Remove the transfer front drive chain, transfer drive sprocket sub-assembly and transfer front drive clutch sleeve sub-assembly.
      GTY462193Courtesy of © TOYOTA, LICENSE AGREEMENT TMS1002
    2. Remove the transfer front drive chain from the transfer drive sprocket sub-assembly and transfer front drive clutch sleeve sub-assembly.
  11. REMOVE TRANSFER FRONT CHAIN CASE 
    1. Remove the 6 bolts and transfer front chain case.
      GTY106755Courtesy of © TOYOTA, LICENSE AGREEMENT TMS1002

      HINT: 

      If necessary, tap the transfer front chain case with a plastic-faced hammer to loosen and remove it.

  12. REMOVE TRANSFER CASE OIL SEAL 
    1. Using a screwdriver, pry out the transfer case oil seal from the transfer case sub-assembly.
      GTY458162Courtesy of © TOYOTA, LICENSE AGREEMENT TMS1002
      *1 Protective Tape

      HINT: 

      Tape the screwdriver tip before use.

  13. REMOVE TRANSFER CASE BEARING 
    1. Using SST, remove the transfer case bearing from the transfer case sub-assembly.
      GTY463969Courtesy of © TOYOTA, LICENSE AGREEMENT TMS1002
      • SST: 09308-00010 
  14. REMOVE TRANSFER BAFFLE VALVE SUB-ASSEMBLY 
    1. Remove the bolt and transfer baffle valve sub-assembly from the transfer rear chain case assembly.
      GTY462324Courtesy of © TOYOTA, LICENSE AGREEMENT TMS1002
  15. REMOVE TRANSFER CHAIN CASE GOVERNOR APPLY GASKET 
    1. Remove the screw, O-ring, and 2 transfer chain case governor apply gaskets from the transfer front chain case.
      GTY469205Courtesy of © TOYOTA, LICENSE AGREEMENT TMS1002
      *A for Front Side
      *B for Rear Side
      *1 Transfer Chain Case Governor Apply Gasket
      *2 O-ring
      *3 Screw
    2. Remove the 2 transfer chain case governor apply gaskets from the transfer rear chain case assembly.
      GTY466478Courtesy of © TOYOTA, LICENSE AGREEMENT TMS1002
  16. REMOVE TRANSFER CHAIN CASE OIL SEAL 
    1. Using a screwdriver, pry out the transfer chain case oil seal from the transfer front chain case.
      GTY456355Courtesy of © TOYOTA, LICENSE AGREEMENT TMS1002
      *1 Protective Tape

      HINT: 

      Tape the screwdriver tip before use.

  17. REMOVE TRANSFER REAR OUTPUT SHAFT ASSEMBLY AND CENTER DIFFERENTIAL CARRIER ASSEMBLY 
    1. Remove the transfer rear output shaft assembly and center differential carrier assembly from the transfer direct clutch drum sub-assembly.
      GTY459035Courtesy of © TOYOTA, LICENSE AGREEMENT TMS1002
      *1 Transfer Rear Output Shaft Assembly
      *2 Center Differential Carrier Assembly
      *3 Transfer Direct Clutch Drum Sub-assembly
  18. REMOVE TRANSFER REAR OUTPUT SHAFT BEARING 
    1. Remove the transfer rear output shaft bearing from the center differential carrier assembly.
      GTY402033Courtesy of © TOYOTA, LICENSE AGREEMENT TMS1002
  19. REMOVE CENTER DIFFERENTIAL CLUTCH DISC SET 
    1. Using a screwdriver, remove the transfer direct clutch flange snap ring from the transfer direct clutch drum sub-assembly.
      GTY466202Courtesy of © TOYOTA, LICENSE AGREEMENT TMS1002
      *1 Protective Tape

      HINT: 

      Tape the screwdriver tip before use.

    2. Remove the 2 center differential clutch disc flanges and center differential clutch disc set from the transfer direct clutch drum sub-assembly.
      GTY459714Courtesy of © TOYOTA, LICENSE AGREEMENT TMS1002
      *1 Center differential clutch disc flange (No. 1)
      *2 Center differential clutch disc set (Discs)
      *3 Center differential clutch disc set (Plates)
      *4 Center differential clutch disc flange (No. 2)
  20. REMOVE CENTER DIFFERENTIAL CLUTCH PRESSURE BALANCER 
    1. Place SST on the center differential clutch pressure balancer and compress the transfer direct clutch return spring assembly with a press.
      GTY457387Courtesy of © TOYOTA, LICENSE AGREEMENT TMS1002
      *1 Transfer Direct Clutch Return Spring Snap Ring
      • SST: 09350-30020 
        1. 09350-07040
    2. Using SST, remove the transfer direct clutch return spring snap ring.
      • SST: 09350-30020 
        1. 09350-07040
        2. 09350-07070
    3. Remove the center differential clutch pressure balancer from the transfer direct clutch drum sub-assembly.
      GTY102886Courtesy of © TOYOTA, LICENSE AGREEMENT TMS1002
  21. REMOVE TRANSFER DIRECT CLUTCH RETURN SPRING ASSEMBLY 
    1. Remove the transfer direct clutch return spring assembly from the transfer direct clutch drum sub-assembly.
      GTY463420Courtesy of © TOYOTA, LICENSE AGREEMENT TMS1002
  22. REMOVE CENTER DIFFERENTIAL CLUTCH PISTON 
    1. Install the transfer direct clutch drum sub-assembly to the transfer center support assembly.
      GTY463126Courtesy of © TOYOTA, LICENSE AGREEMENT TMS1002
      *1 Transfer Direct Clutch Drum Sub-assembly
      *2 Transfer Center Support Assembly
    2. While pushing down evenly on the center differential clutch piston, apply air (200 kPa, 2.0 kgf/cm2 , 19 psi) at the oil hole on the transfer rear chain case assembly as shown in the illustration to remove the center differential clutch piston from the transfer direct clutch drum sub-assembly.
      GTY467085Courtesy of © TOYOTA, LICENSE AGREEMENT TMS1002
      *1 Center Differential Clutch Piston
      *2 Oil Hole
    3. Remove the transfer direct clutch drum sub-assembly from the transfer center support assembly.
  23. REMOVE TRANSFER DIRECT CLUTCH PISTON O-RING 
    1. Remove the 2 transfer direct clutch piston O-rings from the center differential clutch piston.
      GTY459796Courtesy of © TOYOTA, LICENSE AGREEMENT TMS1002
      *1 Transfer Direct Clutch Piston O-ring
  24. REMOVE TRANSFER CENTER SUPPORT ASSEMBLY 
    1. Remove the 5 bolts and transfer center support assembly.
      GTY470809Courtesy of © TOYOTA, LICENSE AGREEMENT TMS1002
    2. Remove the 2 screws and 2 O-rings from the transfer rear chain case assembly.
  25. REMOVE TRANSFER CENTER SUPPORT SEAL RING 
    1. Remove the 2 transfer center support seal rings from the transfer center support assembly.
      GTY467515Courtesy of © TOYOTA, LICENSE AGREEMENT TMS1002
      *1 Transfer Center Support Seal Ring
  26. REMOVE TRANSFER DRIVEN SPROCKET BEARING 
    1. Using SST and a press, remove the transfer driven sprocket bearing from the transfer driven sprocket.
      GTY467019Courtesy of © TOYOTA, LICENSE AGREEMENT TMS1002
      *1 Transfer Driven Sprocket Bearing
      • SST: 09950-00020 
    2. Using SST and a press, remove the transfer driven sprocket bearing from the transfer driven sprocket.
      GTY464549Courtesy of © TOYOTA, LICENSE AGREEMENT TMS1002
      *1 Transfer Driven Sprocket Bearing
      • SST: 09950-00020 
      • SST: 09950-60010 
        1. 09951-00530
      • SST: 09950-70010 
        1. 09951-07100
  27. REMOVE TRANSFER DRIVEN SPROCKET BEARING 
    1. Using SST and a press, remove the transfer drive sprocket bearing from the transfer drive sprocket.
      GTY457193Courtesy of © TOYOTA, LICENSE AGREEMENT TMS1002
      *1 Transfer Drive Sprocket Bearing
      • SST: 09950-00020 
      • SST: 09950-60010 
        1. 09951-00480
      • SST: 09950-70010 
        1. 09951-07100
    2. Using SST and a press, remove the transfer drive sprocket bearing from the transfer drive sprocket.
      GTY466733Courtesy of © TOYOTA, LICENSE AGREEMENT TMS1002
      *1 Transfer Drive Sprocket Bearing
      • SST: 09950-00020 
      • SST: 09950-60010 
        1. 09951-00530
      • SST: 09950-70010 
        1. 09951-07100