LEMON Manuals: Even more car manuals for everyone: 1960-2025
Home >> Lexus >> 2021 >> IS 350 RWD >> Repair and Diagnosis >> External Pages >> Different variant/trim >> Section 2 (Transfer Case - Service Information) >> Transfer Assembly >> Reassembly [04/2013 - ] >> Procedure
April 5, 2026: LEMON Manuals is launched! Read the announcement.

Reassembly [04/2013 - ]: Procedure

WARNING: This page is about a different variant/trim than selected.
  1. INSTALL TRANSFER DRIVE SPROCKET BEARING 
    1. Using SST and a press, install a new transfer drive sprocket bearing until its surface is flush with the transfer drive sprocket sub-assembly.
      GTY469096Courtesy of © TOYOTA, LICENSE AGREEMENT TMS1002
      *1 Transfer Drive Sprocket Bearing
      • SST: 09316-20011 
      • SST: 09950-60010 
        1. 09951-00640
      • SST: 09950-70010 
        1. 09951-07100
    2. Using SST and a press, install a new transfer drive sprocket bearing until its surface is flush with the transfer drive sprocket sub-assembly.
      GTY457015Courtesy of © TOYOTA, LICENSE AGREEMENT TMS1002
      *1 Transfer Drive Sprocket Bearing
      *a Shield Facing Downward
      • SST: 09316-60011 
        1. 09316-00011

      Install the transfer drive sprocket bearing with the shield facing downward.

  2. INSTALL TRANSFER DRIVEN SPROCKET BEARING 
    1. Using SST and a press, install a new transfer driven sprocket bearing until its surface is flush with the transfer front drive clutch sleeve sub-assembly.
      GTY458726Courtesy of © TOYOTA, LICENSE AGREEMENT TMS1002
      *1 Transfer Driven Sprocket Bearing
      • SST: 09316-20011 
      • SST: 09950-60010 
        1. 09951-00640
      • SST: 09950-70010 
        1. 09951-07100
    2. Using SST and a press, install a new transfer driven sprocket bearing until its surface is flush with the transfer front drive clutch sleeve sub-assembly.
      GTY468004Courtesy of © TOYOTA, LICENSE AGREEMENT TMS1002
      *1 Transfer Driven Sprocket Bearing
      • SST: 09316-60011 
        1. 09316-00011
        2. 09316-00041
  3. INSTALL TRANSFER CENTER SUPPORT SEAL RING 
    1. Coat the 2 transfer center support seal rings with ATF.
      GTY106927Courtesy of © TOYOTA, LICENSE AGREEMENT TMS1002

      ATF

      Toyota Genuine ATF WS

    2. Compress the 2 transfer center support seal rings as shown in the illustration and install them into the grooves on the transfer center support assembly.
      NOTE:
      • Do not expand the ring ends excessively.
      • If any ring is damaged or deformed, replace it with a new one.
  4. INSTALL TRANSFER CENTER SUPPORT ASSEMBLY 
    1. Install the transfer center support assembly to the transfer rear chain case assembly with the 5 bolts.
      GTY470809Courtesy of © TOYOTA, LICENSE AGREEMENT TMS1002

      Torque: 25.5 N.m (260 kgf/cm, 19 ft.lbf) 

    2. Coat 2 new O-rings with ATF.

      ATF

      Toyota Genuine ATF WS

    3. Install the 2 O-rings to the screws.
    4. Install the 2 screws to the transfer rear chain case assembly.

      Torque: 7.4 N.m (75 kgf/cm, 65 in.lbf) 

  5. INSTALL TRANSFER DIRECT CLUTCH PISTON O-RING 
    1. Coat 2 new transfer direct clutch piston O-rings with ATF.
      GTY459795Courtesy of © TOYOTA, LICENSE AGREEMENT TMS1002
      *1 Transfer Direct Clutch Piston O-ring

      ATF

      Toyota Genuine ATF WS

    2. Install the 2 transfer direct clutch piston O-rings to the center differential clutch piston.
      O-RING SIZE:

      Installation position Inner diameter
      mm (in.)
      Thickness
      mm (in.)
      Inner 56.45 to 57.45
      (2.223 to 2.261)
      2.54 to 2.70
      (0.100 to 0.106)
      Outer 116.20 to 117.80
      (4.575 to 4.637)
      3.0 to 3.2
      (0.119 to 0.125)
  6. INSTALL CENTER DIFFERENTIAL CLUTCH PISTON 
    1. Install the center differential clutch piston to the transfer direct clutch drum sub-assembly.
      GTY102977Courtesy of © TOYOTA, LICENSE AGREEMENT TMS1002
      NOTE:

      Do not damage the transfer direct clutch piston O-ring.

  7. INSTALL TRANSFER DIRECT CLUTCH RETURN SPRING ASSEMBLY 
    1. Install the transfer direct clutch return spring assembly to the transfer direct clutch drum sub-assembly.
      GTY463420Courtesy of © TOYOTA, LICENSE AGREEMENT TMS1002
  8. INSTALL CENTER DIFFERENTIAL CLUTCH PRESSURE BALANCER 
    1. Coat the rubber on the center differential clutch pressure balancer with ATF.
      GTY458854Courtesy of © TOYOTA, LICENSE AGREEMENT TMS1002
      *a Rubber

      ATF

      Toyota Genuine ATF WS

    2. Install the center differential clutch pressure balancer to the transfer direct clutch drum sub-assembly.
    3. Place SST on the center differential clutch pressure balancer, and compress the transfer direct clutch return spring assembly with a press.
      GTY457388Courtesy of © TOYOTA, LICENSE AGREEMENT TMS1002
      *1 Transfer Direct Clutch Return Spring Snap Ring
      • SST: 09350-30020 
        1. 09350-07040
    4. Using SST, install the transfer direct clutch return spring snap ring.
      • SST: 09350-30020 
        1. 09350-07040
        2. 09350-07070
  9. INSTALL CENTER DIFFERENTIAL CLUTCH DISC SET 
    1. Install the 2 center differential clutch disc flanges and center differential clutch disc set to the transfer direct clutch drum sub-assembly.
      GTY462996Courtesy of © TOYOTA, LICENSE AGREEMENT TMS1002
      *1 Center Differential Clutch Disc Flange (No. 1)
      *2 Center Differential Clutch Disc Set (Discs)
      *3 Center Differential Clutch Disc Set (Plates)
      *4 Center Differential Clutch Disc Flange (No. 2)

      Install in the following order

      *1 - *2 - *3 - *2 - *3 - *2 - *3 - *2 -*3 - *2 - *4

      NOTE:

      Before assembling new discs, soak them in ATF for at least 15 minutes.

      ATF

      Toyota Genuine ATF WS

    2. Using a screwdriver with its tip taped, install the transfer direct clutch flange snap ring to the transfer direct clutch drum sub-assembly.
      GTY466203Courtesy of © TOYOTA, LICENSE AGREEMENT TMS1002
      *1 Protective Tape
    3. Install the transfer direct clutch drum sub-assembly to the transfer center support assembly.
      GTY463126Courtesy of © TOYOTA, LICENSE AGREEMENT TMS1002
      *1 Transfer Direct Clutch Drum Sub-assembly
      *2 Transfer Center Support Assembly
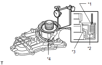
    4. Set the dial indicator perpendicular to the center differential clutch disc flange (No. 1).
      GTY459118Courtesy of © TOYOTA, LICENSE AGREEMENT TMS1002
      *1 Center Differential Clutch Disc Flange (No. 1)
      *2 Center Differential Clutch Pressure Balancer
      *3 Center Differential Clutch Piston
      *4 Oil Hole
    5. Apply air (200 kPa, 2.0 kgf/cm2 , 19 psi) at the oil hole as shown in the illustration. Measure the pack clearance.

      Standard Clearance

      0.40 to 0.80 mm (0.0158 to 0.0314 in.)

      HINT: 

      • Check that the center differential clutch piston moves smoothly.
      • Perform the measurement at 2 or 3 points and take the average.
    6. If the clearance is not within the specified range, select another center differential clutch disc flange (No. 1).
      GTY469890Courtesy of © TOYOTA, LICENSE AGREEMENT TMS1002
      *1 Center Differential Clutch Disc Flange (No. 1)
      FLANGE THICKNESS:

      Mark Thickness mm (in.)
      90 2.95 to 3.05 (0.117 to 0.120)
      91 3.15 to 3.25 (0.125 to 0.127)
      92 3.35 to 3.45 (0.132 to 0.135)
    7. Remove the transfer direct clutch drum sub-assembly from the transfer center support assembly.
      GTY463126Courtesy of © TOYOTA, LICENSE AGREEMENT TMS1002
      *1 Transfer Direct Clutch Drum Sub-assembly
      *2 Transfer Center Support Assembly
  10. INSTALL TRANSFER REAR OUTPUT SHAFT BEARING 
    1. Attach the 2 guides to install the transfer rear output shaft bearing to the center differential carrier assembly.
      GTY399080Courtesy of © TOYOTA, LICENSE AGREEMENT TMS1002
  11. INSTALL TRANSFER REAR OUTPUT SHAFT ASSEMBLY AND CENTER DIFFERENTIAL CARRIER ASSEMBLY 
    1. Install the transfer rear output shaft assembly and center differential carrier assembly to the transfer direct clutch drum sub-assembly.
      GTY459035Courtesy of © TOYOTA, LICENSE AGREEMENT TMS1002
      *1 Transfer Rear Output Shaft Assembly
      *2 Center Differential Carrier Assembly
      *3 Transfer Direct Clutch Drum Sub-assembly
  12. INSTALL TRANSFER CHAIN CASE OIL SEAL 
    1. Using SST and a hammer, install a new transfer chain case oil seal.
      GTY466280Courtesy of © TOYOTA, LICENSE AGREEMENT TMS1002
      *1 Transfer Chain Case Oil Seal
      *a Oil Seal Installation Depth
      • SST: 09316-60011 
        1. 09316-00011
        2. 09316-00071

      Standard depth

      5.6 to 6.2 mm (0.221 to 0.244 in.)

    2. Apply MP grease to the transfer chain case oil seal lip.
  13. INSTALL TRANSFER CHAIN CASE GOVERNOR APPLY GASKET 
    1. Coat 2 new transfer chain case governor apply gaskets with ATF.
      GTY466478Courtesy of © TOYOTA, LICENSE AGREEMENT TMS1002

      ATF

      Toyota Genuine ATF WS

    2. Install the 2 transfer chain case governor apply gaskets to the transfer rear chain case assembly.
    3. Coat a new O-ring and 2 new transfer chain case governor apply gaskets with ATF.
      GTY459232Courtesy of © TOYOTA, LICENSE AGREEMENT TMS1002
      *A for Front Side
      *B for Rear Side
      *1 Transfer Chain Case Governor Apply Gasket
      *2 O-ring
      *3 Screw

      ATF

      Toyota Genuine ATF WS

    4. Install the O-ring to the screw.
    5. Install the 2 transfer chain case governor apply gaskets and screw to the transfer front chain case.

      Torque: 7.4 N.m (75 kgf/cm, 65 in.lbf) 

  14. INSTALL TRANSFER BAFFLE VALVE SUB-ASSEMBLY 
    1. Install the transfer baffle valve sub-assembly to the transfer rear chain case assembly with the bolt.
      GTY462324Courtesy of © TOYOTA, LICENSE AGREEMENT TMS1002

      Torque: 9.8 N.m (100 kgf/cm, 87 in.lbf) 

  15. INSTALL TRANSFER CASE BEARING 
    1. Using SST and a press, install a new transfer case bearing to the transfer case sub-assembly.
      GTY464248Courtesy of © TOYOTA, LICENSE AGREEMENT TMS1002
      *1 Transfer Case Bearing
      *a Bearing Installation Depth
      • SST: 09950-60020 
        1. 09951-00890
      • SST: 09950-70010 
        1. 09951-07150

      Standard depth

      94.61 to 94.86 mm (3.725 to 3.734 in.)

  16. INSTALL TRANSFER CASE OIL SEAL 
    1. Using SST and a hammer, install a new transfer case oil seal.
      GTY468049Courtesy of © TOYOTA, LICENSE AGREEMENT TMS1002
      *1 Transfer Case Oil Seal
      *a Oil Seal Installation Depth
      • SST: 09325-40010 

      Standard depth

      2.3 to 2.7 mm (0.091 to 0.106 in.)

    2. Apply MP grease to the transfer case oil seal lip.
  17. INSTALL TRANSFER EXTENSION HOUSING DUST DEFLECTOR 
    1. Using SST and a press, install a new transfer extension housing dust deflector until its surface is flush with the transfer case sub-assembly.
      GTY456579Courtesy of © TOYOTA, LICENSE AGREEMENT TMS1002
      • SST: 09950-60020 
        1. 09951-00910
      • SST: 09950-70010 
        1. 09951-07150
  18. INSTALL TRANSFER FRONT CHAIN CASE 
    1. Clean the threads of the bolts and the transfer front chain case with non-residue solvent.
      GTY460582Courtesy of © TOYOTA, LICENSE AGREEMENT TMS1002
      *1 Seal Packing
      *a Seal Width 1.0 to 1.5 mm (0.04 to 0.06 in.)
    2. Apply seal packing 1281 to the transfer front chain case as shown in the illustration.

      Seal packing

      Toyota Genuine Seal Packing 1281, Three Bond 1281 or equivalent

      NOTE:

      Reassemble the parts within 5 minutes of applying fresh FIPG material. Otherwise, the packing (FIPG) material must be removed and reapplied.

    3. Temporarily install the 6 bolts in several steps, and then tighten them to the specified torque.
      Fig 1: Transfer Front Chain Case Tightening Sequence
      GTY463585Courtesy of © TOYOTA, LICENSE AGREEMENT TMS1002

      Torque: 33.9 N.m (346 kgf/cm, 25 ft.lbf) 

      HINT: 

      Bolt length: 

      • Bolt A: 57 mm (2.244 in.)
      • Bolt B: 74 mm (2.913 in.)
      • Other Bolts: 45 mm (1.771 in.)
  19. INSTALL TRANSFER FRONT DRIVE CHAIN, TRANSFER DRIVE SPROCKET SUB-ASSEMBLY AND TRANSFER FRONT DRIVE CLUTCH SLEEVE SUB-ASSEMBLY 
    1. Install the transfer front drive chain to the transfer drive sprocket sub-assembly and transfer front drive clutch sleeve sub-assembly.
    2. Install the transfer front drive chain, transfer drive sprocket sub-assembly and transfer front drive clutch sleeve sub-assembly.
      GTY462193Courtesy of © TOYOTA, LICENSE AGREEMENT TMS1002
  20. INSTALL TRANSFER REAR CHAIN CASE ASSEMBLY 
    1. Clean the threads of the bolts and the transfer rear chain case assembly with non-residue solvent.
      GTY464427Courtesy of © TOYOTA, LICENSE AGREEMENT TMS1002
      *1 Seal Packing
      *a Seal Width 1.0 to 1.5 mm (0.04 to 0.06 in.)
    2. Apply seal packing 1281 to the transfer rear chain case assembly as shown in the illustration.

      Seal packing

      Toyota Genuine Seal Packing 1281, Three Bond 1281 or equivalent

      NOTE:

      Reassemble the parts within 5 minutes of applying fresh FIPG material. Otherwise, the packing (FIPG) material must be removed and reapplied.

    3. Temporarily install the 10 bolts in several steps, and then tighten them to the specified torque.
      Fig 2: Transfer Rear Chain Case Assembly Tightening Sequence
      GTY457605Courtesy of © TOYOTA, LICENSE AGREEMENT TMS1002

      Bolt A 

      Torque: 56.8 N.m (579 kgf/cm, 42 ft.lbf) 

      Bolt B, Bolt C and Other Bolts 

      Torque: 33.9 N.m (346 kgf/cm, 25 ft.lbf) 

      HINT: 

      Bolt length: 

      • Bolt A: 60 mm (2.362 in.)
      • Bolt B: 50 mm (1.969 in.)
      • Bolt C: 109 mm (4.291 in.)
      • Other Bolts: 40 mm (1.574 in.)
  21. INSTALL FLANGE YOKE ASSEMBLY 
    1. Install the flange yoke assembly.
    2. Using SST, hold the flange yoke assembly.
      GTY463481Courtesy of © TOYOTA, LICENSE AGREEMENT TMS1002
      *a Turn
      *b Hold
      • SST: 09213-54015 
        1. 91651-60855
      • SST: 09330-00021 
    3. Using a 30 mm deep socket wrench, install a new flange yoke nut.

      Torque: 122.5 N.m (1249 kgf/cm, 90 ft.lbf) 

    4. Using a chisel and hammer, stake the flange yoke nut.
  22. INSTALL TRANSFER REAR OUTPUT SHAFT ASSEMBLY 
    1. Install the transfer rear output shaft assembly.
      GTY462188Courtesy of © TOYOTA, LICENSE AGREEMENT TMS1002
  23. INSTALL TRANSFER CASE SUB-ASSEMBLY 
    1. Install the clamp to the transfer case sub-assembly with the bolt.
      GTY462287Courtesy of © TOYOTA, LICENSE AGREEMENT TMS1002
      *1 Clamp

      Torque: 5.4 N.m (55 kgf/cm, 48 in.lbf) 

    2. Clean the threads of the bolts and the transfer case sub-assembly with non-residue solvent.
      GTY467691Courtesy of © TOYOTA, LICENSE AGREEMENT TMS1002
      *1 Seal Packing
      *a Seal Width 1.0 to 1.5 mm (0.04 to 0.06 in.)
    3. Apply seal packing 1281 to the transfer case sub-assembly as shown in the illustration.

      Seal packing

      Toyota Genuine Seal Packing 1281, Three Bond 1281 or equivalent

      NOTE:

      Reassemble the parts within 5 minutes of applying fresh FIPG material. Otherwise, the packing (FIPG) material must be removed and reapplied.

    4. Temporarily install the 8 bolts and clamp in several steps, and then tighten them to the specified torque.
      Fig 3: Transfer Case Sub-Assembly Tightening Sequence
      GTY464692Courtesy of © TOYOTA, LICENSE AGREEMENT TMS1002
      *1 Clamp

      Torque: 33.9 N.m (346 kgf/cm, 25 ft.lbf) 

      HINT: 

      Bolt length: 

      • Bolt A: 88 mm (3.465 in.)
      • Bolt B: 40 mm (1.574 in.)
  24. INSTALL TRANSFER TRANSMISSION WIRE 
    1. Coat the transfer transmission wire O-ring with ATF.
      GTY462022Courtesy of © TOYOTA, LICENSE AGREEMENT TMS1002
      *1 Transfer Transmission Wire O-ring
      Coat with Toyota Genuine ATF WS

      ATF

      Toyota Genuine ATF WS

    2. Install the transfer transmission wire with the bolt.
      GTY462191Courtesy of © TOYOTA, LICENSE AGREEMENT TMS1002

      Torque: 5.4 N.m (55 kgf/cm, 48 in.lbf) 

  25. INSTALL TRANSFER CONTROL SOLENOID ASSEMBLY 

    See step  1 [04/2013 - 08/2015], or see step  1 [08/2015 - ]

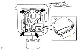
  26. INSTALL TRANSFER CONTROL VALVE BODY ASSEMBLY 
    1. Connect the connector to the transfer control solenoid assembly.
      GTY469202Courtesy of © TOYOTA, LICENSE AGREEMENT TMS1002
      *1 Connector
    2. Install the transfer control valve body assembly with the 4 bolts.

      Torque: 9.8 N.m (100 kgf/cm, 87 in.lbf) 

  27. INSTALL TRANSFER OIL PAN SUB-ASSEMBLY 
    1. Install the transfer oil cleaner magnet to the transfer oil pan sub-assembly.
      GTY466192Courtesy of © TOYOTA, LICENSE AGREEMENT TMS1002
      *1 Transfer Oil Cleaner Magnet
    2. Clean the threads of the bolts and the transfer oil pan sub-assembly with non-residue solvent.
      GTY457689Courtesy of © TOYOTA, LICENSE AGREEMENT TMS1002
      *1 Seal Packing
      *a Seal Width 3.0 to 3.5 mm (0.12 to 0.14 in.)
    3. Apply seal packing 1281 to the transfer oil pan sub-assembly as shown in the illustration.

      Seal packing

      Toyota Genuine Seal Packing 1281, Three Bond 1281 or equivalent

      NOTE:

      Reassemble the parts within 5 minutes of applying fresh FIPG material. Otherwise, the packing (FIPG) material must be removed and reapplied.

    4. Temporarily install the 9 bolts in several steps, and then tighten them to the specified torque.
      Fig 4: Transfer Oil Pan Sub-Assembly Tightening Sequence
      GTY462198Courtesy of © TOYOTA, LICENSE AGREEMENT TMS1002

      Torque: 7.4 N.m (75 kgf/cm, 65 in.lbf)