LEMON Manuals: Even more car manuals for everyone: 1960-2025
Home >> Lexus >> 2021 >> LC 500 2D Convertible >> Repair and Diagnosis >> Steering >> Steering Column >> Steering Column - Service Information (Convertible) >> Steering Column Assembly >> Removal [05/2023 - ] >> Procedure
April 5, 2026: LEMON Manuals is launched! Read the announcement.

Removal [05/2023 - ]: Procedure

  1. PRECAUTION 

    Refer to PRECAUTION [07/2020 - ]

    WARNING:

    Be sure to read Precaution thoroughly before servicing.

    Refer to PRECAUTION [05/2023 - ]

    GTY824211Courtesy of © TOYOTA, LICENSE AGREEMENT TMS1002
    NOTE:

    After turning the engine switch off, waiting time may be required before disconnecting the cable from the negative (-) battery terminal.

    Refer to BEFORE DISCONNECTING BATTERY [05/2023 - ]

  2. CUSTOMIZE POWER TILT AND POWER TELESCOPIC STEERING COLUMN SYSTEM 
    1. Disable the auto tilt away function by changing the customize settings.

      Refer to CUSTOMIZE PARAMETERS [07/2020 - ]

      NOTE:

      Record the current customize setting (whether the auto tilt away function is enabled or disabled) in order to restore the current setting after finishing the operation.

      HINT: 

      Performing the above operation causes the auto tilt away function to be disabled when the engine switch is turned off.

    2. Turn the engine switch on (IG). Operate the tilt and telescopic switch to fully extend and lower the steering column assembly.
  3. ALIGN FRONT WHEELS FACING STRAIGHT AHEAD 
  4. REMOVE HORN BUTTON ASSEMBLY 

    Refer to REMOVAL [05/2023 - ]

  5. REMOVE STEERING WHEEL ASSEMBLY 

    Refer to REMOVAL [05/2023 - ] 

  6. REMOVE LOWER STEERING COLUMN COVER SUB-ASSEMBLY 
    GTY780353Courtesy of © TOYOTA, LICENSE AGREEMENT TMS1002
    1. Remove the 3 screws.
    2. Press in, in the direction shown by the arrow (1) in the illustration, and disengage the claws.
      GTY807733Courtesy of © TOYOTA, LICENSE AGREEMENT TMS1002
      Push Area
      Remove in this Direction (1)
      Remove in this Direction (2)
    3. Pull out in the direction indicated by the arrow (2) in the illustration, disengage the claws to remove the lower steering column cover.
    4. Disengage the 2 claws.
      GTY955274Courtesy of © TOYOTA, LICENSE AGREEMENT TMS1002
      Remove in this Direction
    5. Pull in the direction indicated by the arrow to remove the lower steering column cover sub-assembly.
      NOTE:

      Do not damage the tilt and telescopic switch.

  7. REMOVE UPPER STEERING COLUMN COVER 
    1. Detach the claws and guides as shown in the illustration.
      GTY831080Courtesy of © TOYOTA, LICENSE AGREEMENT TMS1002
      Place Hand Here
      Remove in this Direction
    2. Disengage the claw to remove the upper steering column cover.
      GTY955212Courtesy of © TOYOTA, LICENSE AGREEMENT TMS1002
      Remove in this Direction
  8. REMOVE TURN SIGNAL SWITCH ASSEMBLY WITH SPIRAL CABLE SUB-ASSEMBLY 
    NOTE:
    • Do not replace the spiral cable with sensor sub-assembly with the battery connected and the engine switch on (IG).
    • Do not rotate the spiral cable with sensor sub-assembly without the steering wheel assembly installed, with the battery connected and the engine switch on (IG).
    • Ensure that the steering wheel assembly is installed and aligned straight when inspecting the steering sensor.
    1. Disconnect each connector from the turn signal switch assembly with spiral cable sub-assembly.
    2. Using pliers, support the band clamp while loosened.
      GTY780346Courtesy of © TOYOTA, LICENSE AGREEMENT TMS1002
    3. Disengage the claw to remove the turn signal switch assembly with spiral cable sub-assembly from the steering column assembly.
      GTY955213Courtesy of © TOYOTA, LICENSE AGREEMENT TMS1002
      Remove in this Direction
  9. REMOVE LOWER NO. 1 INSTRUMENT PANEL AIRBAG ASSEMBLY 

    Refer to REMOVAL [05/2023 - ]

  10. REMOVE NO. 1 AIR DUCT 

    Refer to PROCEDURE - Step 44

  11. REMOVE HEATER TO CENTER REGISTER SUB DUCT 

    Refer to PROCEDURE - Step 45

  12. REMOVE STEERING COLUMN ASSEMBLY 
    1. Put matchmarks on the No. 2 steering intermediate shaft assembly and steering column assembly.
      GTY784799Courtesy of © TOYOTA, LICENSE AGREEMENT TMS1002
      *a Matchmark
    2. Remove the bolt.
    3. Disconnect each connector and disengage each wire harness clamp from the steering column assembly.
      GTY957918Courtesy of © TOYOTA, LICENSE AGREEMENT TMS1002
    4. Remove the 2 nuts, bolt and steering column assembly.
      GTY957919Courtesy of © TOYOTA, LICENSE AGREEMENT TMS1002
    5. Separate the steering column assembly from the No. 2 steering intermediate shaft assembly.
  13. REMOVE NO. 1 ENGINE UNDER COVER ASSEMBLY 

    Refer to PROCEDURE - Step 14

  14. REMOVE FRONT FENDER SEAL LH 

    Refer to PROCEDURE - Step 1

  15. REMOVE FRONT FENDER SEAL RH 

    Refer to PROCEDURE - Step 2

  16. REMOVE FRONT SUSPENSION MEMBER BRACE SUB-ASSEMBLY LH 

    Refer to PROCEDURE - Step 17

  17. REMOVE FRONT SUSPENSION MEMBER BRACE SUB-ASSEMBLY RH 

    Refer to PROCEDURE - Step 27

  18. REMOVE NO. 2 ENGINE UNDER COVER ASSEMBLY 

    Refer to PROCEDURE - Step 19

  19. REMOVE NO. 2 STEERING INTERMEDIATE SHAFT ASSEMBLY 
    1. Loosen the clamp.
      GTY789005Courtesy of © TOYOTA, LICENSE AGREEMENT TMS1002
    2. Loosen the bolt (A).
      NOTE:

      Do not remove the bolt (A).

      GTY955201Courtesy of © TOYOTA, LICENSE AGREEMENT TMS1002
    3. Remove the bolt (B).
    4. Slide the steering sliding with shaft yoke sub-assembly and put matchmarks on the steering sliding with shaft yoke sub-assembly and rack and pinion power steering gear assembly.
      GTY818441Courtesy of © TOYOTA, LICENSE AGREEMENT TMS1002
      *a Matchmark
    5. Separate the steering sliding with shaft yoke sub-assembly from the rack and pinion power steering gear assembly.
    6. Remove the steering sliding with shaft yoke sub-assembly with the No. 2 steering intermediate shaft assembly from the vehicle.
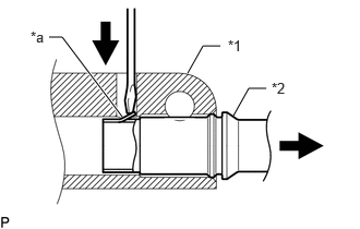
  20. REMOVE STEERING SLIDING WITH SHAFT YOKE SUB-ASSEMBLY 
    1. Put matchmarks on the steering sliding yoke sub-assembly and No. 2 steering intermediate shaft assembly.
      GTY830857Courtesy of © TOYOTA, LICENSE AGREEMENT TMS1002
      *a Matchmark
    2. Remove the bolt.
    3. Using a screwdriver, disengage the claw and remove the steering sliding yoke sub-assembly from the No. 2 steering intermediate shaft assembly.

      HINT: 

      Even if the claw is broken, the No. 2 steering intermediate shaft assembly can be reused if the claw is removed.

      GTY784496Courtesy of © TOYOTA, LICENSE AGREEMENT TMS1002
      *1 Steering Sliding Yoke with Shaft Sub-assembly
      *2 No. 2 Steering Intermediate Shaft Assembly
      *a Claw