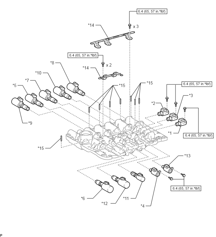
| *1 |
AUTOMATIC TRANSMISSION OIL PAN SUB-ASSEMBLY |
*2 |
FRONT FENDER SEAL LH |
| *3 |
FRONT FENDER SEAL RH |
*4 |
FRONT SUSPENSION MEMBER BRACE SUB-ASSEMBLY LH |
| *5 |
FRONT SUSPENSION MEMBER BRACE SUB-ASSEMBLY RH |
*6 |
NO. 1 EXHAUST PIPE SUPPORT BRACKET SUB-ASSEMBLY |
| *7 |
NO. 1 TRANSMISSION OIL FILLER TUBE |
*8 |
NO. 2 ENGINE UNDER COVER ASSEMBLY |
| *9 |
TRANSMISSION VALVE BODY ASSEMBLY |
*10 |
WIRE HARNESS CLAMP |
| *11 |
LOCK PLATE |
*12 |
ATF TEMPERATURE SENSOR |
| *13 |
TRANSMISSION WIRE |
*14 |
MANUAL DETENT SPRING COVER |
| *15 |
MANUAL DETENT SPRING SUB-ASSEMBLY |
*16 |
GASKET |
| *17 |
O-RING |
*18 |
OVERFLOW PLUG |
| *19 |
DRAIN PLUG |
*20 |
BRAKE DRUM GASKET |
| *21 |
PLATE WASHER |
- |
- |
 |
Tightening torque for "Major areas involving basic vehicle performance such as moving/turning/stopping": N.m (kgf/cm, ft.lbf) |
 |
N.m (kgf/cm, ft.lbf): Specified torque |
| • |
Non-reusable part |
 |
Toyota Genuine ATF WS |
| * |
Precoated part |
- |
- |