LEMON Manuals: Even more car manuals for everyone: 1960-2025
Home >> Lexus >> 2021 >> LS 500 Base, AWD >> Repair and Diagnosis >> Engine Performance >> Engine Control Systems >> Engine Control System - Service Information >> Crankshaft Position Sensor >> Removal [12/2017 - ] >> Procedure
April 5, 2026: LEMON Manuals is launched! Read the announcement.

Removal [12/2017 - ]: Procedure

  1. REMOVE ENGINE AND TRANSMISSION ASSEMBLY (for AWD) 

    Refer to REMOVAL [12/2017 - 09/2018] , or refer to REMOVAL [09/2018 - 10/2020] , or refer to REMOVAL [10/2020 - 10/2022] , or refer to REMOVAL [10/2022 - 10/2023] , or refer to REMOVAL [10/2023 - ]

  2. DISCONNECT FRONT FRAME ASSEMBLY (for AWD) 

    Refer to PROCEDURE - Step 141 [12/2017 - 09/2018] , or refer to PROCEDURE - Step 141 [09/2018 - 10/2020] , or refer to PROCEDURE - Step 141 [10/2020 - 10/2022] , or refer to PROCEDURE - Step 141 [10/2022 - 10/2023] , or refer to PROCEDURE - Step 141 [10/2023 - ]

  3. REMOVE FRONT ENGINE MOUNTING INSULATOR (for AWD) 

    Refer to PROCEDURE - Step 142 [12/2017 - 09/2018] , or refer to PROCEDURE - Step 142 [09/2018 - 10/2020] , or refer to PROCEDURE - Step 142 [10/2020 - 10/2022] , or refer to PROCEDURE - Step 142 [10/2022 - 10/2023] , or refer to PROCEDURE - Step 142 [10/2023 - ]

  4. REMOVE NO. 2 MANIFOLD STAY (for AWD) 
    1. Remove the 2 bolts, nut and No. 2 manifold stay.
      GTY817550Courtesy of © TOYOTA, LICENSE AGREEMENT TMS1002
  5. REMOVE FRONT NO. 1 ENGINE MOUNTING BRACKET LH (for AWD) 

    Refer to PROCEDURE - Step 163 [12/2017 - 09/2018] , or refer to PROCEDURE - Step 163 [09/2018 - 10/2020] , or refer to PROCEDURE - Step 163 [10/2020 - 10/2022] , or refer to PROCEDURE - Step 163 [10/2022 - 10/2023] , or refer to PROCEDURE - Step 163 [10/2023 - ]

  6. REMOVE TRANSMISSION UNDER COVER (for 2WD) 

    Refer to PROCEDURE - Step 16 [12/2017 - 09/2018] , or refer to PROCEDURE - Step 16 [09/2018 - 10/2020] , or refer to PROCEDURE - Step 16 [10/2020 - 10/2022] , or refer to PROCEDURE - Step 16 [10/2022 - 10/2023] , or refer to PROCEDURE - Step 16 [10/2023 - ]

  7. REMOVE NO. 2 ENGINE UNDER COVER ASSEMBLY (for 2WD) 

    Refer to PROCEDURE - Step 17 [12/2017 - 09/2018] , or refer to PROCEDURE - Step 17 [09/2018 - 10/2020] , or refer to PROCEDURE - Step 17 [10/2020 - 10/2022] , or refer to PROCEDURE - Step 17 [10/2022 - 10/2023] , or refer to PROCEDURE - Step 17 [10/2023 - ]

  8. REMOVE CRANKSHAFT POSITION SENSOR 
    1. Disconnect the crankshaft position sensor connector.
      GTY817313Courtesy of © TOYOTA, LICENSE AGREEMENT TMS1002
    2. Remove the bolt and crankshaft position sensor.
      NOTE:

      If the crankshaft position sensor has been struck or dropped, replace it.

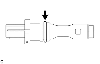
    3. When reusing the crankshaft position sensor:
      GTY1132300Courtesy of © TOYOTA, LICENSE AGREEMENT TMS1002
      1. Remove the O-ring from the crankshaft position sensor.
        NOTE:
        • Make sure to only remove the O-ring with bare hands.
        • When removing the O-ring, be careful not to damage the O-ring groove of the crankshaft position sensor.
        • If the O-ring groove is damaged, replace the crankshaft position sensor.