DTC P0120-11: Throttle / Pedal Position Sensor / Switch "A" Circuit Short to Ground [11/2017 - ]: Description
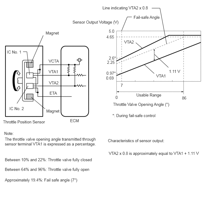
The throttle position sensor is built into the throttle body with motor assembly and detects the opening angle of the throttle valve. This sensor is a non-contact type sensor. It uses Hall-effect elements in order to yield accurate signals even in extreme driving conditions, such as at high speeds as well as very low speeds.
The throttle position sensor has 2 sensor circuits, VTA1 and VTA2, each of which transmits a signal. VTA1 is used to detect the throttle valve angle and VTA2 is used to detect malfunctions in VTA1. The sensor signal voltages vary between 0 V and 5 V in proportion to the throttle valve opening angle, and are transmitted to the VTA1 and VTA2 terminals of the ECM.
As the valve closes, the sensor output voltage decreases and as the valve opens, the sensor output voltage increases. The ECM calculates the throttle valve opening angle according to these signals and controls the throttle actuator in response to driver inputs. These signals are also used in calculations such as air fuel ratio correction, power increase correction and fuel-cut control.
HINT:
- When throttle position sensor DTCs are output, check the throttle valve opening angle using the Techstream. Enter the following menus: Powertrain / Engine / Data List / Throttle Position Sensor No. 1 Voltage and Throttle Position Sensor No. 2 Voltage.
- Throttle Position Sensor No. 1 Voltage is the VTA1 signal, and Throttle Position Sensor No. 2 Voltage is the VTA2 signal.
Reference (Normal Condition)
When Accelerator Pedal Fully Released When Accelerator Pedal Fully Depressed
(Engine Running)Throttle Position Sensor No. 1 Voltage (VTA1) Throttle Position Sensor No. 2 Voltage (VTA2) Throttle Position Sensor No. 1 Voltage (VTA1) Throttle Position Sensor No. 2 Voltage (VTA2) 0.6 to 1.1 V 2.1 to 3.1 V 3.2 to 4.8 V
(Not fail-safe)4.6 to 4.98 V
(Not fail-safe)
| DTC No. | Detection Item | DTC Detection Condition | Trouble Area | MIL | Memory | Note |
|---|---|---|---|---|---|---|
| P0120-11 | Throttle / Pedal Position Sensor / Switch "A" Circuit Short to Ground | The output voltage of VTA1 is less than 0.56 V for 2 seconds or more (1 trip detection logic). |
|
Comes on | DTC stored | SAE Code: P0122 |