LEMON Manuals: Even more car manuals for everyone: 1960-2025
Home >> Lexus >> 2021 >> RC 350 Base, AWD >> Repair and Diagnosis >> External Pages >> Different car >> Section 34 (Engine Intake / Exhaust System (2GR-FSE) - Service Information) >> Exhaust Pipe >> Installation [09/2014 - 11/2017] >> Procedure
April 5, 2026: LEMON Manuals is launched! Read the announcement.

Installation [09/2014 - 11/2017]: Procedure

WARNING: This page is about a different car, the 2017 Lexus RC 350, 2017 Lexus RC 300, 2016 Lexus RC 350, 2016 Lexus RC 300, and 2015 Lexus RC 350. However, it is still accessible from the selected car via links, so may be relevant.
  1. INSTALL TAIL EXHAUST PIPE BAFFLE SUB-ASSEMBLY 
    1. Install the tail exhaust pipe baffle sub-assembly to the tail exhaust pipe assembly with the 3 bolts.

      Torque: 25 N.m (255 kgf/cm, 18 ft.lbf) 

    2. Install the tail exhaust pipe baffle sub-assembly to the tail exhaust pipe LH with the 3 bolts.

      Torque: 25 N.m (255 kgf/cm, 18 ft.lbf) 

  2. CONNECT TAIL EXHAUST PIPE LH 
    1. Connect the tail exhaust pipe LH to the 3 exhaust pipe supports.
      NOTE:

      Protect the rear bumper assembly using protection material such as a piece of cloth to avoid damage by the tail exhaust pipe baffle sub-assembly.

  3. CONNECT TAIL EXHAUST PIPE ASSEMBLY 
    1. Connect the tail exhaust pipe assembly to the 3 exhaust pipe supports.
      NOTE:

      Protect the rear bumper assembly using protection material such as a piece of cloth to avoid damage by the tail exhaust pipe baffle sub-assembly.

  4. INSTALL FRONT EXHAUST PIPE ASSEMBLY (TWC: Rear Catalyst) 
    1. Using a vernier caliper, measure the free length of the compression springs.
      Standard length 40 mm (1.57 in.)
      Minimum free length 38.5 mm (1.52 in.)
      GTY144965Courtesy of © TOYOTA, LICENSE AGREEMENT TMS1002

      If the free length is less than the minimum, replace the compression spring.

    2. Temporarily install 2 new exhaust pipe gaskets to the front exhaust pipe assembly (TWC: Rear Catalyst) for tail exhaust pipe assembly and tail exhaust pipe LH side.
    3. Using a plastic hammer and wooden block, tap in each exhaust pipe gasket until its surface is flush with the front exhaust pipe assembly (TWC: Rear Catalyst).
      NOTE:
      • Be sure to install the gaskets in the correct direction.
      • Do not reuse the gaskets.
      • Do not damage the gaskets.
      • Do not push in the gaskets by using the exhaust pipes when connecting them.
      GTY442829Courtesy of © TOYOTA, LICENSE AGREEMENT TMS1002
      *1 Front Exhaust Pipe Assembly (TWC: Rear Catalyst)
      *2 Exhaust Pipe Gasket
      *a Wooden Block
    4. Install 2 new exhaust pipe gaskets to the front exhaust pipe assembly (TWC: Rear Catalyst) for exhaust manifold sub-assembly LH (TWC: Front Catalyst) and exhaust manifold sub-assembly RH (TWC: Front Catalyst) side.
    5. Connect the front exhaust pipe assembly (TWC: Rear Catalyst) with 4 new nuts and 4 new bolts.

      Torque: 39 N.m (398 kgf/cm, 29 ft.lbf) 

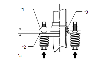
    6. Install the front exhaust pipe assembly (TWC: Rear Catalyst) to the tail exhaust pipe assembly and tail exhaust pipe LH with the 4 bolts and 4 compression springs.
      GTY503377Courtesy of © TOYOTA, LICENSE AGREEMENT TMS1002
      *1 Tail Exhaust Pipe Assembly or Tail Exhaust Pipe LH
      *2 Front Exhaust Pipe Assembly (TWC: Rear Catalyst)
      *3 Exhaust Pipe Gasket
      *a Space between Flanges: 6.5 mm (0.256 in.)

      Torque: 43 N.m (438 kgf/cm, 32 ft.lbf) 

      HINT: 

      After installation, check that the space between the flanges of the front exhaust pipe assembly (TWC: Rear Catalyst) and tail exhaust pipe assembly and tail exhaust pipe LH is consistent front-to-rear and left-to-right.

  5. CONNECT HEATED OXYGEN SENSOR 

    HINT: 

    Perform "Inspection After Repair" after replacing a heated oxygen sensor.

    Refer to INITIALIZATION [09/2014 - 11/2017]

    1. Before installing the heated oxygen sensor, twist the sensor wire 4 turns counterclockwise.
      GTY461265Courtesy of © TOYOTA, LICENSE AGREEMENT TMS1002
      *a 4 Turns
    2. for Bank 2 (for 2WD):
      1. Using SST, install the heated oxygen sensor to the front exhaust pipe assembly (TWC: Rear Catalyst).
        • SST: 09224-00010 

        Specified tightening torque 

        Torque: 44 N.m (449 kgf/cm, 32 ft.lbf) 

        NOTE:

        Be careful not to drop the heated oxygen sensor.

        HINT: 

        • Calculate the torque wrench reading when changing the fulcrum length of the torque wrench.

          Refer to PRECAUTION [09/2014 - 11/2017]

        • When using SST (fulcrum length of 30 mm (1.18 in.)) + torque wrench (fulcrum length of 260 mm (10.2 in.)):

          39 N.m (398 kgf/cm, 29 ft.lbf)

        GTY517241Courtesy of © TOYOTA, LICENSE AGREEMENT TMS1002
        *a Torque Wrench Fulcrum Length
      2. Connect the heated oxygen sensor grommet to the vehicle body.
    3. for Bank 2 (for AWD with Front Floor Cover LH):
      1. Using SST, install the heated oxygen sensor to the front exhaust pipe assembly (TWC: Rear Catalyst).
        GTY505515Courtesy of © TOYOTA, LICENSE AGREEMENT TMS1002
        *a Torque Wrench Fulcrum Length
        • SST: 09224-00010 

        Specified tightening torque 

        Torque: 44 N.m (449 kgf/cm, 32 ft.lbf) 

        NOTE:

        Be careful not to drop the heated oxygen sensor.

        HINT: 

        • Calculate the torque wrench reading when changing the fulcrum length of the torque wrench.

          Refer to PRECAUTION [09/2014 - 11/2017]

        • When using SST (fulcrum length of 30 mm (1.18 in.)) + torque wrench (fulcrum length of 260 mm (10.2 in.)):

          39 N.m (398 kgf/cm, 29 ft.lbf)

      2. Engage the 3 clamps.
      3. Connect the heated oxygen sensor grommet to the vehicle body.
      4. Install the front floor cover LH with the 6 clips.
    4. for Bank 2 (for AWD without Front Floor Cover LH):
      1. Using SST, install the heated oxygen sensor to the front exhaust pipe assembly (TWC: Rear Catalyst).
        GTY505515Courtesy of © TOYOTA, LICENSE AGREEMENT TMS1002
        *a Torque Wrench Fulcrum Length
        • SST: 09224-00010 

        Specified tightening torque 

        Torque: 44 N.m (449 kgf/cm, 32 ft.lbf) 

        NOTE:

        Be careful not to drop the heated oxygen sensor.

        HINT: 

        • Calculate the torque wrench reading when changing the fulcrum length of the torque wrench.

          Refer to PRECAUTION [09/2014 - 11/2017]

        • When using SST (fulcrum length of 30 mm (1.18 in.)) + torque wrench (fulcrum length of 260 mm (10.2 in.)):

          39 N.m (398 kgf/cm, 29 ft.lbf)

      2. Engage the 4 clamps.
      3. Connect the heated oxygen sensor grommet to the vehicle body.
    5. for Bank 1:
      1. Using SST, install the heated oxygen sensor to the front exhaust pipe assembly (TWC: Rear Catalyst).
        • SST: 09224-00010 

        Specified tightening torque 

        Torque: 44 N.m (449 kgf/cm, 32 ft.lbf) 

        NOTE:

        Be careful not to drop the heated oxygen sensor.

        GTY501403Courtesy of © TOYOTA, LICENSE AGREEMENT TMS1002
        *a Torque Wrench Fulcrum Length

        HINT: 

        • Calculate the torque wrench reading when changing the fulcrum length of the torque wrench.

          Refer to PRECAUTION [09/2014 - 11/2017]

        • When using SST (fulcrum length of 30 mm (1.18 in.)) + torque wrench (fulcrum length of 260 mm (10.2 in.)):

          39 N.m (398 kgf/cm, 29 ft.lbf)

      2. Connect the heated oxygen sensor grommet to the vehicle body.
  6. INSTALL FRONT CENTER FLOOR BRACE 

    Refer to PROCEDURE - Step 81 [09/2014 - 10/2015] , or refer to PROCEDURE - Step 82 [10/2015 - 11/2017]

  7. INSTALL FRONT CENTER FLOOR COVER LH (for Full Cover Type) 

    Refer to PROCEDURE - Step 82 [09/2014 - 10/2015] , or refer to PROCEDURE - Step 83 [10/2015 - 11/2017]

  8. INSTALL FRONT CENTER FLOOR COVER RH (for Full Cover Type) 

    Refer to PROCEDURE - Step 83 [09/2014 - 10/2015] , or refer to PROCEDURE - Step 84 [10/2015 - 11/2017]

  9. INSPECT FOR EXHAUST GAS LEAK 

    If gas is leaking, tighten the areas necessary to stop the leak. Replace damaged parts as necessary.

    1. Perform "Inspection After Repair" after repairing an exhaust gas leak.

      Refer to INITIALIZATION [09/2014 - 11/2017]