LEMON Manuals: Even more car manuals for everyone: 1960-2025
Home >> Lexus >> 2021 >> RC F Base >> Repair and Diagnosis >> Accessories & Equipment >> Cruise Control Systems >> Dynamic Radar Cruise Control System - Diagnostic Codes & Circuit Tests >> Dynamic Radar Cruise Control System >> DTC C1A05: Stop Light Switch Circuit [11/2017 - 01/2023] >> Wiring Diagram
April 5, 2026: LEMON Manuals is launched! Read the announcement.

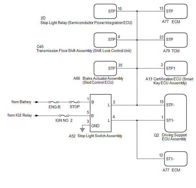
DTC C1A05: Stop Light Switch Circuit [11/2017 - 01/2023]: Wiring Diagram

GTY822173Courtesy of © TOYOTA, LICENSE AGREEMENT TMS1002