LEMON Manuals: Even more car manuals for everyone: 1960-2025
Home >> Lexus >> 2021 >> RC F Base >> Repair and Diagnosis >> Accessories & Equipment >> Wiper/Washer Systems >> Wiper System / Washer System - Service Information >> Rain Sensor >> Removal [09/2014 - 11/2017] >> Procedure
April 5, 2026: LEMON Manuals is launched! Read the announcement.

Removal [09/2014 - 11/2017]: Procedure

  1. REMOVE RAIN SENSOR COVER (w/o Lane Departure Alert System) 
    1. Disengage the 2 claws and slide the rain sensor cover as shown in the illustration.
      GTY496245Courtesy of © TOYOTA, LICENSE AGREEMENT TMS1002
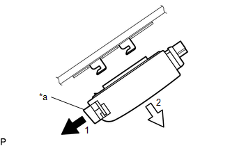
    2. Release the stopper by pulling it out and disconnect the rain sensor as indicated by the arrows, in the order shown in the illustration.
      Fig 1: Rain Sensor (w/o Lane Departure Alert System) Disconnection Sequence
      GTY512249Courtesy of © TOYOTA, LICENSE AGREEMENT TMS1002
      *a Stopper
    3. Disengage the 2 claws to remove the rain sensor cover as shown in the illustration.
      GTY517219Courtesy of © TOYOTA, LICENSE AGREEMENT TMS1002
  2. REMOVE NO. 1 LANE RECOGNITION COVER (w/ Lane Departure Alert System) 

    Refer to PROCEDURE - Step 1

  3. REMOVE RAIN SENSOR (w/o Lane Departure Alert System) 
    1. Disconnect the connector to remove the rain sensor.
      GTY517220Courtesy of © TOYOTA, LICENSE AGREEMENT TMS1002
  4. REMOVE RAIN SENSOR (w/ Lane Departure Alert System) 
    1. Disconnect the connector.
      GTY496236Courtesy of © TOYOTA, LICENSE AGREEMENT TMS1002
    2. Release the stopper by pulling it out and remove the rain sensor as indicated by the arrows, in the order shown in the illustration.
      Fig 2: Rain Sensor (W/ Lane Departure Alert System) Removal Sequence
      GTY509017Courtesy of © TOYOTA, LICENSE AGREEMENT TMS1002
      *a Stopper
  5. CLEAN WINDSHIELD GLASS 

    HINT: 

    • The rain sensor tape is reusable. Only replace the tape if it is damaged or contaminated with foreign matter.
    • Check that there is no rain sensor tape residue remaining on the windshield glass. If there is, remove the residue before installing the rain sensor.
    • If there is any rain sensor tape residue remaining on the windshield glass, replace the tape.