LEMON Manuals: Even more car manuals for everyone: 1960-2025
Home >> Lexus >> 2021 >> RC F Base >> Repair and Diagnosis >> Electrical >> Body Electrical >> Generator - Service Information >> Generator >> Disassembly [09/2014 - ] >> Procedure
April 5, 2026: LEMON Manuals is launched! Read the announcement.

Disassembly [09/2014 - ]: Procedure

  1. REMOVE GENERATOR PULLEY WITH CLUTCH 
    1. Secure the generator drive end frame in a vise between aluminum plates.
    2. Place the rotor shaft end into SST (A).
      • SST: 09820-63021 
      GTY499917Courtesy of © TOYOTA, LICENSE AGREEMENT TMS1002
      *a Rotor Shaft
    3. Fit SST (B) to the generator pulley with clutch.
      GTY516120Courtesy of © TOYOTA, LICENSE AGREEMENT TMS1002
      *1 Generator Pulley with Clutch
    4. Loosen the generator pulley with clutch by turning SST (B) as shown in the illustration.
      NOTE:
      • Check that the generator drive end frame is secured in the vise tightly.
      • Hold SST (A) tightly during the operation.
      GTY512663Courtesy of © TOYOTA, LICENSE AGREEMENT TMS1002
      *a Turn
      *b Hold
    5. Remove SST (A) and (B) from the generator pulley with clutch.
    6. Remove the generator pulley with clutch from the rotor shaft.
    7. Remove the generator drive end frame from the vise.
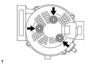
  2. REMOVE GENERATOR REAR END COVER 
    1. Remove the 3 nuts and generator rear end cover from the generator coil assembly.
      GTY512161Courtesy of © TOYOTA, LICENSE AGREEMENT TMS1002
  3. REMOVE GENERATOR TERMINAL INSULATOR 
    1. Remove the generator terminal insulator from the generator coil assembly.
      GTY105243Courtesy of © TOYOTA, LICENSE AGREEMENT TMS1002
  4. REMOVE GENERATOR BRUSH HOLDER ASSEMBLY 
    1. Remove the 2 screws and generator brush holder assembly from the generator coil assembly.
      GTY100756Courtesy of © TOYOTA, LICENSE AGREEMENT TMS1002
  5. REMOVE GENERATOR COIL ASSEMBLY 
    1. Remove the 4 bolts.
      GTY512160Courtesy of © TOYOTA, LICENSE AGREEMENT TMS1002
    2. Using SST, remove the generator coil assembly.
      GTY520280Courtesy of © TOYOTA, LICENSE AGREEMENT TMS1002
      *a Hold
      *b Turn
      • SST: 09950-40011 
        1. 09951-04020
        2. 09952-04010
        3. 09953-04020
        4. 09954-04010
        5. 09955-04071
        6. 09957-04010
        7. 09958-04011
    3. Remove the washer.
      GTY520725Courtesy of © TOYOTA, LICENSE AGREEMENT TMS1002
  6. REMOVE GENERATOR ROTOR ASSEMBLY 
    1. Remove the generator rotor assembly from the generator drive end frame.
      GTY505903Courtesy of © TOYOTA, LICENSE AGREEMENT TMS1002
      *1 Generator Rotor Assembly
      *2 Generator Drive End Frame
  7. INSPECT GENERATOR DRIVE END FRAME BEARING 

    See step  4

  8. REMOVE GENERATOR DRIVE END FRAME BEARING 
    1. Remove the 4 screws and retainer plate from the generator drive end frame.
      GTY105248Courtesy of © TOYOTA, LICENSE AGREEMENT TMS1002
    2. Using SST and a hammer, tap out the generator drive end frame bearing.
      GTY521460Courtesy of © TOYOTA, LICENSE AGREEMENT TMS1002
      • SST: 09950-60010 
        1. 09951-00270
      • SST: 09950-70010 
        1. 09951-07100