LEMON Manuals: Even more car manuals for everyone: 1960-2025
Home >> Lexus >> 2021 >> RC F Base >> Repair and Diagnosis >> Engine Performance >> Ignition System - Inspection >> Ignition System >> On-Vehicle Inspection [09/2014 - ] >> Procedure
April 5, 2026: LEMON Manuals is launched! Read the announcement.

On-Vehicle Inspection [09/2014 - ]: Procedure

  1. PERFORM SPARK TEST 
    1. Check for DTCs.

      Refer to DTC CHECK / CLEAR [09/2014 - ]

      NOTE:

      If any DTCs are present, perform troubleshooting in accordance with the procedure for each DTC.

    2. Remove the 8 ignition coil assemblies and 8 spark plugs.

      Refer to REMOVAL [09/2014 - ]

      NOTE:

      If an ignition coil assembly or spark plug has been struck or dropped, replace it.

      HINT: 

      Arrange the removed parts in the correct order.

    3. Disconnect the 2 fuel delivery pipe sub-assembly connectors.
      GTY518254Courtesy of © TOYOTA, LICENSE AGREEMENT TMS1002
    4. Push the lock and move the lock lever of each connector (with lock) as shown in the illustration and disconnect the 4 connectors (with lock) from the 2 injector drivers.
      GTY502004Courtesy of © TOYOTA, LICENSE AGREEMENT TMS1002
      *a Lock Lever
      *b Lock
    5. Install the spark plug to the ignition coil assembly, and then connect the ignition coil assembly connector.
    6. Ground the spark plug.
    7. Check that spark occurs at each spark plug while the engine is being cranked.
      NOTE:
      • Be sure to ground the spark plugs when checking them.
      • Do not crank the engine for more than 2 seconds.
      • If an ignition coil assembly or spark plug has been struck or dropped, replace it.

      HINT: 

      If spark does not occur, perform the following procedure.

    8. Connect the 4 connectors (with lock) to the 2 injector drivers and move the lock lever to engage the lock of each connector (with lock) as shown in the illustration.
      GTY505256Courtesy of © TOYOTA, LICENSE AGREEMENT TMS1002
      *a Lock Lever
      NOTE:

      Securely connect the connectors (with lock) to the injector driver and engage the lock.

    9. Install the 8 spark plugs and 8 ignition coil assemblies.

      Refer to INSTALLATION [09/2014 - ]

      NOTE:

      If an ignition coil assembly or spark plug has been struck or dropped, replace it.

      HINT: 

      Install the same parts to their original positions.

    10. Check for DTCs.

      Refer to DTC CHECK / CLEAR [09/2014 - ]

    11. Clear the DTCs.

      Refer to DTC CHECK / CLEAR [09/2014 - ]

  2. INSPECT IGNITION COIL ASSEMBLY AND SPARK TEST 

    HINT: 

    Perform "Inspection After Repair" after replacing a spark plug or ignition coil assembly.

    Refer to INITIALIZATION [09/2014 - ]

    1. Check that the ignition coil assembly connector is securely connected.

      Result

      Result Action
      NG Connect securely
      OK Go to next step
    2. Perform a spark test on each ignition coil assembly.
      1. Replace the ignition coil assembly with a known good one.
      2. Perform the spark test again.

        Result

        Result Action
        NG Go to next step
        OK Replace ignition coil assembly
    3. Perform a spark test on each spark plug.
      1. Replace the spark plug with a known good one.
      2. Perform the spark test again.

        Result

        Result Action
        NG Inspect the ignition system
        Refer to DTC P0351: Ignition Coil "A" Primary / Secondary Circuit; DTC P0352: Ignition Coil "B" Primary / Secondary Circuit; DTC P0353: Ignition Coil "C" Primary / Secondary Circuit; DTC P0354: Ignition Coil "D" Primary / Secondary Circuit; DTC P0355: Ignition Coil "E" Primary / Secondary Circuit; DTC P0356: Ignition Coil "F" Primary / Secondary Circuit; DTC P0357: Ignition Coil "G" Primary / Secondary Circuit; DTC P0358: Ignition Coil "H" Primary / Secondary Circuit [09/2014 - ]
        OK Replace spark plug
        NOTE:

        If an ignition coil assembly or spark plug has been struck or dropped, replace it.

    4. Connect the 4 connectors (with lock) to the 2 injector drivers and move the lock lever to engage the lock of each connector (with lock) as shown in the illustration.
      GTY505256Courtesy of © TOYOTA, LICENSE AGREEMENT TMS1002
      *a Lock Lever
      NOTE:

      Securely connect the connectors (with lock) to the injector driver and engage the lock.

    5. Install the 8 spark plugs and 8 ignition coil assemblies.

      Refer to INSTALLATION [09/2014 - ]

      NOTE:

      If an ignition coil assembly or spark plug has been struck or dropped, replace it.

      HINT: 

      Install the same parts to their original positions.

    6. Check for DTCs.

      Refer to DTC CHECK / CLEAR [09/2014 - ]

    7. Clear the DTCs.

      Refer to DTC CHECK / CLEAR [09/2014 - ]

  3. INSPECT SPARK PLUG 
    NOTE:
    • Do not use a wire brush for cleaning.
    • Never attempt to adjust the electrode gap of a used spark plug.

    HINT: 

    Perform "Inspection After Repair" after replacing a spark plug.

    Refer to INITIALIZATION [09/2014 - ]

    1. Check the electrode.
      GTY499036Courtesy of © TOYOTA, LICENSE AGREEMENT TMS1002
      *a Body Ground
      1. Using a megohmmeter, measure the insulation resistance.

        Standard Insulation Resistance

        Tester Connection Condition Specified Condition
        Spark plug (terminal part) - Body ground Always 10 MΩ or higher

        HINT: 

        • If the result is not as specified, clean the spark plug with a spark plug cleaner and measure the resistance again.
        • If a megohmmeter is not available, perform the following simple inspection instead.
    2. Alternative inspection method.
      1. Start the engine.
        NOTE:

        Do not perform this step when any of the following DTCs are output; P0300, P0301, P0302, P0303, P0304, P0305, P0306, P0307, P0308 (Cylinder Misfire Detected)

      2. Quickly accelerate the engine to 4000 RPM 5 times.
        NOTE:

        Do not perform this step when any of the following DTCs are output; P0300, P0301, P0302, P0303, P0304, P0305, P0306, P0307, P0308 (Cylinder Misfire Detected)

      3. Remove the spark plug.

        Refer to REMOVAL [09/2014 - ]

      4. Visually check the spark plug.

        HINT: 

        If the electrode is dry, the spark plug is functioning properly. If the electrode is damp, proceed to the next step.

    3. Check the spark plug for any damage to its threads and insulator.

      If there is any damage, replace the spark plug.

      Recommended Spark Plug

      Manufacturer Spark Plug Type
      DENSO FK20HBR-J8
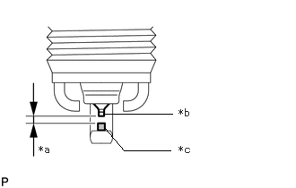
    4. Check the spark plug electrode gap.
      GTY510855Courtesy of © TOYOTA, LICENSE AGREEMENT TMS1002
      *a Spark Plug Electrode Gap
      *b Iridium Tip
      *c Platinum Tip

      Maximum Electrode Gap for Used Spark Plug

      1.0 mm (0.0394 in.)

      NOTE:

      Never attempt to adjust the electrode gap of a used spark plug.

      If the electrode gap is more than the maximum, replace the spark plug.

      Standard Electrode Gap for New Spark Plug

      0.7 to 0.8 mm (0.0276 to 0.0315 in.)

    5. Clean the spark plug.
      GTY433570Courtesy of © TOYOTA, LICENSE AGREEMENT TMS1002

      If the electrode has traces of wet carbon, clean the electrode with a spark plug cleaner and then dry it.

      Standard Air Pressure

      588 kPa (6.0 kgf/cm2 , 85 psi)

      Standard Duration

      20 seconds or less

      HINT: 

      Only use the spark plug cleaner when the electrode is free of oil. If the electrode has traces of oil, use gasoline to clean off the oil before using the spark plug cleaner.

    6. Install the spark plug.

      Refer to INSTALLATION [09/2014 - ]

  4. PERFORM INITIALIZATION 
    1. Perform "Inspection After Repair" after replacing a spark plug or ignition coil assembly.

      Refer to INITIALIZATION [09/2014 - ]