LEMON Manuals: Even more car manuals for everyone: 1960-2025
Home >> Lexus >> 2021 >> RC F Base >> Repair and Diagnosis >> Transmission >> Transmission Control Systems >> Automatic Transmission System - Service Information >> Automatic Transmission Assembly >> Installation [09/2014 - 03/2019] >> Procedure
April 5, 2026: LEMON Manuals is launched! Read the announcement.

Installation [09/2014 - 03/2019]: Procedure

  1. INSTALL TRANSMISSION BREATHER ASSEMBLY 
    1. Install the transmission breather assembly as shown in the illustration with the 2 bolts.

      Torque: 7.0 N.m (71 kgf/cm, 62 in.lbf) 

      GTY517659Courtesy of © TOYOTA, LICENSE AGREEMENT TMS1002
      *a Ground Wire

      HINT: 

      Bolt Length: 

      • Bolt (A): 30 mm (1.18 in.)
      • Bolt (B): 14 mm (0.551 in.)
    2. Engage the 2 clamps to connect the wire harness to the transmission breather assembly.
    3. Install the bolt to connect the ground wire to the transmission breather assembly.

      Torque: 10 N.m (102 kgf/cm, 7 ft.lbf) 

  2. INSTALL TORQUE CONVERTER ASSEMBLY 
    1. Using a vernier caliper and straightedge, measure the dimension (A) between the automatic transmission assembly contact surface of the engine assembly and torque converter assembly contact surface of the drive plate and ring gear sub-assembly.
      GTY503288Courtesy of © TOYOTA, LICENSE AGREEMENT TMS1002
      *a Engine Assembly Surface
      *b Drive Plate and Ring Gear Sub-assembly Surface
    2. Align the matchmark on the automatic transmission case sub-assembly with the one on the torque converter assembly and engage the splines of the input shaft with the turbine runner splines.
      NOTE:

      Install the torque converter assembly to the input shaft while keeping it horizontal.

      GTY520123Courtesy of © TOYOTA, LICENSE AGREEMENT TMS1002
      *a Matchmark
    3. Rotate the torque converter assembly approximately 180° and engage the splines of the stator shaft with the stator assembly.
      NOTE:
      • Do not damage the front oil pump oil seal.
      • Install the torque converter assembly to the input shaft while keeping it horizontal.
      GTY517106Courtesy of © TOYOTA, LICENSE AGREEMENT TMS1002
      *1 Front Oil Pump Oil Seal
    4. Rotate the torque converter assembly approximately 180° again, align the matchmark on the torque converter assembly with the one on the automatic transmission case sub-assembly and insert the key of the torque converter assembly into the groove of the oil pump drive gear.
      NOTE:
      • Do not push the torque converter assembly excessively when rotating it.
      • Do not damage the front oil pump oil seal.
      • Install the torque converter assembly to the input shaft while keeping it horizontal.
      GTY512000Courtesy of © TOYOTA, LICENSE AGREEMENT TMS1002
      *1 Front Oil Pump Oil Seal
    5. Using a vernier caliper and straightedge, measure the dimension (B) shown in the illustration and check that the dimension (B) is more than the dimension (A), which was measured in the previous step.

      Standard

      Dimension (A) + 1 mm (0.0394 in.) or more

      NOTE:
      • Make sure to deduct the thickness of the straightedge.
      • If the automatic transmission assembly is installed to the engine assembly with the torque converter assembly not sufficiently inserted, the torque converter assembly may be damaged.
      GTY504292Courtesy of © TOYOTA, LICENSE AGREEMENT TMS1002
  3. INSTALL AUTOMATIC TRANSMISSION ASSEMBLY 
    1. Apply clutch spline grease to the surface of the part of the crankshaft that contacts the torque converter assembly centerpiece.

      Clutch Spline Grease

      Toyota Genuine Clutch Spline Grease or equivalent

      Maximum Grease Amount

      Approximately 1 g (0.0353 oz)

      GTY508241Courtesy of © TOYOTA, LICENSE AGREEMENT TMS1002
      *1 Drive Plate and Ring Gear Sub-assembly
      *2 Crankshaft
      *a Torque Converter Assembly Centerpiece
      Clutch Spline Grease
    2. Make sure that the mark is positioned as shown in the illustration.
      GTY501492Courtesy of © TOYOTA, LICENSE AGREEMENT TMS1002
      *a Mark
    3. Confirm that the 2 knock pins are installed to the engine assembly and are not damaged.
      GTY496018Courtesy of © TOYOTA, LICENSE AGREEMENT TMS1002
      *a Knock Pin
    4. While keeping the engine assembly and automatic transmission assembly horizontal, align the 2 knock pins with the holes in the automatic transmission assembly and install the automatic transmission assembly with the 10 bolts.
      GTY501202Courtesy of © TOYOTA, LICENSE AGREEMENT TMS1002

      Bolt (A) 

      Torque: 37 N.m (377 kgf/cm, 27 ft.lbf) 

      Bolt (B) 

      Torque: 71 N.m (724 kgf/cm, 52 ft.lbf) 

      NOTE:
      • Do not use excessive force when installing the automatic transmission assembly.
      • Check that the torque converter assembly rotates.
      • Make sure that the wire harness or other similar items are not pinched between the contact surfaces.

      HINT: 

      Bolt Length: 

      • Bolt (A): 43 mm (1.69 in.)
      • Bolt (B): 50 mm (1.97 in.)
    5. Connect the breather plug hose to the transmission breather assembly.

      HINT: 

      Be sure to insert the breather plug hose until stopped by the protrusion on the transmission breather assembly.

  4. CONNECT WIRE HARNESS 
    1. Connect the wire harness to the automatic transmission assembly with the nut and 2 bolts.

      Torque: 10 N.m (102 kgf/cm, 7 ft.lbf) 

    2. Engage the 2 clamps.
    3. Connect the transmission wire connector.

      HINT: 

      Push up the lever until the claw of the transmission wire connector makes a connection sound.

    4. Connect the park/neutral position switch assembly connector.
  5. INSTALL FLOOR SHIFT GEAR SHIFTING ROD SUB-ASSEMBLY 
    1. Install the floor shift gear shifting rod sub-assembly to the transmission control shaft lever RH with the pin.
      GTY513117Courtesy of © TOYOTA, LICENSE AGREEMENT TMS1002
      *1 Pin
      *2 Clip
    2. Install a new clip.
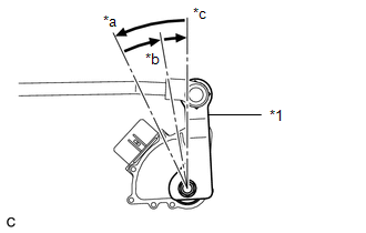
    3. Turn the transmission control shaft lever RH counterclockwise until it stops, then turn it clockwise 2 notches.
      GTY462123Courtesy of © TOYOTA, LICENSE AGREEMENT TMS1002
      *1 Transmission Control Shaft Lever RH
      *a P
      *b R
      *c N
  6. INSTALL REAR ENGINE MOUNTING INSULATOR ASSEMBLY 
    1. Install the rear engine mounting insulator assembly to the automatic transmission assembly with the 4 bolts.

      Torque: 40 N.m (408 kgf/cm, 30 ft.lbf) 

      HINT: 

      Make sure that the claw is facing the front of the vehicle.

      GTY463883Courtesy of © TOYOTA, LICENSE AGREEMENT TMS1002
      *a Claw
      Front of the vehicle
  7. INSTALL REAR ENGINE MOUNTING MEMBER 
    1. Install the rear engine mounting member to the rear engine mounting bracket with the 4 nuts.

      Torque: 13 N.m (133 kgf/cm, 10 ft.lbf) 

  8. INSTALL DRIVE PLATE AND TORQUE CONVERTER ASSEMBLY SETTING BOLT 
    1. Turn the crankshaft to gain access to the installation locations of the 6 drive plate and torque converter assembly setting bolts and install each bolt while holding the crankshaft pulley with SST.
      • SST: 09213-38010 
      • SST: 09330-00021 

      Torque: 48 N.m (489 kgf/cm, 35 ft.lbf) 

      NOTE:

      First install the black colored bolt, and then the remaining 5 silver colored bolts.

  9. INSTALL OIL COOLER TUBE 
    1. Install the oil cooler tube to the No. 2 flexible hose clamp and engine assembly with the 3 bolts.

      Torque: 13.5 N.m (138 kgf/cm, 10 ft.lbf) 

    2. Connect the 2 oil cooler hoses to the automatic transmission assembly and slide the 2 clips to secure them.
  10. INSTALL NO. 1 EXHAUST PIPE SUPPORT BRACKET SUB-ASSEMBLY 
    1. Install the No. 1 exhaust pipe support bracket sub-assembly with the 2 bolts.

      Torque: 43 N.m (438 kgf/cm, 32 ft.lbf) 

  11. INSTALL EXHAUST MANIFOLD TO HEAD GASKET (for Bank 1) 

    Refer to PROCEDURE - Step 7

  12. INSTALL EXHAUST MANIFOLD SUB-ASSEMBLY LH (TWC: Front Catalyst) 

    Refer to PROCEDURE - Step 8

  13. INSTALL NO. 2 EXHAUST MANIFOLD HEAT INSULATOR 

    Refer to PROCEDURE - Step 9

  14. INSTALL ENGINE MOUNTING DAMPER 

    Refer to PROCEDURE - Step 10

  15. INSTALL STARTER ASSEMBLY 

    Refer to INSTALLATION [09/2014 - ]

  16. RESET MEMORY 

    Refer to INITIALIZATION [09/2014 - ]