LEMON Manuals: Even more car manuals for everyone: 1960-2025
Home >> Lexus >> 2021 >> RC F Base >> Repair and Diagnosis >> Transmission >> Transmission Control Systems >> Automatic Transmission System - Service Information >> Automatic Transmission Unit >> Disassembly [09/2014 - ] >> Procedure
April 5, 2026: LEMON Manuals is launched! Read the announcement.

Disassembly [09/2014 - ]: Procedure

  1. SECURE AUTOMATIC TRANSMISSION ASSEMBLY 
    1. Install the automatic transmission assembly to an overhaul attachment.
      GTY463929Courtesy of © TOYOTA, LICENSE AGREEMENT TMS1002
  2. REMOVE WIRE HARNESS CLAMP BRACKET 
    1. Remove the 2 bolts and 2 wire harness clamp brackets from the automatic transmission case sub-assembly.
      GTY496606Courtesy of © TOYOTA, LICENSE AGREEMENT TMS1002
      *1 Wire Harness Clamp Bracket
  3. REMOVE TRANSMISSION CONTROL SHAFT LEVER RH 
    1. Remove the nut, spring washer and transmission control shaft lever RH from the manual valve lever shaft.
      GTY512407Courtesy of © TOYOTA, LICENSE AGREEMENT TMS1002
    2. Remove the manual valve lever shaft spacer from the transmission control shaft lever RH.
      GTY518186Courtesy of © TOYOTA, LICENSE AGREEMENT TMS1002
    3. Remove the grommet from the transmission control shaft lever RH.
      GTY500620Courtesy of © TOYOTA, LICENSE AGREEMENT TMS1002
  4. REMOVE PARK/NEUTRAL POSITION SWITCH ASSEMBLY 
    1. Using a screwdriver, bend back the tabs of the lock washer.
      GTY512406Courtesy of © TOYOTA, LICENSE AGREEMENT TMS1002
    2. Remove the nut and lock washer from the park/neutral position switch assembly.
    3. Remove the bolt and park/neutral position switch assembly from the automatic transmission case sub-assembly.

      HINT: 

      Make sure that the manual valve lever shaft has not been rotated prior to installing the park/neutral position switch assembly as the detent spring may become detached from the manual valve lever shaft.

  5. REMOVE OIL COOLER TUBE UNION 
    1. Remove the 2 oil cooler tube unions from the automatic transmission assembly.
      GTY502366Courtesy of © TOYOTA, LICENSE AGREEMENT TMS1002
      *a Hold
      *b Turn
    2. Remove 2 O-rings from the 2 oil cooler tube unions.
  6. REMOVE AUTOMATIC TRANSMISSION BREATHER TUBE 
    1. Remove the breather plug hose from the automatic transmission breather tube.
      GTY500619Courtesy of © TOYOTA, LICENSE AGREEMENT TMS1002
    2. Remove the bolt and automatic transmission breather tube from the automatic transmission case sub-assembly.
      GTY520821Courtesy of © TOYOTA, LICENSE AGREEMENT TMS1002
    3. Remove the O-ring from the automatic transmission breather tube.
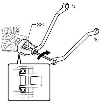
  7. REMOVE AUTOMATIC TRANSMISSION FLANGE YOKE ASSEMBLY 
    1. Using SST and a hammer, release the staked part of the lock nut.
      • SST: 09930-00010 
      GTY471074Courtesy of © TOYOTA, LICENSE AGREEMENT TMS1002
      NOTE:
      • Use SST with the tapered part facing the shaft.
      • Do not modify the tip of SST with a grinder or other device.
      • Completely release the staked part of the lock nut before removing it.
      • Do not damage the threads of the output shaft sub-assembly.
    2. Using SST and a 30 mm deep socket wrench, remove the lock nut from the automatic transmission flange yoke assembly.
      • SST: 09330-00021 
      • SST: 09950-30012 
        1. 09955-03040
      GTY499291Courtesy of © TOYOTA, LICENSE AGREEMENT TMS1002
      *a Hold
      *b Turn
    3. Remove SST.
    4. Tap the automatic transmission flange yoke assembly with a plastic hammer to remove it.
    5. Remove the 2 rear No. 1 output shaft bearing spacers and rear cover sleeve from the automatic transmission case sub-assembly.
    6. Using a screwdriver, remove the oil seal from the automatic transmission flange yoke assembly.
      GTY107322Courtesy of © TOYOTA, LICENSE AGREEMENT TMS1002
      NOTE:

      Do not damage the automatic transmission flange yoke assembly.

  8. REMOVE AUTOMATIC TRANSMISSION OIL PAN SUB-ASSEMBLY 
    NOTE:

    Do not turn the automatic transmission assembly upside down as this may cause the transmission valve body assembly to be contaminated with foreign matter in the bottom of the automatic transmission oil pan sub-assembly.

    1. Remove the overflow plug and gasket from the automatic transmission oil pan sub-assembly.
    2. Remove the drain plug and gasket from the automatic transmission oil pan sub-assembly.
    3. Remove the 9 bolts, automatic transmission oil pan sub-assembly and automatic transmission oil pan gasket from the automatic transmission case sub-assembly.
      GTY467217Courtesy of © TOYOTA, LICENSE AGREEMENT TMS1002
    4. Remove the 3 transmission oil cleaner magnets from the automatic transmission oil pan sub-assembly.
      GTY509243Courtesy of © TOYOTA, LICENSE AGREEMENT TMS1002
      *1 Transmission Oil Cleaner Magnet
    5. Examine the particles in the automatic transmission oil pan sub-assembly.
      GTY101912Courtesy of © TOYOTA, LICENSE AGREEMENT TMS1002
      1. Use the removed transmission oil cleaner magnets to collect any steel chips. Examine the chips and particles in the automatic transmission oil pan sub-assembly and on the transmission oil cleaner magnets to determine what type of wear might be found in the automatic transmission assembly.

        Result

        Steel (magnetic):

        Bearing, gear and clutch plate wear

        Brass (non-magnetic):

        Bushing wear

  9. REMOVE VALVE BODY OIL STRAINER ASSEMBLY 

    See step  6

  10. REMOVE TRANSMISSION VALVE BODY ASSEMBLY 

    See step  7

  11. REMOVE TRANSMISSION WIRE 
    1. Disconnect the transmission revolution sensor (NC3) connector.
      GTY505806Courtesy of © TOYOTA, LICENSE AGREEMENT TMS1002
      *a Transmission Revolution Sensor (NC3) Connector
      *b Transmission Revolution Sensor (NT) Connector
      *c Transmission Revolution Sensor (SP2) Connector
    2. Disconnect the transmission revolution sensor (NT) connector.
    3. Disconnect the transmission revolution sensor (SP2) connector.
    4. Remove the bolt and transmission wire from the automatic transmission case sub-assembly.
      GTY466949Courtesy of © TOYOTA, LICENSE AGREEMENT TMS1002
    5. Remove the 2 bolts and 2 valve body wire harness clamps from the automatic transmission case sub-assembly.
      GTY463939Courtesy of © TOYOTA, LICENSE AGREEMENT TMS1002
  12. REMOVE TRANSMISSION REVOLUTION SENSOR (NC3) 
    GTY503565Courtesy of © TOYOTA, LICENSE AGREEMENT TMS1002
    1. Remove the bolt and transmission revolution sensor (NC3) from the automatic transmission case sub-assembly.
  13. REMOVE TRANSMISSION REVOLUTION SENSOR (SP2) 
    GTY503564Courtesy of © TOYOTA, LICENSE AGREEMENT TMS1002
    1. Remove the bolt and transmission revolution sensor (SP2) from the automatic transmission case sub-assembly.
  14. REMOVE TRANSMISSION REVOLUTION SENSOR (NT) 
    1. Using a T30 "TORX" socket wrench, remove the bolt and transmission revolution sensor (NT) from the automatic transmission case sub-assembly.
      GTY518836Courtesy of © TOYOTA, LICENSE AGREEMENT TMS1002
  15. REMOVE AUTOMATIC TRANSMISSION CASE PLUG 
    1. Using a 17 mm hexagon socket wrench, remove the automatic transmission case plug and O-ring from the automatic transmission case sub-assembly.
      GTY466974Courtesy of © TOYOTA, LICENSE AGREEMENT TMS1002
  16. REMOVE PARKING LOCK PAWL BRACKET 
    1. Remove the 3 bolts and parking lock pawl bracket from the automatic transmission case sub-assembly.
      GTY100158Courtesy of © TOYOTA, LICENSE AGREEMENT TMS1002
  17. REMOVE PARKING LOCK ROD SUB-ASSEMBLY 
    1. Disconnect the parking lock rod sub-assembly from the manual valve lever sub-assembly.
      GTY507872Courtesy of © TOYOTA, LICENSE AGREEMENT TMS1002
      *1 Manual Valve Lever Sub-assembly
      *2 Parking Lock Rod Sub-assembly
  18. REMOVE PARKING LOCK PAWL SHAFT 
    GTY503207Courtesy of © TOYOTA, LICENSE AGREEMENT TMS1002
    *1 Parking Lock Pawl
    *2 Parking Lock Pawl Shaft
    *3 Spring
    *4 E-ring
    1. Remove the parking lock pawl shaft, parking lock pawl and spring from the automatic transmission case sub-assembly.
    2. Remove the E-ring from the parking lock pawl shaft.
  19. REMOVE MANUAL VALVE LEVER SUB-ASSEMBLY 
    1. Using a screwdriver and a hammer, cut off the spacer and remove it from the manual valve lever shaft.
      GTY511271Courtesy of © TOYOTA, LICENSE AGREEMENT TMS1002
      *a Protective Tape
      NOTE:

      Be careful not to damage the manual valve lever shaft.

      HINT: 

      Tape the screwdriver tip before use.

    2. Using a 3 mm pin punch and hammer, remove the spring pin from the manual valve lever shaft.
      GTY103736Courtesy of © TOYOTA, LICENSE AGREEMENT TMS1002

      HINT: 

      Slowly tap out the spring pin so that it does not fall into the automatic transmission case sub-assembly.

    3. Remove the manual valve lever shaft and manual valve lever sub-assembly from the automatic transmission case sub-assembly.
  20. REMOVE MANUAL VALVE LEVER SHAFT OIL SEAL 
    1. Using a screwdriver, remove the manual valve lever shaft oil seal from the automatic transmission case sub-assembly.
      GTY499289Courtesy of © TOYOTA, LICENSE AGREEMENT TMS1002
      *a Protective Tape
      NOTE:

      Be careful not to damage the automatic transmission case sub-assembly.

      HINT: 

      Tape the screwdriver tip before use.

  21. REMOVE OIL PUMP ASSEMBLY 
    GTY463934Courtesy of © TOYOTA, LICENSE AGREEMENT TMS1002
    1. Remove the 11 bolts from the automatic transmission case sub-assembly.
    2. Remove the oil pump assembly from the automatic transmission case sub-assembly.
      GTY508206Courtesy of © TOYOTA, LICENSE AGREEMENT TMS1002
      NOTE:

      Be careful not to damage the oil pump assembly.

    3. Remove the oil pump O-ring from the oil pump assembly.
      GTY470885Courtesy of © TOYOTA, LICENSE AGREEMENT TMS1002
      *1 Oil Pump Assembly
      *2 Oil Pump O-ring
  22. REMOVE OVERDRIVE AND REVERSE MULTIPLE DISC CLUTCH ASSEMBLY AND FRONT PLANETARY GEAR ASSEMBLY WITH NO. 1 BRAKE DISC SET 
    GTY462403Courtesy of © TOYOTA, LICENSE AGREEMENT TMS1002
    *1 Thrust Needle Roller Bearing
    *2 Thrust Bearing Race
    1. Remove the overdrive and reverse multiple disc clutch assembly and front planetary gear assembly with No. 1 brake disc set from the automatic transmission case sub-assembly.
    2. Remove the thrust needle roller bearing and thrust bearing race from the automatic transmission case sub-assembly.
  23. REMOVE NO. 1 BRAKE DISC 
    1. Remove the 5 No. 1 brake plates, 5 No. 1 brake discs and No. 1 brake flange from the overdrive and reverse multiple disc clutch assembly.
      GTY504029Courtesy of © TOYOTA, LICENSE AGREEMENT TMS1002
      *1 No. 1 Brake Plate
      *2 No. 1 Brake Disc
      *3 No. 1 Brake Flange
  24. INSPECT NO. 1 BRAKE DISC 

    See step  1

  25. REMOVE FRONT PLANETARY GEAR ASSEMBLY 
    1. Remove the front planetary gear assembly with the planetary sun gear from the overdrive and reverse multiple disc clutch assembly.
      GTY517816Courtesy of © TOYOTA, LICENSE AGREEMENT TMS1002
      *1 Front Planetary Gear Assembly
    2. Remove the planetary sun gear from the front planetary gear assembly.
      GTY461399Courtesy of © TOYOTA, LICENSE AGREEMENT TMS1002
      *1 Planetary Sun Gear
    3. Remove the 3 front planetary gear shaft snap rings from the front planetary gear assembly.
      GTY465737Courtesy of © TOYOTA, LICENSE AGREEMENT TMS1002
      *1 Front Planetary Gear Shaft Snap Ring
    4. Remove the planetary carrier thrust washer from the front planetary gear assembly.
      GTY462676Courtesy of © TOYOTA, LICENSE AGREEMENT TMS1002
      *1 Planetary Carrier Thrust Washer
    5. Remove the front planetary gear thrust needle roller bearing from the front planetary gear assembly.
      GTY459529Courtesy of © TOYOTA, LICENSE AGREEMENT TMS1002
      *1 Front Planetary Gear Thrust Needle Roller Bearing
    6. Remove the 2 front planetary gear shaft snap rings from the front planetary gear assembly.
      GTY457033Courtesy of © TOYOTA, LICENSE AGREEMENT TMS1002
      *1 Front Planetary Gear Shaft Snap Ring
  26. INSPECT FRONT PLANETARY GEAR ASSEMBLY 

    See step  2

  27. REMOVE NO. 3 CLUTCH DISC 
    1. Using a screwdriver, remove the snap ring from the overdrive direct clutch drum sub-assembly.
      GTY516513Courtesy of © TOYOTA, LICENSE AGREEMENT TMS1002
      *a Protective Tape
      NOTE:

      Be careful not to damage the overdrive direct clutch drum sub-assembly.

      HINT: 

      Tape the screwdriver tip before use.

    2. Remove the No. 3 clutch flange, 4 No. 3 clutch discs and 4 No. 3 clutch plates from the overdrive direct clutch drum sub-assembly.
      GTY458552Courtesy of © TOYOTA, LICENSE AGREEMENT TMS1002
      *1 No. 3 Clutch Flange
      *2 No. 3 Clutch Disc
      *3 No. 3 Clutch Plate
  28. INSPECT NO. 3 CLUTCH DISC 

    See step  4

  29. REMOVE REVERSE CLUTCH DISC 
    1. Using a screwdriver, remove the snap ring from the reverse clutch drum sub-assembly.
      GTY512262Courtesy of © TOYOTA, LICENSE AGREEMENT TMS1002
      *a Protective Tape
      NOTE:

      Be careful not to damage the reverse clutch drum sub-assembly.

      HINT: 

      Tape the screwdriver tip before use.

    2. Remove the reverse clutch flange, 5 reverse clutch discs and 5 reverse clutch plates from the reverse clutch drum sub-assembly.
      GTY468863Courtesy of © TOYOTA, LICENSE AGREEMENT TMS1002
      *1 Reverse Clutch Flange
      *2 Reverse Clutch Disc
      *3 Reverse Clutch Plate
  30. INSPECT REVERSE CLUTCH DISC 

    See step  6

  31. REMOVE REVERSE CLUTCH PISTON 
    GTY470534Courtesy of © TOYOTA, LICENSE AGREEMENT TMS1002
    1. Place SST on the reverse clutch balancer, and compress the reverse clutch return spring sub-assembly using a press.
      • SST: 09380-50010 
        1. 09381-05010
    2. Using SST, remove the snap ring from the reverse clutch drum sub-assembly.
      • SST: 09350-30020 
        1. 09350-07070
    3. Remove the reverse clutch balancer and reverse clutch return spring sub-assembly from the reverse clutch drum sub-assembly.
      GTY460704Courtesy of © TOYOTA, LICENSE AGREEMENT TMS1002
      *1 Reverse Clutch Balancer
      *2 Reverse Clutch Return Spring Sub-assembly
    4. While holding the overdrive direct clutch drum sub-assembly, apply compressed air to the oil hole to remove the reverse clutch piston from the reverse clutch drum sub-assembly.
      GTY464443Courtesy of © TOYOTA, LICENSE AGREEMENT TMS1002
      *1 Reverse Clutch Piston
      *a Oil Hole
    5. Remove the O-ring from the reverse clutch piston.
  32. INSPECT REVERSE CLUTCH RETURN SPRING SUB-ASSEMBLY 

    See step  7

  33. REMOVE REVERSE CLUTCH DRUM SUB-ASSEMBLY 
    GTY468793Courtesy of © TOYOTA, LICENSE AGREEMENT TMS1002
    *1 Snap Ring
    *2 Reverse Clutch Drum Sub-assembly
    1. Remove the reverse clutch drum sub-assembly from the overdrive direct clutch drum sub-assembly.

      HINT: 

      If the reverse clutch drum sub-assembly is difficult to remove, reinstall the snap ring for the reverse clutch discs.

    2. Remove the 3 O-rings from the reverse clutch drum sub-assembly.
  34. REMOVE OVERDRIVE DIRECT CLUTCH PISTON SUB-ASSEMBLY 
    GTY470868Courtesy of © TOYOTA, LICENSE AGREEMENT TMS1002
    1. Place SST on the No. 3 clutch balancer, and compress the overdrive clutch return spring sub-assembly using a press.
      • SST: 09380-50010 
        1. 09381-05010
    2. Using SST, remove the snap ring from the overdrive direct clutch drum sub-assembly.
      • SST: 09350-30020 
        1. 09350-07070
    3. Remove the No. 3 clutch balancer and overdrive clutch return spring sub-assembly from the overdrive direct clutch piston sub-assembly.
      GTY468087Courtesy of © TOYOTA, LICENSE AGREEMENT TMS1002
      *1 No. 3 Clutch Balancer
      *2 Overdrive Clutch Return Spring Sub-assembly
    4. Remove the O-ring from the No. 3 clutch balancer.
    5. While holding the overdrive direct clutch drum sub-assembly, apply compressed air to the oil hole to remove the overdrive direct clutch piston sub-assembly from the overdrive direct clutch drum sub-assembly.
      GTY456558Courtesy of © TOYOTA, LICENSE AGREEMENT TMS1002
      *1 Overdrive Direct Clutch Piston Sub-assembly
      *a Oil Hole
    6. Remove the O-ring from the overdrive direct clutch piston sub-assembly.
    7. Remove the O-ring from the overdrive direct clutch drum sub-assembly.
  35. INSPECT OVERDRIVE CLUTCH RETURN SPRING SUB-ASSEMBLY 

    See step  9

  36. INSPECT OVERDRIVE DIRECT CLUTCH DRUM SUB-ASSEMBLY 

    See step  10

  37. REMOVE FORWARD MULTIPLE DISC CLUTCH ASSEMBLY WITH FRONT PLANETARY RING GEAR 
    1. Remove the forward multiple disc clutch assembly with front planetary ring gear, thrust needle roller bearing and thrust bearing race from the automatic transmission case sub-assembly.
      GTY457607Courtesy of © TOYOTA, LICENSE AGREEMENT TMS1002
      *1 Front Planetary Ring Gear
      *2 Forward Multiple Disc Clutch Assembly
      *3 Thrust Needle Roller Bearing
      *4 Thrust Bearing Race
  38. REMOVE FRONT PLANETARY RING GEAR 
    1. Using needle-nose pliers, remove the front planetary ring gear and snap ring from the forward multiple disc clutch assembly.
      GTY467594Courtesy of © TOYOTA, LICENSE AGREEMENT TMS1002
      *1 Front Planetary Ring Gear
      *2 Snap Ring
      *3 Forward Multiple Disc Clutch Assembly
  39. REMOVE FORWARD MULTIPLE CLUTCH DISC 
    1. Using a screwdriver, remove the snap ring from the forward clutch drum sub-assembly.
      GTY506031Courtesy of © TOYOTA, LICENSE AGREEMENT TMS1002
      *a Protective Tape
      NOTE:

      Be careful not to damage the forward multiple disc clutch assembly.

      HINT: 

      Tape the screwdriver tip before use.

    2. Remove the forward clutch flange, 6 forward multiple clutch discs, 6 forward multiple clutch plates and clutch cushion plate from the forward clutch drum sub-assembly.
      GTY509986Courtesy of © TOYOTA, LICENSE AGREEMENT TMS1002
      *1 Forward Clutch Flange
      *2 Forward Multiple Clutch Disc
      *3 Forward Multiple Clutch Plate
      *4 Clutch Cushion Plate
  40. INSPECT FORWARD MULTIPLE CLUTCH DISC 

    See step  11

  41. REMOVE FORWARD CLUTCH PISTON 
    1. Place SST on the No. 1 clutch balancer, and compress the forward clutch return spring sub-assembly using a press.
      • SST: 09380-50010 
        1. 09381-05010
      GTY518603Courtesy of © TOYOTA, LICENSE AGREEMENT TMS1002
    2. Using SST, remove the snap ring from the forward clutch drum sub-assembly.
      • SST: 09350-30020 
        1. 09350-07070
    3. Remove the No. 1 clutch balancer and forward clutch return spring sub-assembly from the forward clutch drum sub-assembly.
      GTY456867Courtesy of © TOYOTA, LICENSE AGREEMENT TMS1002
      *1 No. 1 Clutch Balancer
      *2 Forward Clutch Return Spring Sub-assembly
    4. Remove the O-ring from the No. 1 clutch balancer.
    5. While holding the forward clutch drum sub-assembly, apply compressed air to the oil hole to remove the forward clutch piston from the forward clutch drum sub-assembly.
      GTY466113Courtesy of © TOYOTA, LICENSE AGREEMENT TMS1002
      *1 Forward Clutch Piston
      *a Oil Hole
    6. Remove the 2 O-rings from the forward clutch piston.
  42. INSPECT FORWARD CLUTCH RETURN SPRING SUB-ASSEMBLY 

    See step  12

  43. INSPECT FORWARD CLUTCH DRUM SUB-ASSEMBLY 

    See step  14

  44. REMOVE MULTIPLE DISC CLUTCH HUB 
    1. Remove the multiple disc clutch hub from the automatic transmission case sub-assembly.
      GTY459120Courtesy of © TOYOTA, LICENSE AGREEMENT TMS1002
      *1 Multiple Disc Clutch Hub
      *2 Thrust Bearing Race
      *3 Thrust Needle Roller Bearing
    2. Remove the thrust bearing race and thrust needle roller bearing from the automatic transmission case sub-assembly.
  45. REMOVE SUN GEAR INPUT DRUM SUB-ASSEMBLY 
    1. Remove the sun gear input drum sub-assembly, thrust needle roller bearing and thrust bearing race from the automatic transmission case sub-assembly.
      GTY461693Courtesy of © TOYOTA, LICENSE AGREEMENT TMS1002
      *1 Sun Gear Input Drum Sub-assembly
      *2 Thrust Needle Roller Bearing
      *3 Thrust Bearing Race
  46. INSPECT SUN GEAR INPUT DRUM SUB-ASSEMBLY 

    See step  15

  47. REMOVE REAR PLANETARY SUN GEAR SUB-ASSEMBLY 
    1. Remove the rear planetary sun gear assembly and thrust bearing race from the automatic transmission case sub-assembly.
      GTY521182Courtesy of © TOYOTA, LICENSE AGREEMENT TMS1002
      *1 Rear Planetary Sun Gear Assembly
      *2 Thrust Bearing Race
  48. INSPECT REAR PLANETARY SUN GEAR SUB-ASSEMBLY 

    See step  16

  49. REMOVE ONE-WAY CLUTCH OUTER RACE WITH NO. 1 ONE-WAY CLUTCH 
    GTY461498Courtesy of © TOYOTA, LICENSE AGREEMENT TMS1002
    1. Using SST, remove the snap ring from the automatic transmission case sub-assembly.
      • SST: 09350-30020 
        1. 09350-07060
    2. Remove the thrust needle roller bearing, rear planetary gear assembly, one-way clutch outer race with No. 1 one-way clutch and thrust bearing race from the automatic transmission case sub-assembly.
      GTY507050Courtesy of © TOYOTA, LICENSE AGREEMENT TMS1002
      *1 Thrust Needle Roller Bearing
      *2 One-way Clutch Outer Race with No. 1 One-way Clutch
      *3 Rear Planetary Gear Assembly
      *3 Thrust Bearing Race
    3. Remove the one-way clutch outer race with No. 1 one-way clutch from the rear planetary gear assembly.
      GTY519312Courtesy of © TOYOTA, LICENSE AGREEMENT TMS1002
      *1 One-way Clutch Outer Race with No. 1 One-way Clutch
      *2 Rear Planetary Gear Assembly
  50. INSPECT NO. 1 ONE-WAY CLUTCH 

    See step  18

  51. REMOVE NO. 1 ONE-WAY CLUTCH 
    1. Remove the 2 snap rings and No. 1 one-way clutch from the one-way clutch outer race.
      GTY470770Courtesy of © TOYOTA, LICENSE AGREEMENT TMS1002
      *1 Snap Ring
      *2 No. 1 One-way Clutch
      *3 One-way Clutch Outer Race
  52. INSPECT REAR PLANETARY GEAR ASSEMBLY 

    See step  17

  53. REMOVE NO. 2 BRAKE DISC 
    1. Remove the brake plate, 4 No. 2 brake discs, 3 No. 2 brake plates and No. 2 brake flange from the automatic transmission case sub-assembly.
      GTY461545Courtesy of © TOYOTA, LICENSE AGREEMENT TMS1002
      *1 Brake Plate
      *2 No. 2 Brake Disc
      *3 No. 2 Brake Plate
      *4 No. 2 Brake Flange
  54. INSPECT NO. 2 BRAKE DISC 

    See step  19

  55. REMOVE MULTIPLE DISC CLUTCH ASSEMBLY WITH REAR PLANETARY RING GEAR AND OUTPUT SHAFT SUB-ASSEMBLY 
    1. Remove the 2 thrust needle roller bearings, 2 thrust bearing races and multiple disc clutch assembly with rear planetary ring gear and output shaft sub-assembly from the automatic transmission case sub-assembly.
      GTY458987Courtesy of © TOYOTA, LICENSE AGREEMENT TMS1002
      *1 Thrust Needle Roller Bearing
      *2 Thrust Bearing Race
  56. REMOVE REAR PLANETARY RING GEAR 
    1. Using needle-nose pliers, remove the snap ring and rear planetary ring gear from the output shaft sub-assembly.
      GTY469897Courtesy of © TOYOTA, LICENSE AGREEMENT TMS1002
      *1 Rear Planetary Ring Gear
      *2 Snap Ring
  57. REMOVE MULTIPLE DISC CLUTCH ASSEMBLY 
    1. Remove the multiple disc clutch assembly from the output shaft sub-assembly.
      GTY466153Courtesy of © TOYOTA, LICENSE AGREEMENT TMS1002
      *1 Multiple Disc Clutch Assembly
      *2 Thrust Needle Roller Bearing
      *3 Thrust Bearing Race
      *4 Output Shaft Sub-assembly
    2. Remove the thrust needle roller bearing and thrust bearing race from the multiple disc clutch assembly.
    3. Remove the 3 oil seal rings from the output shaft sub-assembly.
      GTY457368Courtesy of © TOYOTA, LICENSE AGREEMENT TMS1002
      *1 Oil Seal Ring
    4. Remove the 2 oil seal rings from the multiple disc clutch assembly.
      GTY465853Courtesy of © TOYOTA, LICENSE AGREEMENT TMS1002
      *1 Oil Seal Ring
  58. REMOVE NO. 2 CLUTCH DISC 
    1. Using a screwdriver, remove the snap ring from the direct clutch drum sub-assembly.
      GTY511060Courtesy of © TOYOTA, LICENSE AGREEMENT TMS1002
      *a Protective Tape
      NOTE:

      Be careful not to damage the direct clutch drum sub-assembly.

      HINT: 

      Tape the screwdriver tip before use.

    2. Remove the No. 2 clutch flange, 6 No. 2 clutch discs and 6 No. 2 clutch plates from the direct clutch drum sub-assembly.
      GTY512850Courtesy of © TOYOTA, LICENSE AGREEMENT TMS1002
      *1 No. 2 Clutch Flange
      *2 No. 2 Clutch Disc
      *3 No. 2 Clutch Plate
  59. INSPECT NO. 2 CLUTCH DISC 

    See step  20

  60. REMOVE DIRECT CLUTCH PISTON 
    GTY466600Courtesy of © TOYOTA, LICENSE AGREEMENT TMS1002
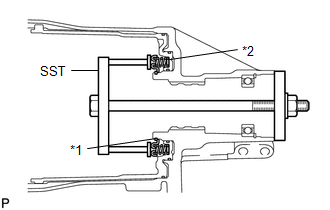
    1. Place SST on the No. 2 clutch balancer, and compress the direct clutch return spring sub-assembly using a press.
      • SST: 09387-00020 
    2. Using SST, remove the snap ring from the direct clutch drum sub-assembly.
      • SST: 09350-30020 
        1. 09350-07070
    3. Remove the No. 2 clutch balancer and direct clutch return spring sub-assembly from the direct clutch drum sub-assembly.
      GTY456691Courtesy of © TOYOTA, LICENSE AGREEMENT TMS1002
      *1 No. 2 Clutch Balancer
      *2 Direct Clutch Return Spring Sub-assembly
    4. Remove the O-ring from the No. 2 clutch balancer.
    5. While holding the direct clutch piston, apply compressed air to the oil hole of the direct clutch drum sub-assembly to remove the direct clutch piston from the direct clutch drum sub-assembly.
      GTY459661Courtesy of © TOYOTA, LICENSE AGREEMENT TMS1002
      *1 Direct Clutch Piston
      *a Oil Hole
    6. Remove the O-ring from the direct clutch piston.
    7. Remove the O-ring from the direct clutch drum sub-assembly.
  61. INSPECT DIRECT CLUTCH RETURN SPRING SUB-ASSEMBLY 

    See step  21

  62. REMOVE NO. 2 BRAKE PISTON 
    1. Set SST on the 2nd brake piston return spring sub-assembly and tighten SST to compress the 2nd brake piston return spring sub-assembly.
      GTY459476Courtesy of © TOYOTA, LICENSE AGREEMENT TMS1002
      *1 Snap Ring
      *2 2nd Brake Piston Return Spring Sub-assembly
      • SST: 09380-50010 
        1. 09381-05010
        2. 09381-05020
    2. Using SST, remove the snap ring and the 2nd brake piston return spring sub-assembly from the automatic transmission case sub-assembly.
    3. Apply compressed air to the oil hole of the automatic transmission case sub-assembly to remove the No. 2 brake piston from the automatic transmission case sub-assembly.
      GTY470458Courtesy of © TOYOTA, LICENSE AGREEMENT TMS1002
      *a Oil Hole
    4. Remove the 3 O-rings from the No. 2 brake piston.
  63. INSPECT 2ND BRAKE PISTON RETURN SPRING SUB-ASSEMBLY 

    See step  24

  64. REMOVE BRAKE PLATE STOPPER SPRING 
    1. Remove the 2 brake plate stopper springs from the automatic transmission case sub-assembly.
  65. REMOVE AUTOMATIC TRANSMISSION REAR OIL SEAL 
    1. Using SST, remove the automatic transmission rear oil seal from the automatic transmission case sub-assembly.
      GTY467093Courtesy of © TOYOTA, LICENSE AGREEMENT TMS1002
      *1 Automatic Transmission Rear Oil Seal
      • SST: 09308-00010 
  66. REMOVE OUTPUT SHAFT REAR RADIAL BALL BEARING 
    1. Using snap ring pliers, remove the snap ring from the automatic transmission case sub-assembly.
    2. Using SST, remove the output shaft rear radial ball bearing from the automatic transmission case sub-assembly.
      GTY500845Courtesy of © TOYOTA, LICENSE AGREEMENT TMS1002
      *a Turn
      *b Hold
      • SST: 09612-65014 
        1. 09612-01060