LEMON Manuals: Even more car manuals for everyone: 1960-2025
Home >> Lexus >> 2021 >> RX 350 Base, FWD >> Repair and Diagnosis >> External Pages >> Different variant/trim >> Section 9 (Transfer Case - Service Information) >> Transfer Assembly >> Disassembly [09/2015 - ] >> Procedure
April 5, 2026: LEMON Manuals is launched! Read the announcement.

Disassembly [09/2015 - ]: Procedure

WARNING: This page is about a different variant/trim than selected.
  1. REMOVE TRANSFER AND TRANSAXLE SETTING STUD BOLT 
    1. Remove the 4 transfer and transaxle setting stud bolts from the transfer case sub-assembly.
      GTY252970Courtesy of © TOYOTA, LICENSE AGREEMENT TMS1002
  2. REMOVE NO. 2 TRANSFER CASE PLUG 
    1. Remove the No. 2 transfer case plug from the transfer case sub-assembly.
      GTY428004Courtesy of © TOYOTA, LICENSE AGREEMENT TMS1002
    2. Remove the gasket from the No. 2 transfer case plug.
  3. REMOVE FILLER PLUG (NO. 1 TRANSFER CASE PLUG) 
    1. Remove the filler plug (No. 1 transfer case plug) from the transfer case sub-assembly.
      GTY428009Courtesy of © TOYOTA, LICENSE AGREEMENT TMS1002
    2. Remove the gasket from the filler plug (No. 1 transfer case plug).
  4. REMOVE TRANSFER DRAIN PLUG 
    1. Remove the transfer drain plug from the transfer case sub-assembly.
      GTY428008Courtesy of © TOYOTA, LICENSE AGREEMENT TMS1002
    2. Remove the gasket from the transfer drain plug.
  5. REMOVE TRANSFER CASE BREATHER PLUG 
    1. Using a chisel and hammer, lift the transfer case breather plug slightly.
      GTY138617Courtesy of © TOYOTA, LICENSE AGREEMENT TMS1002
    2. Using a screwdriver, remove the transfer case breather plug from the transfer case cover sub-assembly.
  6. REMOVE TRANSFER CASE COVER SUB-ASSEMBLY 
    1. Remove the 8 bolts from the transfer case cover sub-assembly.
      GTY679644Courtesy of © TOYOTA, LICENSE AGREEMENT TMS1002
    2. Using a brass bar and a hammer, remove the transfer case cover sub-assembly from the transfer case sub-assembly.
      GTY561130Courtesy of © TOYOTA, LICENSE AGREEMENT TMS1002
      *a Rib
      *b Brass Bar
      NOTE:

      Place the brass bar on the rib protruding from the transfer case cover sub-assembly.

  7. REMOVE BREATHER OIL DEFLECTOR 
    1. Remove the bolt and breather oil deflector from the transfer case cover sub-assembly.
      GTY242674Courtesy of © TOYOTA, LICENSE AGREEMENT TMS1002
  8. REMOVE TRANSFER CASE STRAIGHT PIN 
    1. Remove the 4 transfer case straight pins from the transfer case sub-assembly.
      GTY435597Courtesy of © TOYOTA, LICENSE AGREEMENT TMS1002
  9. SECURE TRANSFER ASSEMBLY 
    1. Attach the transfer assembly to the overhaul attachment.
  10. REMOVE TRANSFER EXTENSION HOUSING DUST DEFLECTOR 

    HINT: 

    Only perform this procedure when replacement of the transfer extension housing dust deflector or transfer extension housing sub-assembly is necessary.

    1. Using a plastic hammer, remove the transfer extension housing dust deflector from the transfer extension housing sub-assembly.
      GTY227909Courtesy of © TOYOTA, LICENSE AGREEMENT TMS1002
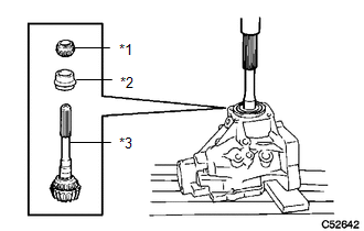
  11. REMOVE TRANSFER EXTENSION HOUSING TYPE T OIL SEAL 
    1. Using SST, remove the transfer extension housing type T oil seal from the transfer extension housing sub-assembly.
      GTY585494Courtesy of © TOYOTA, LICENSE AGREEMENT TMS1002
      *1 Transfer Extension Housing Type T Oil Seal
      • SST: 09308-00010 
      NOTE:

      Be careful not to damage the transfer extension housing type T oil seal contact surface or the inside surface of the transfer extension housing type T oil seal.

  12. REMOVE TRANSFER EXTENSION HOUSING SUB-ASSEMBLY 
    1. Remove the 4 bolts.
      GTY576641Courtesy of © TOYOTA, LICENSE AGREEMENT TMS1002
    2. Using a plastic hammer, remove the transfer extension housing sub-assembly from the transfer case sub-assembly.
      GTY576639Courtesy of © TOYOTA, LICENSE AGREEMENT TMS1002
  13. INSPECT PRELOAD 

    See step  1

  14. INSPECT RING GEAR BACKLASH 

    See step  2

  15. INSPECT TOOTH CONTACT BETWEEN RING GEAR AND DRIVEN PINION 

    See step  3

  16. REMOVE TRANSFER CASE OIL SEAL 
    1. Using SST, remove the transfer case oil seal from the transfer case sub-assembly.
      GTY573611Courtesy of © TOYOTA, LICENSE AGREEMENT TMS1002
      *1 Transfer Case Oil Seal
      • SST: 09308-00010 
      NOTE:
  17. REMOVE TRANSFER CASE OIL SEAL RH 
    1. Using SST, remove the transfer case oil seal RH from the transfer case sub-assembly.
      GTY549922Courtesy of © TOYOTA, LICENSE AGREEMENT TMS1002
      *1 Transfer Case Oil Seal RH
      • SST: 09308-00010 
      NOTE:

      Do not damage the transfer case oil seal RH contact surface to the transfer case sub-assembly.

  18. REMOVE BEARING CAP 
    1. Remove the 2 bolts and bearing cap from the transfer case sub-assembly.
      GTY442479Courtesy of © TOYOTA, LICENSE AGREEMENT TMS1002
  19. REMOVE NO. 1 TRANSFER OUTPUT SHAFT SPACER 
    1. Using SST, a screwdriver and a hammer, remove the No. 1 transfer output shaft spacer from the transfer case sub-assembly.
      GTY628731Courtesy of © TOYOTA, LICENSE AGREEMENT TMS1002
      *1 No. 1 Transfer Output Shaft Spacer
      *a Screwdriver
      *b Piece of Cloth
      • SST: 09504-22012 
      NOTE:

      Do not damage the transfer case sub-assembly.

  20. REMOVE NO. 2 TRANSFER RING GEAR MOUNTING CASE WASHER 
    1. Remove the No. 2 transfer ring gear mounting case washer from the transfer case sub-assembly.
  21. REMOVE TRANSFER RING GEAR MOUNTING CASE 
    1. Remove the transfer ring gear mounting case from the transfer case sub-assembly.
      GTY452960Courtesy of © TOYOTA, LICENSE AGREEMENT TMS1002
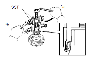
  22. REMOVE DRIVEN PINION 
    1. Using SST and a hammer, unstake the gear nut.
      GTY454598Courtesy of © TOYOTA, LICENSE AGREEMENT TMS1002
      • SST: 09930-00010 

      HINT: 

      • Use SST with the flat side facing outward.
      • Do not machine the tip of SST with a grinder, etc.
    2. Using SST, remove the gear nut.
      GTY662042Courtesy of © TOYOTA, LICENSE AGREEMENT TMS1002
      *a Turn
      *b Hold
      • SST: 09326-20011 
      • SST: 09556-16030 
    3. Using a press, press out the driven pinion, rear transfer driven pinion bearing (inner race) and transfer pinion bearing spacer.
      GTY438451Courtesy of © TOYOTA, LICENSE AGREEMENT TMS1002
      *1 Rear Transfer Driven Pinion Bearing (inner race)
      *2 Transfer Pinion Bearing Spacer
      *3 Driven Pinion
      NOTE:
      • Place a piece of cloth under the transfer case sub-assembly to prevent the driven pinion from dropping out of the rear transfer driven pinion bearing (inner race).
      • Use wooden blocks or similar objects under the transfer case sub-assembly to keep it level.
  23. REMOVE FRONT TRANSFER DRIVEN PINION BEARING 
    1. Using SST and a press, remove the front transfer driven pinion bearing (inner race) from the driven pinion.
      GTY447114Courtesy of © TOYOTA, LICENSE AGREEMENT TMS1002
      • SST: 09950-00020 
      NOTE:
      • Make sure to keep the outer race of the front transfer driven pinion bearing (inner race) from being applied force as shown the illustration.
      • Do not deform the cage of the front transfer driven pinion bearing (inner race) (when reusing the front transfer driven pinion bearing (inner race)).
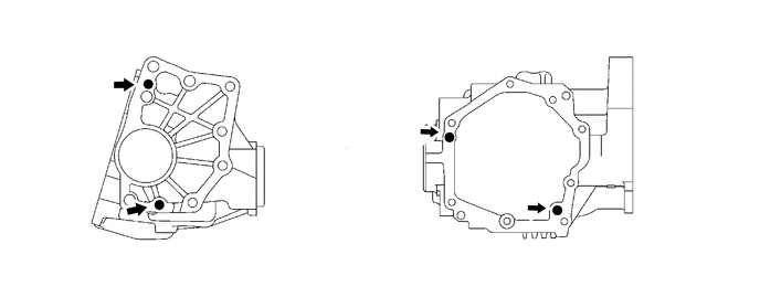
    2. Using a brass bar and a hammer, tap the 2 positions shown in the illustration on the front transfer driven pinion bearing (outer race) to remove it from the transfer case sub-assembly.
      GTY242641Courtesy of © TOYOTA, LICENSE AGREEMENT TMS1002
      NOTE:

      Fit the brass bar to the 2 cutouts of the transfer case sub-assembly.

  24. REMOVE TRANSFER OUTPUT SHAFT WASHER 
    1. Remove the transfer output shaft washer from the transfer case sub-assembly.
      NOTE:

      If the transfer output shaft washer is damaged or deformed, replace it with a new one.

  25. REMOVE RING GEAR MOUNTING CASE BEARING 
    1. for RH side:
      1. Remove the ring gear mounting case bearing (outer race) from the transfer ring gear mounting case.
      2. Using SST, remove the ring gear mounting case bearing (inner race) from the transfer ring gear mounting case.
        GTY438466Courtesy of © TOYOTA, LICENSE AGREEMENT TMS1002
        *a Turn
        *b Hold
        • SST: 09950-40011 
          1. 09951-04010
          2. 09952-04010
          3. 09953-04020
          4. 09954-04010
          5. 09955-04061
          6. 09957-04010
          7. 09958-04011
        • SST: 09950-60010 
          1. 09951-00440
        NOTE:
        • Use SST (09953-04020) after applying grease to its threads and tip.
        • Do not deform the cage of the ring gear mounting case bearing (inner race) (when reusing the ring gear mounting case bearing (inner race)).
        • Place identification marks on the left and right ring gear mounting case bearings to distinguish them (backside, teeth side). Then store them separately (when reusing the ring gear mounting case bearings).
    2. for LH side:
      1. Using SST, remove the ring gear mounting case bearing (inner race) from the transfer ring gear mounting case.
        GTY440886Courtesy of © TOYOTA, LICENSE AGREEMENT TMS1002
        *a Turn
        *b Hold
        • SST: 09950-40011 
          1. 09951-04010
          2. 09952-04010
          3. 09953-04020
          4. 09954-04010
          5. 09955-04061
          6. 09957-04010
          7. 09958-04011
        • SST: 09950-60010 
          1. 09951-00400
        NOTE:
        • Use SST (09953-04020) after applying grease to its threads and tip.
        • Do not deform the cage of the ring gear mounting case bearing (inner race) (when reusing the ring gear mounting case bearing (inner race)).
        • Place identification marks on the left and right ring gear mounting case bearings to distinguish them (backside, teeth side). Then store them separately (when reusing the ring gear mounting case bearings).
      2. Using a brass bar and a hammer, tap the 2 positions shown in the illustration on the ring gear mounting case bearing (outer race) to remove it from the transfer case sub-assembly.
        GTY242647Courtesy of © TOYOTA, LICENSE AGREEMENT TMS1002
        NOTE:

        Fit the brass bar to the 2 cutouts of the transfer case sub-assembly.

      3. Remove the ring gear mounting case plate washer from the transfer case sub-assembly.
        NOTE:

        If the ring gear mounting case plate washer is damaged or deformed, replace it with a new one.

  26. INSPECT RUNOUT OF RING GEAR 

    See step  4

  27. REMOVE RING GEAR 
    1. Secure the transfer ring gear mounting case in a vise using aluminum plates.
      NOTE:

      Be careful not to damage the transfer ring gear mounting case in the vise.

    2. Put matchmarks on the transfer ring gear mounting case and ring gear.
      GTY453603Courtesy of © TOYOTA, LICENSE AGREEMENT TMS1002
      *a Matchmark
    3. Remove the 12 bolts.
    4. Using a plastic hammer, remove the ring gear from the transfer ring gear mounting case.
      GTY299182Courtesy of © TOYOTA, LICENSE AGREEMENT TMS1002
      NOTE:

      Do not damage the ring gear teeth.

  28. INSPECT TRANSFER RING GEAR MOUNTING CASE 

    See step  5

  29. REMOVE REAR TRANSFER DRIVEN PINION BEARING (OUTER RACE) 
    1. Using a brass bar and a hammer, tap the 2 positions shown in the illustration on the rear transfer driven pinion bearing (outer race) to remove it from the transfer case sub-assembly.
      GTY233817Courtesy of © TOYOTA, LICENSE AGREEMENT TMS1002
      NOTE:

      Fit the brass bar to the 2 cutouts of the transfer case sub-assembly.